Плита Electrolux EKC 70751 X - инструкция пользователя по применению, эксплуатации и установке на русском языке. Мы надеемся, она поможет вам решить возникшие у вас вопросы при эксплуатации техники.
Если остались вопросы, задайте их в комментариях после инструкции.
"Загружаем инструкцию", означает, что нужно подождать пока файл загрузится и можно будет его читать онлайн. Некоторые инструкции очень большие и время их появления зависит от вашей скорости интернета.

на пол под плиту. Не забудьте поло‐
жить защитные прокладки под ниж‐
ние задние углы плиты, для того что‐
бы не повредить пол.
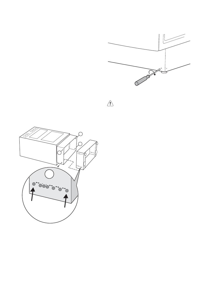
2. Отвинтите винты A (4 винта, см. ри‐
сунок). Немного вытяните внутрен‐
ний цоколь, только если хотите изме‐
нить его высоту. Потяните фиксато‐
ры, на которых закреплены колесики
и ножки. Будьте осторожны, под пли‐
той есть острые углы.
3. Завинтите винты A обратно в одно из
отверстий для выступа высотой
850-920 мм. Расстояние между от‐
верстиями может быть от 7 мм до 14
мм (см. рисунок A).
4. Поставьте плиту вертикально и под‐
ключите ее к сети. Установите плиту
на место и перед тем, как закрепить
защитные приспособления, убеди‐
тесь, что она стоит горизонтально.
A
A
A
A
A
14
920
850
7 7 14
14 14
Горизонтальное выравнивание
Плита должна стоять горизонтально, на‐
пример, для того, чтобы масло равно‐
мерно растекалось по сковороде. Чтобы
проверить горизонтальное выравнива‐
ние плиты, положите на стеклокерами‐
ческую панель уровень или сковороду с
водой. При необходимости регулировоч‐
ными колесиками и ножками можно от‐
регулировать плиту в пределах 15 мм.
Для регулировки задних колесиков мож‐
но воспользоваться отверткой, а для пе‐
редних ножек - разводным ключом.
Защита от опрокидывания
ВНИМАНИЕ! Необходимо
оборудовать плиту защитой от
опрокидывания, для того, чтобы
предотвратить опрокидывание
плиты в случае чрезмерных
нагрузок. Защита от опрокидывания
работает, только когда плита стоит
на своем месте.
Как установить защиту от опрокидыва‐
ния:
1. Перед установкой защиты от опроки‐
дывания убедитесь, что плита пра‐
вильно отрегулирована по высоте и
выровнена по горизонтали.
2. При поставке приспособление (B) ус‐
тановлено с левой стороны. Выме‐
ряйте, где должна находиться защи‐
та от опрокидывания (A), отступив 60
мм вниз от угла стеклокерамической
панели и 50 мм от стены (шкафчика).
Крепко привинтите его к прочному
материалу или прикрепите с по‐
мощью соответствующей арматуры.
Все приспособление для защиты от
опрокидывания (A+B) может быть
также размещено с правой стороны
(см. рис. 1).
Убедитесь, что поверхность за плитой
является ровной. Если за краем стекло‐
керамической панели есть кафель или
выступы, между стеной и защитой от
опрокидывания должен быть соответ‐
ствующий зазор. Это необходимо для то‐
го, чтобы защита от опрокидывания
плотно прилегала к плите и правильно
выполняла свою функцию. Убедитесь,
что защита от опрокидывания входит,
32 electrolux
Содержание
- 3 electrolux 3
- 4 Описание прибора; electrolux
- 5 electrolux 5
- 6 electrolux
- 7 Перед первым использованием; electrolux 7
- 8 electrolux
- 9 Эксплуатация стеклокерамической варочной панели; electrolux 9
- 12 Эксплуатация духового шкафа; Функции духового шкафа
- 14 4 electrolux
- 15 electrolux 15
- 16 6 electrolux
- 17 electrolux 17
- 18 8 electrolux
- 19 Советы, таблицы и рекомендации
- 20 Советы по выпечке
- 22 Таблица жарения
- 23 Уход и чистка
- 24 4 electrolux
- 25 electrolux 25
- 26 6 electrolux
- 27 electrolux 27
- 28 8 electrolux
- 29 electrolux 29
- 31 Технические характеристики
- 32 2 electrolux
- 33 Охрана окружающей среды; electrolux 33
- 34 4 electrolux












