Плита Electrolux EKC 511503 X - инструкция пользователя по применению, эксплуатации и установке на русском языке. Мы надеемся, она поможет вам решить возникшие у вас вопросы при эксплуатации техники.
Если остались вопросы, задайте их в комментариях после инструкции.
"Загружаем инструкцию", означает, что нужно подождать пока файл загрузится и можно будет его читать онлайн. Некоторые инструкции очень большие и время их появления зависит от вашей скорости интернета.

V prípade opätovného použitia časova‐
ča počkajte, kým neskončia všetky
funkcie a kým nebude úplne v nulovej
polohe.
Ak chcete pripravovať jedlo bez nasta‐
venia času, otočte otočný ovládač časo‐
mera do polohy .
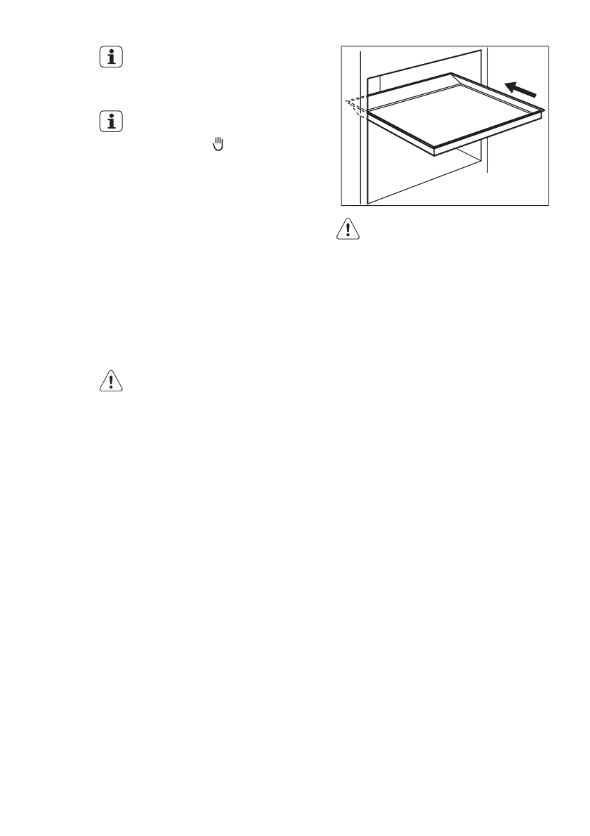
8.5 Vloženie plechu na pečenie
Plech položte do stredu dutiny rúry, medzi pred‐
nú a zadnú stenu. Tým sa zabezpečí cirkulácia
horúceho vzduchu pred a za plechom na peče‐
nie. Dbajte na to, aby bol plech v polohe ako na
obrázku, so zošikmenou stranou vzadu.
VAROVANIE
Plech na pečenie nezasúvajte úplne k
zadnej stene dutiny rúry. Tým by sa za‐
bránilo cirkulácii horúceho vzduchu oko‐
lo plechu. Jedlo môže prihorieť, najmä v
zadnej časti plechu.
9. RÚRA – UŽITOČNÉ RADY A TIPY
POZOR
Na pečenie veľmi šťavnatých zákuskov
použite hlboký plech na pečenie. Ovoc‐
né šťavy môžu spôsobiť trvalé škvrny
na smalte.
• Spotrebič má štyri úrovne zasunutia. Úrovne
zasunutia počítajte od dna vnútorného priesto‐
ru spotrebiča.
• V rúre môžete piecť súčasne viacero jedál na
dvoch úrovniach. Umiestnite rošty do úrovní 1
a 3.
• V spotrebiči alebo na skle dvierok môže kon‐
denzovať vlhkosť. Je to normálne. Pri otváraní
dvierok počas pečenia vždy ustúpte od spo‐
trebiča. Ak chcete znížiť kondenzáciu, rúru za‐
pnite 10 minút pred pečením.
• Po každom použití spotrebič utrite od vlhkosti.
• Neumiestňujte predmety priamo na dno rúry
ani nebaľte časti rúry alebo jej príslušenstvo
do alobalu. Inak sa môžu zmeniť výsledky va‐
renia a poškodiť smalt rúry.
9.1 Pečenie koláčov
• Pred pečením nechajte rúru predhriať na 10
minút.
• Dvierka rúry neotvárajte, kým neuplynuli 3/4
doby pečenia.
• Ak pri pečení používate súčasne dva plechy,
nechávajte medzi nimi jednu voľnú úroveň.
9.2 Pečenie mäsa a rýb
• Nepečte mäso s hmotnosťou nižšou ako 1 kg.
Pečenie príliš malého množstva mäsa má za
následok vysušenie mäsa.
• Pri pečení veľmi mastného mäsa použite nád‐
obu na odkvapkávanie tuku, aby ste predišli
vytvoreniu škvŕn v rúre, ktoré môžu byť trvalé.
• Pred krájaním mäsa ho nechajte odstáť pri‐
bližne 15 minút, aby z neho nevytiekla šťava.
• Aby ste predišli tvorbe veľkého množstva dy‐
mu pri pečení, do nádoby na odkvapkávanie
nalejte trochu vody. Aby ste predišli konden‐
zácii dymu, pridajte malé množstvo vody vždy,
keď sa odparí.
9.3 Doby pečenia
Doba pečenia závisí od druhu jedla, konzistencie
a množstva potravín.
Pri pečení si poznamenajte výsledky. Zistite naj‐
vhodnejšie nastavenia (nastavenie ohrevu, doby
pečenia a pod.) pre použité nádoby, recepty a
množstvá jedál pre tento spotrebič.
SLOVENSKY
53
Содержание
- 22 ПОДДЕРЖКА ПОТРЕБИТЕЛЕЙ И СЕРВИСНОЕ ОБСЛУЖИВАНИЕ
- 24 УКАЗАНИЯ ПО БЕЗОПАСНОСТИ
- 25 Подключение к электросети
- 27 Внутреннее освещение
- 28 Функциональные элементы варочной панели; ПЕРЕД ПЕРВЫМ ИСПОЛЬЗОВАНИЕМ; Предварительная чистка
- 29 ВАРОЧНАЯ ПАНЕЛЬ - ЕЖЕДНЕВНОЕ ИСПОЛЬЗОВАНИЕ; Индикатор остаточного тепла
- 31 ДУХОВОЙ ШКАФ - ЕЖЕДНЕВНОЕ ИСПОЛЬЗОВАНИЕ; Включение и выключение
- 37 Очистка дверцы духового
- 38 Снятие дверцы духового шкафа и стеклянной панели
- 43 ОХРАНА ОКРУЖАЮЩЕЙ СРЕДЫ












