Плита AEG B 89090-4 - инструкция пользователя по применению, эксплуатации и установке на русском языке. Мы надеемся, она поможет вам решить возникшие у вас вопросы при эксплуатации техники.
Если остались вопросы, задайте их в комментариях после инструкции.
"Загружаем инструкцию", означает, что нужно подождать пока файл загрузится и можно будет его читать онлайн. Некоторые инструкции очень большие и время их появления зависит от вашей скорости интернета.

1 2
œ p o „ p a Ï Ï Ë p o ‚ a Ì Ë e
‚ÍÎ
˛
˜eÌË
ˇ
Ë ‚
˚
ÍÎ
˛
˜eÌË
ˇ
‰yxo‚ÍË
1
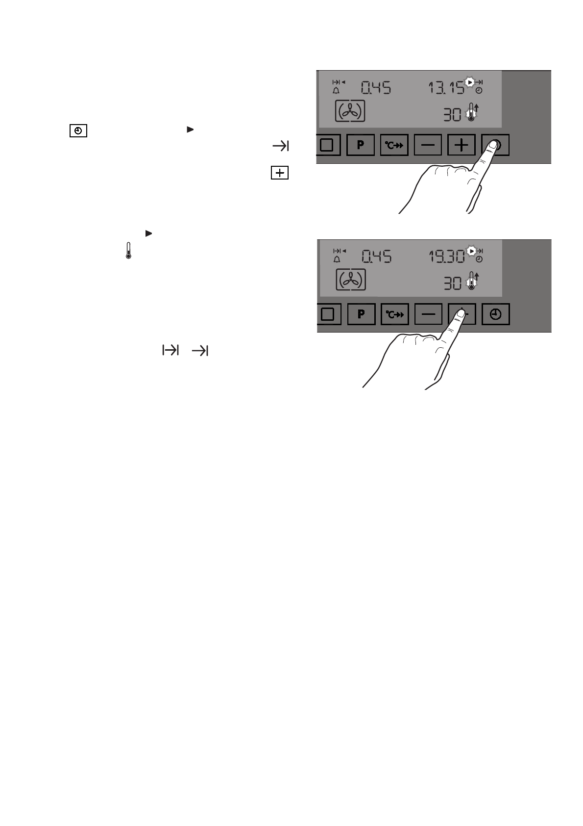
. «a‰aÈÚe ìƒÎËÚeθÌocÚ¸ ÔpË„oÚo‚ÎeÌË
ˇ
î, ÍaÍ
yÍaÁaÌo ‚ ÔÔ.
1
- 4 Ôpe‰
˚
‰y
˘
eÈ „Îa‚
˚
.
2. ƒ‚a paÁa ÍocÌËÚec¸ ÍÎa‚Ë¯Ë ì‘yÌ͈Ë
ˇ
‚peÏeÌËî
: ÔpË
˝
ÚoÏ cËÏ‚oÎ ÁaÏË„aeÚ p
ˇ
‰oÏ c
cËÏ‚oÎoÏ ìOÍo̘aÌËe ‚peÏeÌË ÔpË„oÚo‚ÎeÌË
ˇ
î
(PËc.
1
7).
3. B Úe˜eÌËe 5 ceÍỷ c ÔoÏo
˘
¸
˛
ÍÎa‚˯Ë
‚
˚
· e p Ë Ú e Ì y Ê Ì o e ‚ p e Ï
ˇ
o Í o Ì ˜ a Ì Ë
ˇ
ÔpË„oÚo‚ÎeÌË
ˇ
, ‚e΢ËÌa ÍoÚopo„o ‚
˚
c‚e˜Ë‚aeÚc
ˇ
‚ Ôpa‚oÈ ˜acÚË ‰ËcÔÎe
ˇ
(PËc.
1
8).
4. E
˘
e ˜epeÁ 5 ceÍỷ ÔocÎe Úo„o, ÍaÍ B
˚
ycÚaÌo‚ËÎË
‚peÏ
ˇ
, cËÏ‚oÎ ÔepecÚaÌeÚ ÏË„aÚ¸, cËÏ‚oÎ
ÚepÏoÏeÚpa
Ôo„acÌeÚ, ‰ËcÔÎeÈ ÚeÏÔepaÚyp
˚
ÔoÍaÊeÚ ì
30
î Ë ‰yxo‚Ía ‚
˚
ÍÎ
˛
˜ËÚc
ˇ
. ›Úo oÁÌa˜aeÚ,
˜ Ú o ‰ a Ì Ì a
ˇ
y c Ú a Ì o ‚ Í a Á a Ì e c e Ì a ‚ Ô a Ï
ˇ
Ú ¸
˝
ÎeÍÚpoÌÌo„o ÍoÌÚpoÎÎepa Ë Ìa˜aÎc
ˇ
o·paÚÌ
˚
È
oÚc˜eÚ ‚peÏeÌË.
5. ƒyxo‚Ía ‚ÍÎ
˛
˜ËÚc
ˇ
Ë ‚
˚
ÍÎ
˛
˜ËÚc
ˇ
a‚ÚoÏaÚ˘ecÍË
‚ cooÚ‚eÚcÚ‚ËË c Ba¯ËÏË ycÚaÌo‚ÍaÏË. œo
oÍo̘aÌËË ÔpË„oÚo‚ÎeÌË
ˇ
B
˚
ycÎ
˚
¯ËÚe Á‚yÍo‚oÈ
cË„ÌaÎ , a cËÏ‚oÎ
˚
Ë
cÚaÌyÚ ÏË„aÚ¸. B
Îe‚oÈ ˜acÚË ‰ËcÔÎe
ˇ
‚
˚
c‚eÚËÚc
ˇ
ì
0.00
î .
6. ƒÎ
ˇ
oÚÍÎ
˛
˜eÌË
ˇ
Á‚yÍo‚o„o cË„ÌaÎa ÍocÌËÚec¸
Î
˛
·oÈ ÍÌoÔÍË.
ƒ Î
ˇ
o Ú Ï e Ì
˚
Á a ‰ a Ì Ì o È Ô p o „ p a Ï Ï
˚
Ô p o c Ú o
oÚÏeÌËÚe ÙyÌ͈Ë
˛
ƒÎËÚeθÌocÚ¸ ÔpË„oÚo‚ÎeÌË
ˇ
‚ cooÚ‚eÚcÚ‚ËË c yÍaÁaÌË
ˇ
ÏË ‚ Íöe Ôpe‰
˚
‰y
˘
eÈ
„Îa‚
˚
.
PËc.
17
PËc.
18