Плита AEG B 89090-4 - инструкция пользователя по применению, эксплуатации и установке на русском языке. Мы надеемся, она поможет вам решить возникшие у вас вопросы при эксплуатации техники.
Если остались вопросы, задайте их в комментариях после инструкции.
"Загружаем инструкцию", означает, что нужно подождать пока файл загрузится и можно будет его читать онлайн. Некоторые инструкции очень большие и время их появления зависит от вашей скорости интернета.

1 1
œ p o „ p a Ï Ï Ë p o ‚ a Ì Ë e
‰ÎËÚeθÌocÚË ÔpË„oÚo‚ÎeÌË
ˇ
1
. BÍÎ
˛
˜ËÚe ‰yxo‚Íy, ÔoÏecÚËÚe ‚ Ìee Ôpo‰yÍÚ
˚
,
‚
˚
· e p Ë Ú e p e Ê Ë Ï Ô p Ë „ o Ú o ‚ Î e Ì Ë
ˇ
Ë , Ô p Ë
Ìeo·xo‰ËÏocÚË, oÚpe„yÎËpyÈÚe ÚeÏÔepaÚypy
ÔpË„oÚo‚ÎeÌË
ˇ
.
2.
ocÌËÚec¸ ÍÎa‚Ë¯Ë ì‘yÌ͈Ë
ˇ
‚peÏeÌËî
. œpË
˝
ÚoÏ cËÏ‚oÎ
ÁaÏË„aeÚ p
ˇ
‰oÏ c cËÏ‚oÎoÏ
ìƒÎËÚeθÌocÚ¸ ÔpË„oÚo‚ÎeÌË
ˇ
î
. B Îe‚oÈ ˜acÚË
‰ËcÔÎe
ˇ
‚
˚
c‚eÚËÚc
ˇ
ì
0.00
î, a ‚ Ôpa‚oÈ - ÚeÍy
˘
ee
‚peÏ
ˇ
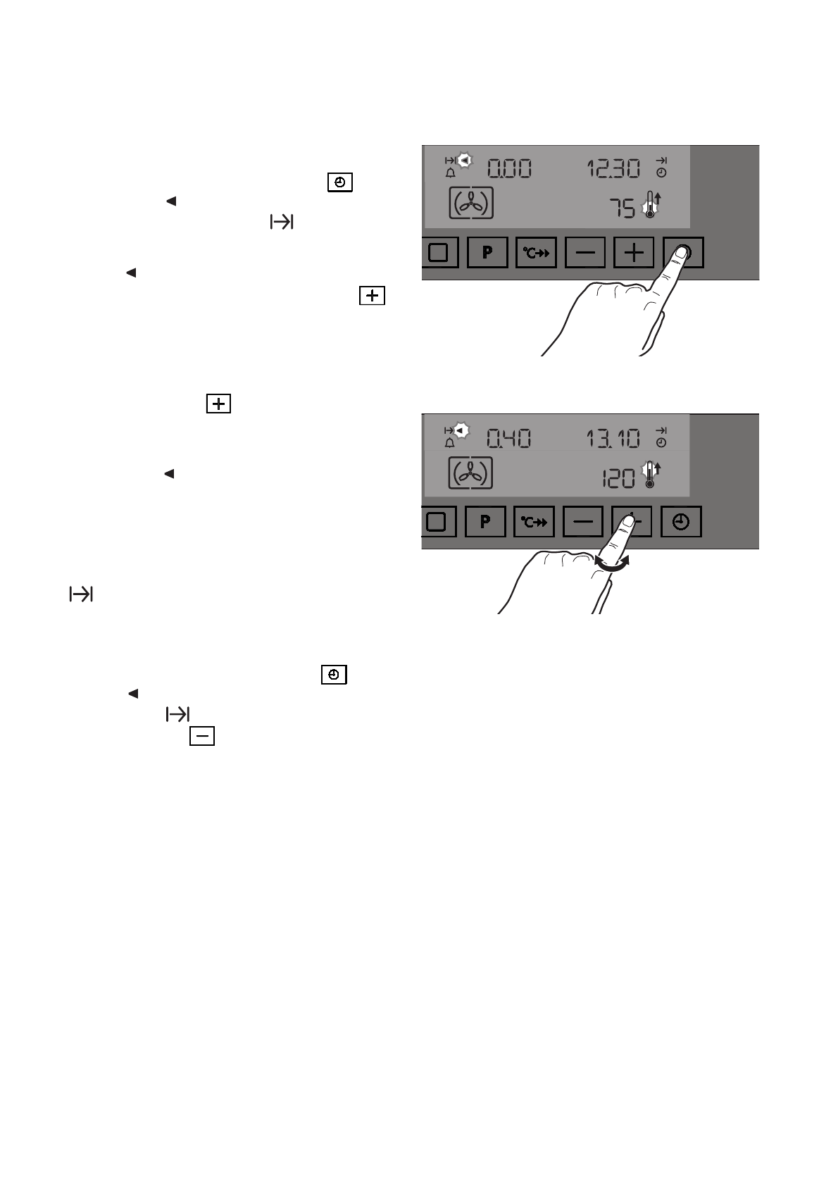
cyÚoÍ (PËc.
1
5).
3. CËÏ‚oÎ
·y‰eÚ ÏË„aÚ¸ ‚ Úe˜eÌËe 5 ceÍỷ. B
Úe˜eÌËe
˝
Úo„o ÔepËo‰a c ÔoÏo
˘
¸
˛
ÍÎa‚˯Ë
‚
˚
· e p Ë Ú e Ì y Ê Ì o e ‚ p e Ï
ˇ
‰ Î Ë Ú e Î ¸ Ì o c Ú Ë
ÔpË„oÚo‚ÎeÌË
ˇ
. MaÍcËÏaθÌa
ˇ
‚oÁÏoÊÌa
ˇ
‚e΢ËÌa
‚peÏeÌË ÔpË„oÚo‚ÎeÌË
ˇ
cocÚa‚Î
ˇ
eÚ 23 ˜aca 59 ÏËÌyÚ.
O·paÚËÚe ‚ÌËÏaÌËe Ìa Úo, ˜Úo Ë̉ËÍaˆË
ˇ
‚peÏeÌË
‚ Ôpa‚oÈ ˜acÚË ‰ËcÔÎe
ˇ
ÚaÍÊe ËÁÏeÌËÚc
ˇ
ÔpË
Í a c a Ì Ë Ë Í Î a ‚ Ë ¯ Ë
- Ú e Ô e p ¸ Ú a Ï · y ‰ e Ú
‚
˚
c‚e˜Ë‚aÚ¸c
ˇ
‚peÏ
ˇ
a‚ÚoÏaÚ˘ecÍo„o ‚
˚
ÍÎ
˛
˜eÌË
ˇ
‰yxo‚ÍË (PËc.
1
6).
4. E
˘
e ˜epeÁ 5 ceÍỷ ÔocÎe Úo„o, ÍaÍ B
˚
ycÚaÌo‚ËÎË
‚peÏ
ˇ
, cËÏ‚oÎ ÔepecÚaÌeÚ ÏË„aÚ¸. ›Úo oÁÌa˜aeÚ,
˜ Ú o ‰ a Ì Ì a
ˇ
y c Ú a Ì o ‚ Í a Á a Ì e c e Ì a ‚ Ô a Ï
ˇ
Ú ¸
˝
ÎeÍÚpoÌÌo„o ÍoÌÚpoÎÎepa ‰yxo‚ÍË Ë Ìa˜aÎc
ˇ
o·paÚÌ
˚
È oÚc˜eÚ ‚peÏeÌË.
5. œo ËcÚe˜eÌËË Áa‰aÌÌo„o ‚peÏeÌË ÔpË„oÚo‚ÎeÌË
ˇ
‰yxo‚Ía a‚ÚoÏaÚ˘ecÍË ‚
˚
ÍÎ
˛
˜ËÚc
ˇ
. B
˚
ycÎ
˚
¯ËÚe
Á‚yÍo‚oÈ cË„ÌaÎ, ÔpË
˝
ÚoÏ ·y‰eÚ ÏË„aÚ¸ cËÏ‚oÎ
, a ‰ËcÔÎeÈ ‚peÏeÌË ÔoÍaÊeÚ ì
0.00
î.
6. ƒÎ
ˇ
oÚÍÎ
˛
˜eÌË
ˇ
Á‚yÍo‚o„o cË„ÌaÎa ÍocÌËÚec¸
Î
˛
·oÈ ÍÎa‚˯Ë.
OÚÏeÌa ÙyÌ͈ËË ìƒÎËÚeθÌocÚ¸ ÔpË„oÚo‚ÎeÌË
ˇ
î:
ocÌËÚec¸ ÍÎa‚Ë¯Ë ì‘yÌ͈Ë
ˇ
‚peÏeÌËî
: ÔpË
˝
ÚoÏ cËÏ‚oÎ ÏË„aeÚ p
ˇ
‰oÏ c cËÏ‚oÎoÏ ìƒÎËÚeθÌocÚ¸
ÔpË„oÚo‚ÎeÌË
ˇ
î
. «aÚeÏ ÌaÊËÏaÈÚe (cÎe„Ía
ÔpËÍaca
ˇ
c¸) ÍÎa‚˯y
‰o Úex Ôop, ÔoÍa ‰ËcÔÎeÈ
‚peÏeÌË Ìe ÔoÍaÊeÚ ì
0.00
î.
œpoc¸·a ËÏeÚ¸ ‚ ‚ˉy, ˜Úo ecÎË B
˚
oÚÏeÌËÚe ÙyÌ͈Ë
˛
ì ƒ Î Ë Ú e Î ¸ Ì o c Ú ¸ Ô p Ë „ o Ú o ‚ Î e Ì Ë
ˇ
î , ‰ y x o ‚ Í a Ì e
‚
˚
ÍÎ
˛
˜ËÚc
ˇ
.
PËc.
15
PËc.
16