Пилы дисковые Makita DHS680Z - инструкция пользователя по применению, эксплуатации и установке на русском языке. Мы надеемся, она поможет вам решить возникшие у вас вопросы при эксплуатации техники.
Если остались вопросы, задайте их в комментариях после инструкции.
"Загружаем инструкцию", означает, что нужно подождать пока файл загрузится и можно будет его читать онлайн. Некоторые инструкции очень большие и время их появления зависит от вашей скорости интернета.

58
Ülekoormuse kaitse
Kui tööriista kasutatakse viisil, mis põhjustab
ebanormaalselt kõrget vooolutaset, siis seiskub tööriist
automaatselt, ilma igasuguste näitudeta. Sellisel juhul
lülitage tööriist välja ja katkestage töö, mis põhjustas
tööriista ülekoormuse. Seejärel lülitage tööriist sisse, et
see taaskäivitada.
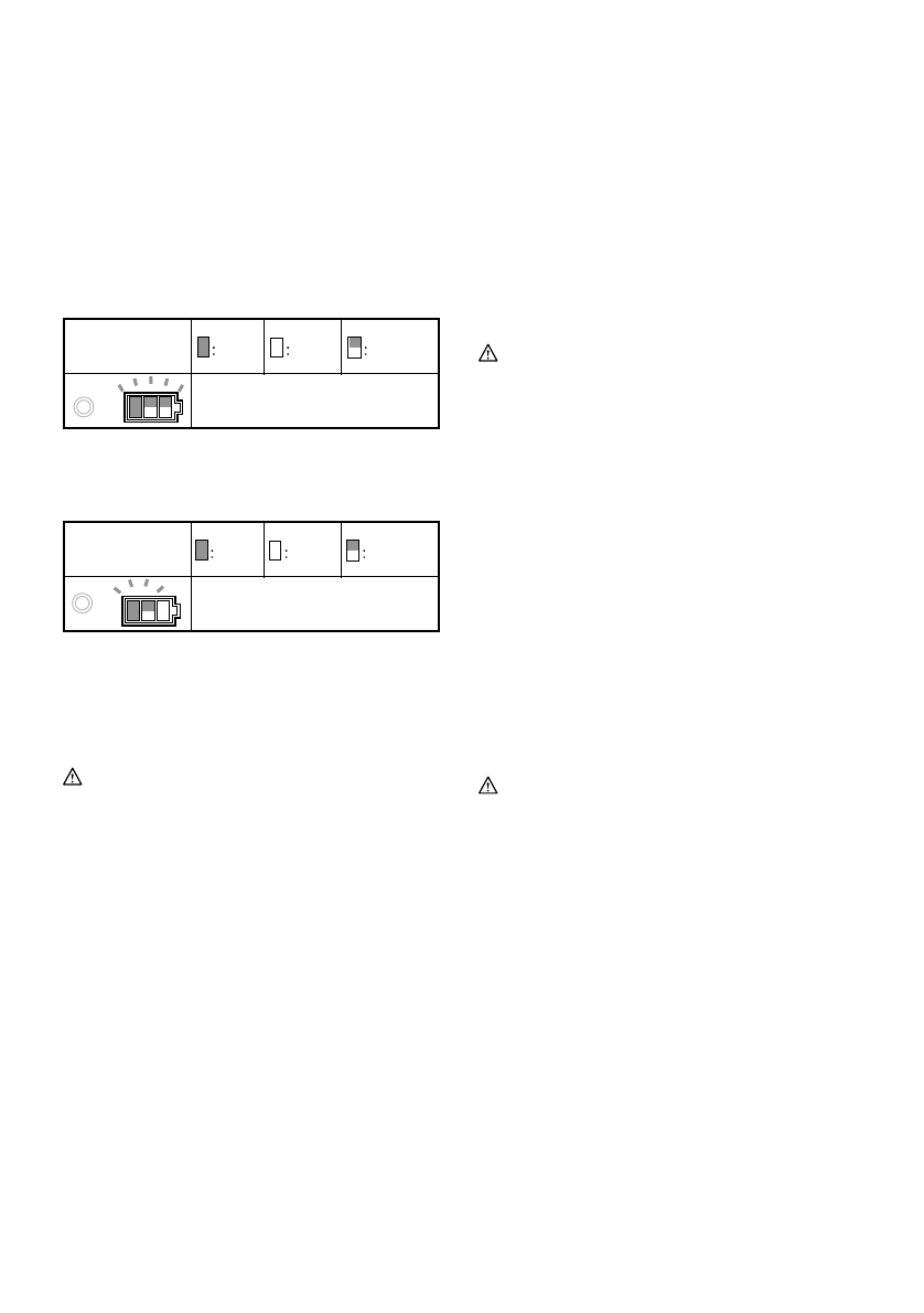
Tööriista ülekuumenemiskaitse
Kui tööriist on üle kuumenenud, siis seiskub see
automaatselt ja aku indikaator näitab järgmist olekut.
Sellises olukorras laske tööriistal maha jahtuda enne,
kui selle uuesti sisse lülitate.
Aku indikaator
Tööriist on ülekuumenenud
Sisse
lülitatud
Välja
lülitatud
Vilgub
015145
Kaitseluku vabastamine
Kui kaitsesüsteem toimib korduvalt, siis tööriist
lukustatakse ja aku indikaator näitab järgmist olekut.
Kaitselukk toimib
Aku indikaator
Sisse
lülitatud
Välja
lülitatud
Vilgub
015201
Sellises olukorras ei käivitu tööriist isegi siis, kui seda
välja ja sisse lülitatakse. Kaitseluku vabastamiseks
eemaldage aku, seadke see akulaadijasse ja oodake,
kuni laadimine lõpeb.
Lõikesügavuse reguleerimine
HOIATUS:
•
Pärast lõikesügavuse reguleerimist pingutage
hoob alati korralikult.
Joon.5
Lõdvendage tagumise käepideme küljel olevat hooba
ning nihutage alust üles või alla. Soovitud
lõikesügavuse juures kinnitage alus, pingutades hooba.
Puhtamate ja ohutumate lõigete tegemiseks seadke
lõikesügavus selliselt, et töödeldavas detailist allapoole
ei ulatu rohkem kui üks terahammas. Õige
lõikesügavuse kasutamine aitab vähendada
kehavigastusi põhjustada võivate ohtlike
TAGASILÖÖKIDE võimalust.
Kaldlõikamine
Joon.6
Lõdvendage eesmist hooba. Seadke soovitud nurk (0°–
50°) seda vastavalt kallutades. Seejärel kinnitage
eesmine hoob korralikult.
Joon.7
Täpselt 45° nurga lõikamisel kasutage 45° stopperit.
Kaldlõike (0°–45°) tegemiseks keerake stopper
vastupäeva lõpuni, 0°–50° kaldlõigete tegemiseks
pöörake seda päripäeva.
Sihtimine
Joon.8
Sirglõigete tegemiseks seadke 0° punkt aluse esiküljel
lõikejoonega kohakuti. 45° kaldlõigete tegemiseks
seadke sellega kohakuti 45° punkt. Ülemise juhiku
asend on reguleeritav.
Lambi süütamine
HOIATUS:
•
Ärge vaadake lambi sisse ega otse valgusallikat.
Joon.9
Ainult lambi sisselülitamiseks tõmmake lüliti päästikut
lahtilukustuse hooba vajutamata. Lambi
sisselülitamiseks ja tööriista käitamiseks vajutage
lahtilukustuse hooba ja tõmmake lüliti päästikut koos
lahtilukustuse hoova vajutamisega. Lamp põleb sel ajal,
kui tõmmatakse lüliti päästikut. Lamp kustub 10–15
sekundit pärast päästiku vabastamist.
MÄRKUS:
•
Kasutage lambiklaasilt mustuse ära pühkimiseks
kuiva riidelappi. Olge seda tehes ettevaatlik, et
lambiklaasi mitte kriimustada, sest vastasel korral
võib valgustus väheneda.
•
Ärge kasutage lambiklaasi puhastamiseks bensiini,
vedeldit vms. Sellised ained võivad lambiklaasi
kahjustada.
Konks
HOIATUS:
•
Eemaldage aku alati tööriistast, kui tööriista
konksuga üles riputate.
•
Ärge kunagi riputage tööriista kõrgesse kohta või
ebakindlale alusele.
Joon.10
Konksu abil saate tööriista ajutiselt sobivasse kohta
riputada. Konksu kasutamiseks lihtsalt pöörake seda,
kuni see plõksatades avatud asendisse kinnitub.
Kui konksu ei kasutata, siis pöörake seda alati, kuni see
plõksatades suletud asendisse kinnitub.
Характеристики
Остались вопросы?Не нашли свой ответ в руководстве или возникли другие проблемы? Задайте свой вопрос в форме ниже с подробным описанием вашей ситуации, чтобы другие люди и специалисты смогли дать на него ответ. Если вы знаете как решить проблему другого человека, пожалуйста, подскажите ему :)