Пароварки Polaris PFS 0302D - инструкция пользователя по применению, эксплуатации и установке на русском языке. Мы надеемся, она поможет вам решить возникшие у вас вопросы при эксплуатации техники.
Если остались вопросы, задайте их в комментариях после инструкции.
"Загружаем инструкцию", означает, что нужно подождать пока файл загрузится и можно будет его читать онлайн. Некоторые инструкции очень большие и время их появления зависит от вашей скорости интернета.

2
После использования никогда не обматывайте провод электропитания вокруг прибора, так
как со временем это может привести к излому провода. Всегда гладко расправляйте провод
на время хранения.
Замену шнура могут осуществлять только квалифицированные специалисты - сотрудники
сервисного центра. Неквалифицированный ремонт представляет прямую опасность для
пользователя.
Не производите ремонт прибора самостоятельно. Ремонт должен производиться только
квалифицированными специалистами сервисного центра.
Для ремонта прибора могут быть использованы только оригинальные запасные части.
II.
Специальные указания по безопасности данного прибора
При использовании прибора убедитесь в том, что вокруг него имеется достаточно
свободного места для того, чтобы предотвратить порчу мебели и других предметов паром.
При использовании прибора устанавливайте его на сухой ровной термостойкой
поверхности.
Во избежание ожогов не касайтесь работающего прибора голыми руками. Остерегайтесь
пара и горячей пищи, пользуйтесь кухонными рукавицами.
Никогда не включайте прибор без воды.
Не заполняйте пароварку водой выше отметки
max.
III.
Описание прибора
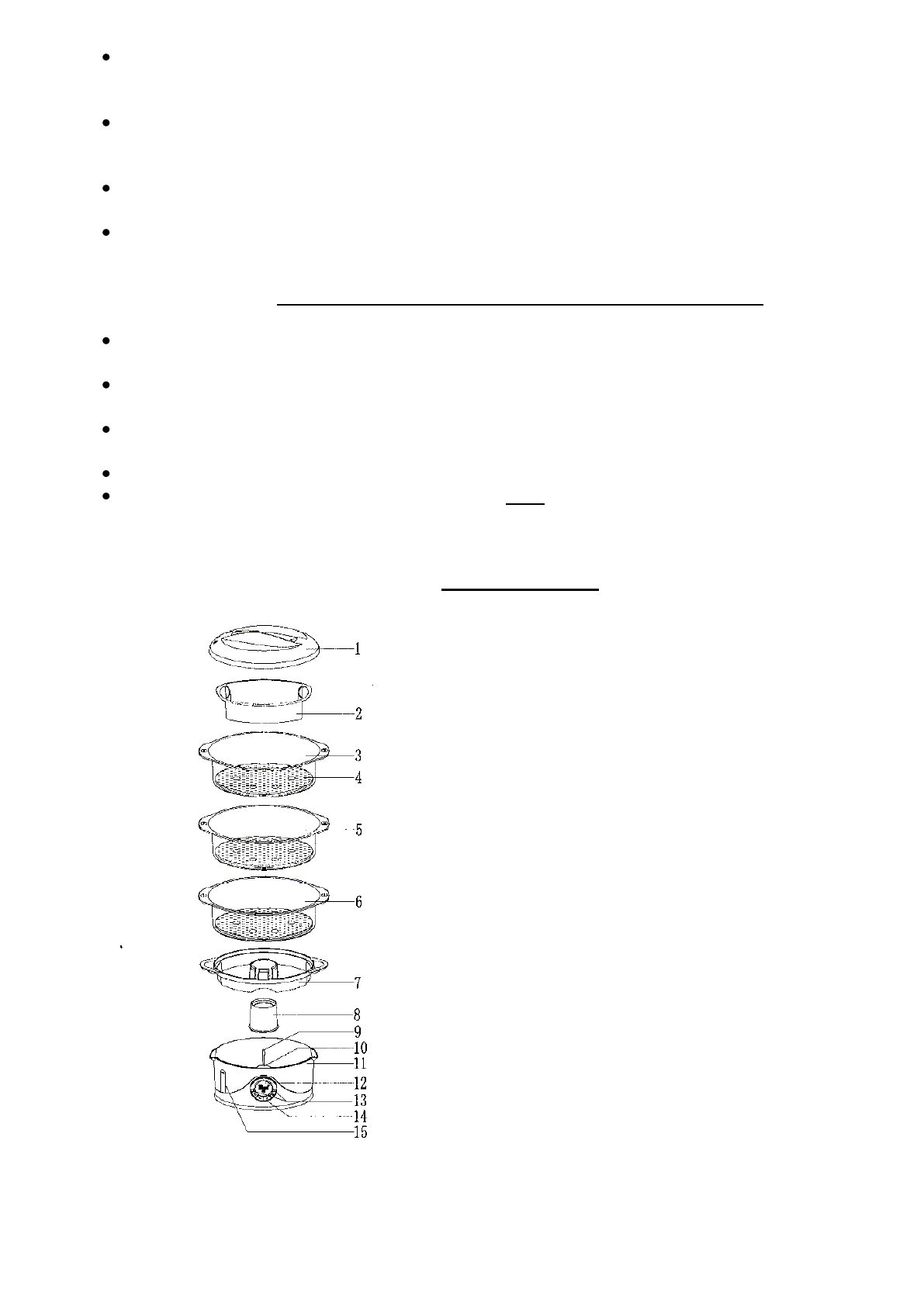
1.
Крышка
2.
Чаша для риса (вместимость 1 л)
3.
Паровая корзина №3
4.
Решетка с мелкой перфорацией для
максимального проникновения пара.
5.
Паровая корзина №2
6.
Паровая корзина №1
7.
Сокоприѐмник
8.
Паровой ускоритель
9.
Внутренний уровень максимума воды
10.
Нагревательный элемент
11.
Водный резервуар
12.
Дисплей
13.
Индикаторные лампочки
14.
Кнопка “PROG”
15.
Внешний уровень максимума воды (max)