Пароварки Miele DGC 7840 - инструкция пользователя по применению, эксплуатации и установке на русском языке. Мы надеемся, она поможет вам решить возникшие у вас вопросы при эксплуатации техники.
Если остались вопросы, задайте их в комментариях после инструкции.
"Загружаем инструкцию", означает, что нужно подождать пока файл загрузится и можно будет его читать онлайн. Некоторые инструкции очень большие и время их появления зависит от вашей скорости интернета.
Загружаем инструкцию

Монтаж
-
I
N
S
T
A
L
L
A
T
I
O
N
-
186
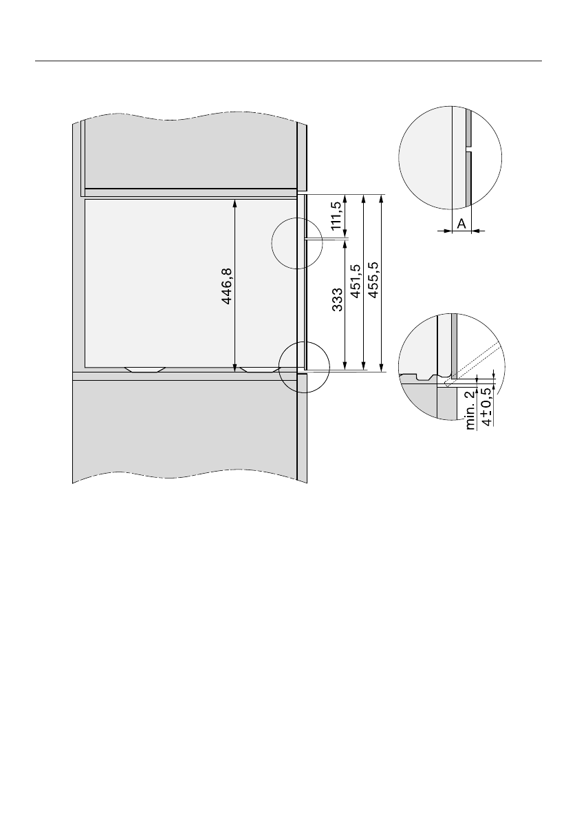
Вид сбоку
A
Стеклянный фронт: 22 мм
Металлический фронт: 23,3 мм
Содержание
- 2 Содержание
- 3 Ввод в эксплуатацию
- 4 Управление прибором
- 5 Специальные программы
- 7 Монтаж
- 8 Указания по безопасности и предупреждения
- 9 Надлежащее использование
- 10 Если у Вас есть дети
- 11 Техническая безопасность
- 13 Если пароварка встроена за мебельным фронтом (например,
- 14 Правильная эксплуатация; Опасность получения травм из-за горячего пара и горячих по-
- 17 Чистка и уход
- 18 Ваш вклад в охрану окружающей среды; Утилизация прибора
- 19 Обзор; Пароварка
- 21 Типовая табличка; Универсальный противень
- 22 Термощуп
- 23 Опасность получения травм
- 24 Элементы управления; Сенсорная кнопка
- 25 «утоплена» и; Датчик приближения
- 26 Сенсорные кнопки; Сенсорная
- 27 Сенсорный дисплей; Сенсорный дисплей состоит из нескольких областей.; центре дисплея; или
- 28 Символы; На экране дисплея могут появиться следующие символы:
- 29 Принцип управления; оранжевым цветом; Выбор пункта меню; ОК
- 30 OK; Ввод букв
- 31 Индикация поля Помощник; Активация MobileStart
- 32 Описание функций; Панель управления
- 33 Влажность; Режим; работают в; Время приготовления; Шумы
- 34 Фаза нагрева; фаза нагрева может увели-; Фаза приготовления; Подсветка рабочей камеры; Если нажать кнопку
- 35 Доступность соединения Wi-Fi
- 36 Основные установки; Установка языка; Установка даты
- 37 Установка жёсткости воды; Первая чистка пароварки
- 38 только
- 39 Нагрев пароварки
- 40 Установки; Обзор установок; Пункт меню
- 42 * Заводская настройка
- 43 Вызов меню «Установки»; Индикация
- 44 Отображение; Формат времени; Дата; Освещение
- 45 Дисплей; Яркость
- 46 Звуковые сигналы; Единицы измерения; Вес; Температура
- 47 Отвод пара; Функция; Рекомендуем. температуры; Выберите нужный режим работы.
- 48 Автоматическое промывание; Жёсткость воды
- 51 Безопасность; Блокировка включения
- 52 Распознавание меб. фронта
- 54 Индикация SuperVision
- 55 – Установленное обновление нельзя
- 56 Версия ПО; Правовая информация; Заводские настройки
- 58 Подтвердите с помощью; Предупреждающий сигнал удаляется.
- 60 Главное меню и подменю; Меню
- 62 Советы по экономии электроэнергии; Процессы приготовления
- 63 Настройки; – Выберите для элементов управле-; – Выберите для подсветки рабочей; Энергосберегающий режим
- 64 лодную питьевую воду
- 65 Чистка пароварки
- 69 служит для быстрого; – Пироги и выпечка с коротким вре-
- 72 Crisp function; Включение Crisp function
- 73 Запуск паровых ударов; Как только появляется; Изменение режима работы; с помощью
- 74 Важно знать; Посуда для приготовления; Контейнеры для приготовления
- 75 Уровень приготовления
- 76 Защита при вынимании
- 77 Приготовление на пару; . Этот режим подходит прежде; Настройка; Выберите время приготовления
- 81 Рыба
- 82 Рекомендации
- 84 – Для сохранения
- 86 Соотношение
- 87 Крупа
- 88 Макароны / изделия из теста; Сухие продукты; Свежие продукты
- 89 Клецки; Паровые кнедли из дрожжевого теста
- 90 Чечевицу; С замачиванием
- 91 Без замачивания
- 92 Мелкие
- 93 Фрукты; Колбасные изделия
- 94 Подготовка
- 95 Моллюски
- 97 Приготовление блюда меню
- 104 Повторный разогрев
- 105 Повторный разогрев в режиме Sous-vide
- 108 Размораживание; Опасность заражения из-за
- 114 Значение
- 115 ленные; свежие
- 125 Бланширование; Консервирование; Банки
- 126 – Рекомендуется использовать оста-
- 128 Консервирование пирогов
- 130 Подъём дрожжевого теста
- 131 После подтверждения пункта; Стерилизация посуды
- 132 Режим «Шаббат»
- 133 Подогрев посуды
- 134 Расплавление желатина; Размягчите
- 135 Расплавление мёда; Расплавление шоколада
- 136 При использовании йогуртно-
- 137 Растапливание шпика; Шпик не подрумянивается.; Тушение лука
- 138 Получение сока
- 139 Фруктовый джем
- 140 Снятие кожицы с продукта
- 141 Консервирование яблок
- 142 Категории; разделены по катего-; Появляется список установок.; Следуйте указаниям на дисплее.
- 143 Указания по использованию
- 144 Вы находитесь в главном меню.; Выберите; Выберите
- 145 MyMiele; Добавление записей; Удаление записей
- 146 Персональные программы
- 150 Выпекание; Указания по выпеканию
- 151 Рекомендации по выпеканию; – Используйте для выпекания в; Указания по режимам работы; Рецепты и обширные таблицы
- 153 Запекание; Указания по запеканию
- 154 Не используйте режим
- 155 Принцип действия
- 157 Использование термощупа
- 159 Гриль; пробы готовности
- 161 Тестовые блюда меню
- 163 Указания по чистке и уходу
- 165 Покрытие PerfectClean; PerfectClean
- 166 Рабочая камера; – конденсат с помощью губки или
- 167 Чистка дверного уплотнения
- 168 Принадлежности; – лёгкие загрязнения с помощью
- 171 Замачивание
- 173 Снятие дверцы; Полностью откройте дверцу.
- 174 Установка дверцы
- 181 Дополнительно приобретаемые принадлежности
- 182 Сервисная служба; – в сервисные центры Miele.
- 183 Указания по безопасности при встраивании прибора
- 189 Установка пароварки
- 190 Подключение к электросети
- 191 Параметры подключения
- 193 Гарантия качества товара
- 195 Контактная информация о Miele
- 196 Заявление о соответствии товара
- 197 Авторские права и лицензии; . Изложенные в условиях предоставления свободной лицензии поло-
- 199 Факс
Характеристики
Остались вопросы?Не нашли свой ответ в руководстве или возникли другие проблемы? Задайте свой вопрос в форме ниже с подробным описанием вашей ситуации, чтобы другие люди и специалисты смогли дать на него ответ. Если вы знаете как решить проблему другого человека, пожалуйста, подскажите ему :)
Часто задаваемые вопросы
Как посмотреть инструкцию к Miele DGC 7840?
Необходимо подождать полной загрузки инструкции в сером окне на данной странице
Руководство на русском языке?
Все наши руководства представлены на русском языке или схематично, поэтому вы без труда сможете разобраться с вашей моделью
Как скопировать текст из PDF?
Чтобы скопировать текст со страницы инструкции воспользуйтесь вкладкой "HTML"