Морозильные камеры Liebherr GNef4335 - инструкция пользователя по применению, эксплуатации и установке на русском языке. Мы надеемся, она поможет вам решить возникшие у вас вопросы при эксплуатации техники.
Если остались вопросы, задайте их в комментариях после инструкции.
"Загружаем инструкцию", означает, что нужно подождать пока файл загрузится и можно будет его читать онлайн. Некоторые инструкции очень большие и время их появления зависит от вашей скорости интернета.

4.5 Встановлення в кухонній ніші
Fig. 30
Для пристроїв шириною 600 мм *
A [мм] *
B [мм] *
C [см
2
] *
D [мм] *
E [мм] *
665
x
65
мін. 300
мін. 50
мін. 46
Для пристроїв шириною 700 мм *
A [мм] *
B [мм] *
C [см
2
] *
D [мм] *
E [мм] *
750
x
65
мін. 350
мін. 50
мін. 46
x
У пристроях, до комплекту поставки яких входять
пристінні розпірки, розміри пристрою збільшуються на
15 мм (див. 4.2 Встановлення пристрою) .
Набір для обмеження кута відкривання дверей на 90° у
пристроях з амортизацією закривання можна отримати
через сервісний центр.*
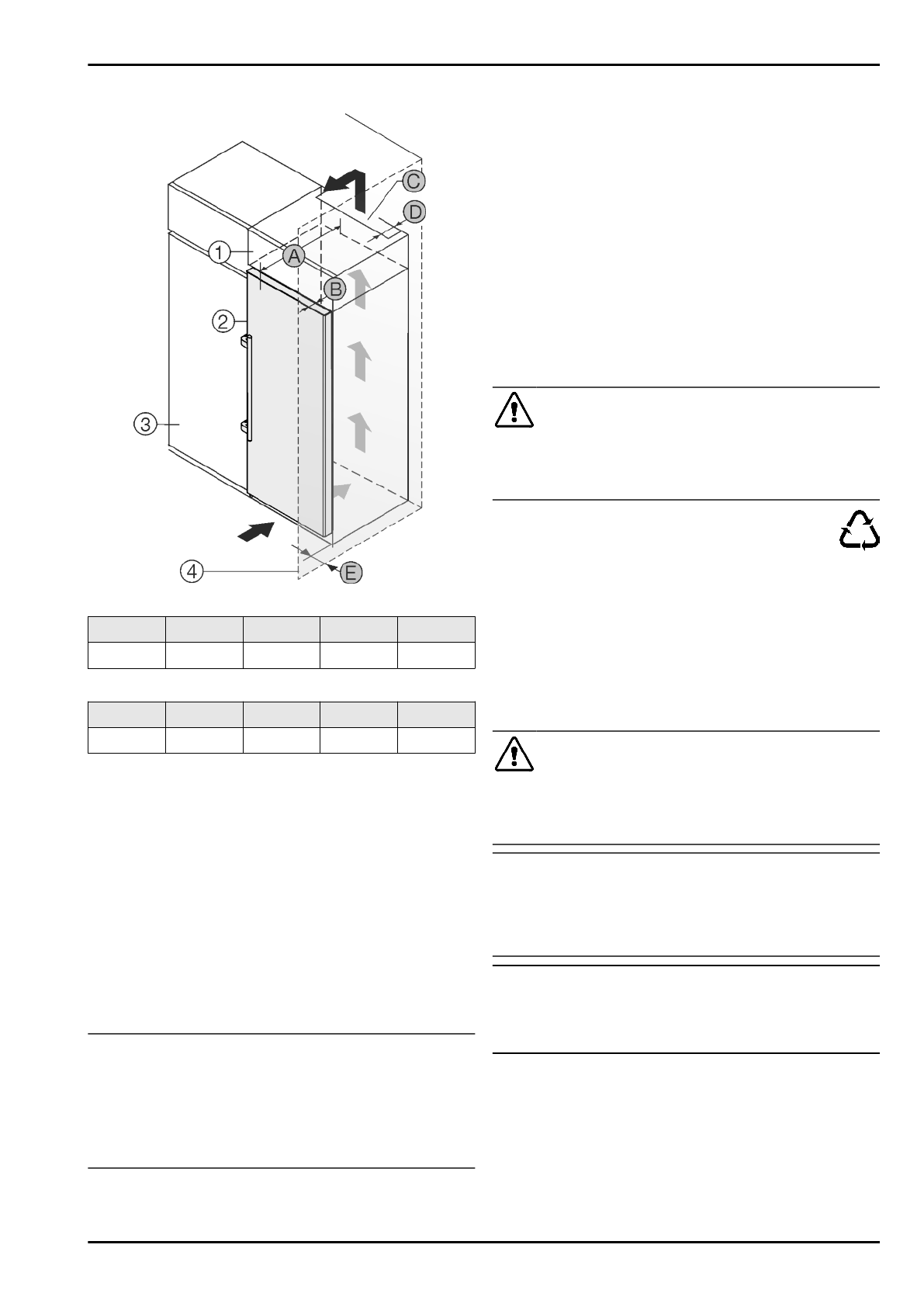
Пристрій можна комбінувати з кухонними шафами. Для
того, щоб пристрій
Fig. 30 (2) вирівняти по висоті кухонної
секції, на пристрій можна встановити антресольну секцію
Fig. 30 (1).
Пристрій можна встановлювати безпосередньо поряд з
кухонною шафою
Fig. 30 (3). Для повного відкриття дверей
пристрій повинен виступати на глибину
Fig. 30 (B) відносно
передньої панелі кухонної шафи. Залежно від глибини
кухонних шаф та використання пристінних розпірок
пристрій можна встановити так, щоб він виступав вперед.
УВАГА
Небезпека ушкоджень внаслідок перегрівання через недо-
статню вентиляцію!
За умов слабкої вентиляції може виникнути ушкодження
компресора.
u
Слідкуйте за тим, щоб зберігався достатній рівень
вентиляції.
u
Зверніть увагу на вимоги до вентиляції.
Вимоги до вентиляції:
-
Розпірні ребра на задній стороні пристрою слугують для
забезпечення достатньої вентиляції. В своїй кінцевій
позиції вони не повинні знаходитись у заглибленнях або
проймах.
-
Задня сторона антресольної шафи повинна мати венти-
ляційний канал глибиною
Fig. 30 (D) вздовж всіє ширини
шафи.
-
Під стелею приміщення слід дотримуватися поперечного
перерізу вентиляційного відведення повітря
Fig. 30 (C).
-
Чим більший розмір вентиляційного отвору, тим менше
електроенергії потрібно пристрою для роботи.
Якщо пристрій з шарнірами встановлюється поряд зі
стінкою
Fig. 30 (4), то між пристроєм та стінкою слід додер-
жуватися відстані
Fig. 30 (E). Це відповідає виступу ручки
при відкритих дверцятах.
4.6 Утилізація упаковки
ПОПЕРЕДЖЕННЯ
Небезпека задушення пакувальними матеріалами та
плівкою!
u
Не дозволяйте дітям гратися з пакувальними матеріа-
лами.
Упаковка виготовлена із матеріалів, які підлягають
повторному використанню.
-
Гофрований картон/картон
-
Деталі із спіненого полістиролу
-
Поліетиленова плівка та мішок.
-
Стрічки-стяжки з поліпропілену
-
збита цвяхами дерев’яна рама з вставкою з полі-
етилену*
u
Пакувальні матеріали слід здавати до офіційно визначе-
ного приймального пункту.
4.7 Підключення пристрою
ПОПЕРЕДЖЕННЯ
Невірне підключення!
Небезпека загорання.
u
Не використовувати подовжувальний кабель.
u
Не використовувати розподільний щит.
УВАГА
Невірне підключення!
Пошкодження електронної частини.
u
Не використовувати трансформатор переходу постій-
ного струму у змінний.
u
Не використовувати енергозберігаючий штекер.
Вказівка
Використовуйте виключно провід підключення до мережі,
що входить в комплект поставки.
u
Подовжений провід підключення до мережі можна замо-
вити в службі підтримки.
Початок екусплуатації
16
* залежно від моделі та оснащення
Характеристики
Остались вопросы?Не нашли свой ответ в руководстве или возникли другие проблемы? Задайте свой вопрос в форме ниже с подробным описанием вашей ситуации, чтобы другие люди и специалисты смогли дать на него ответ. Если вы знаете как решить проблему другого человека, пожалуйста, подскажите ему :)