Мониторы Xiaomi Mi Desktop Monitor 27″ RMMNT27NF (BHR4975EU) - инструкция пользователя по применению, эксплуатации и установке на русском языке. Мы надеемся, она поможет вам решить возникшие у вас вопросы при эксплуатации техники.
Если остались вопросы, задайте их в комментариях после инструкции.
"Загружаем инструкцию", означает, что нужно подождать пока файл загрузится и можно будет его читать онлайн. Некоторые инструкции очень большие и время их появления зависит от вашей скорости интернета.

94
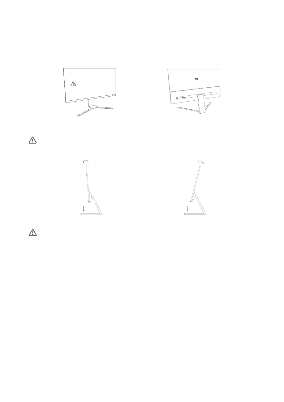
Não pressione o ecrã.
5. Utilize ambas as mãos para retirar cuidadosamente o monitor totalmente montado e coloque-o numa
superfície plana e estável.
Nota: Para evitar danos no ecrã, certifique-se de que não pressiona o ecrã LCD ao levantar o monitor.
Inclinação para a frente 5 °
Inclinação para trás 21 °
6. Incline o suporte do monitor para trás ou para a frente, conforme as suas necessidades.
Nota: Sempre que ajustar a inclinação, recomendamos que utilize uma mão para segurar a base e a outra
mão para ajustar o monitor. Caso contrário, o monitor poderá cair.
Характеристики
Остались вопросы?Не нашли свой ответ в руководстве или возникли другие проблемы? Задайте свой вопрос в форме ниже с подробным описанием вашей ситуации, чтобы другие люди и специалисты смогли дать на него ответ. Если вы знаете как решить проблему другого человека, пожалуйста, подскажите ему :)