Лодочные моторы Evinrude 200 225 250 300 л с HSL HVL HL HX PL PX PZ CX CZ 2011 - инструкция пользователя по применению, эксплуатации и установке на русском языке. Мы надеемся, она поможет вам решить возникшие у вас вопросы при эксплуатации техники.
Если остались вопросы, задайте их в комментариях после инструкции.
"Загружаем инструкцию", означает, что нужно подождать пока файл загрузится и можно будет его читать онлайн. Некоторые инструкции очень большие и время их появления зависит от вашей скорости интернета.

15
►
О
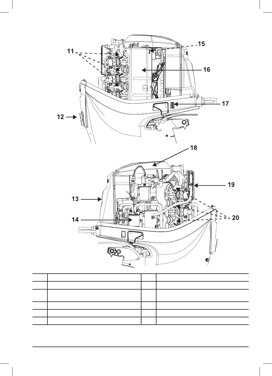
СНОВНЫЕ
ЭЛЕМЕНТЫ
Правый борт
Левый борт
Поз
.
Наименование
Поз
.
Наименование
11
Свечи
зажигания
16
Электронное
оборудование
/
монтажный
кожух
12
Контрольное
отверстие
системы
охлаждения
,
отверстие
для
промывки
системы
охлаждения
17
Переключатель
подъёма
мотора
13
Глушитель
шума
впуска
воздуха
18
Защитная
крышка
маховика
14
Топливный
фильтр
19
Блок
управления
двигателем
(
ЕММ
)
15
Предохранитель
20
Свечи
зажигания
Evinrude`11 200-225-250-300_rus.indd 15
Evinrude`11 200-225-250-300_rus.indd 15
09.06.2011 12:42:08
09.06.2011 12:42:08
Содержание
- 3 КОНСТРУКТИВНЫЕ
- 6 ОГЛАВЛЕНИЕ; ЭКСПЛУАТАЦИЯ; ТЕХНИЧЕСКОЕ
- 8 ОПАСНОСТЬ
- 9 ПРЕДОСТЕРЕЖЕНИЕ; ОБЩИЕ; ВАЖНЫЕ
- 12 ДЕКЛАРАЦИЯ
- 17 Правый борт
- 18 ТРЕБОВАНИЯ; СИСТЕМА
- 20 ПРИСАДКИ; ТОПЛИВНАЯ
- 21 Прок ачк а
- 22 МЕРЫ; ЗАПУСК
- 23 После; ВЫКЛЮЧЕНИЕ
- 24 А ва р и й н ы й
- 25 ICON
- 26 JOHNSON
- 29 OK
- 30 Транспортировочный
- 33 Замена
- 36 КОНТРОЛЬ
- 37 «CHECK ENGINE»
- 40 ИНФОРМАЦИЯ
- 41 РЕГЛАМЕНТ
- 42 ХРАНЕНИЕ; ТРАНСПОРТИРОВКА
- 46 Рабочие
- 48 ДИАГНОСТИКА
- 50 СНАРЯЖЕНИЕ; ВЫСОТА
- 51 ВИНТ; Выбор; Установк а
- 52 Ремонт; АККУМУЛЯТОРНАЯ; Техниче ские
- 53 Обслу живание; ЗАРЯДНОЕ
- 54 Кулачковый; РЕГУЛИРОВКИ
- 55 МОДЕЛИ
- 57 СВЕДЕНИЯ
- 59 BRP
- 60 ПРОВЕРКА
- 63 Предпродажная
- 65 Прежний адрес/предыдущий владелец
- 67 ПОДТВЕРЖДЕНИЕ
