Страница 3 - Содержание
Содержание Важная информация по техникебезопасности. . . . . . . . . . . . . . v Обслуживание и модернизация . . . . . . . . v Защита от статического электричества . . . . . viШнуры и адаптеры питания . . . . . . . . . . viУдлинители и родственные устройства . . . . vii Электрические вилки и розетки...
Страница 4 - ii
Замена блока питания . . . . . . . . . 60 Замена микропроцессора . . . . . . . . 64 Замена переднего блока аудиоразъема иUSB . . . . . . . . . . . . . . . . . 67 Замена блока вентилятора компьютера . . 69 Замена блоков WiFi . . . . . . . . . . 71 Установка или снятие задней антенныWiFi . . . . . . ....
Страница 5 - iii
Неполадки принтера . . . . . . . . . . 125 Неполадки последовательного порта . . . 125 Неполадки программ . . . . . . . . . . 126 Неполадки USB . . . . . . . . . . . . 127 Lenovo Solution Center . . . . . . . . . . . 127 Глава 11. Получение информации,консультаций и обслуживания . . 129 Источники ин...
Страница 7 - Важная информация по технике безопасности; , который прилагается к продукту. Соблюдение; Обслуживание и модернизация
Важная информация по технике безопасности ОСТОРОЖНО:Перед тем, как использовать сведения, приведенные в этом руководстве, обязательнопрочитайте всю информацию по технике безопасности при работе с этим продуктом. См.сведения в этом разделе и сведения по технике безопасности в документе Руководство по...
Страница 8 - Защита от статического электричества; Шнуры и адаптеры питания
Перед тем как открыть кожух компьютера, выключите компьютер и дайте ему остыть в течениенескольких минут. Защита от статического электричества Статический разряд вполне безобиден для вас, но может привести к серьезному повреждениюкомпонентов компьютера и дополнительных аппаратных средств. Неправильн...
Страница 9 - vii
Следите за тем, чтобы соединительные колодки шнуров питания надёжно и плотно входили впредназначенные для них гнёзда. Не пользуйтесь адаптерами питания со следами коррозии на штырьках вилки или признакамиперегрева (например, деформированная пластмасса) на вилке или на пластмассовом корпусе. Не польз...
Страница 10 - viii
Внешние устройства Не подсоединяйте и не отсоединяйте кабели внешних устройств (за исключением кабелей USB и1394), если компьютер включен: вы можете повредить компьютер. Если вы отсоединяете внешнееустройство, то выключите компьютер и подождите по крайней мере пять секунд; в ином случае выможете пов...
Страница 11 - ОПАСНО; Инструкция по работе с блоками питания; ix
Условия эксплуатации Оптимальные условия эксплуатации компьютера — температура от 10 до 35°C, относительнаявлажность — от 35 до 80%. Если компьютер хранится или транспортируется при температуре ниже10°C, то дайте ему медленно нагреться до оптимальной рабочей температуры от 10 до 35°C. Вэкстремальных...
Страница 12 - Очистка и обслуживание
Внутри данного устройства присутствует опасное напряжение, течет сильный ток и выделяетсязначительная энергия. Внутри этих узлов нет деталей, подлежащих обслуживанию. Если выполагаете, что с какой-то из этих деталей возникла проблема, обратитесь к специалисту. Очистка и обслуживание Держите компьюте...
Страница 13 - Глава 1. Обзор продукта; Компоненты
Глава 1. Обзор продукта В этой главе описаны компоненты компьютера, спецификации, программы Lenovo, расположениеразъемов и компонентов материнской платы и расположение встроенных дисководов. Компоненты В этом разделе представлен обзор компонентов компьютера. Приведенная ниже информацияотносится к не...
Страница 17 - Спецификации; Программы Lenovo
Спецификации В данном разделе представлены физические спецификации компьютера. Размеры Ширина: 99,7 мм Высота: 338 мм Глубина: 385 мм Вес Вес максимального комплекта поставки: 6,6 кг (без упаковки) Вес максимального комплекта поставки: 8,96 кг (с упаковкой) Параметры окружающей среды • Температура в...
Страница 18 - Обзор программ Lenovo
области значков, отображаемых серым цветом, чтобы найти значок нужной программы. Дваждыщелкните значок, чтобы установить программу. Для получения доступа к той или иной программе на компьютере выполните указанные нижедействия. • Для Windows 7 и Windows 10 – Из функции “Поиск Windows” 1. В зависимост...
Страница 21 - Расположение
– REACHit (или Lenovo Reach) Программа REACHit (или Lenovo Reach) повышает эффективность работы в облачной среде.Благодаря этой программе вы всегда можете оставаться на связи и получать доступ ко всеминтересующим вас объектам с персонального компьютера, смартфона или планшета. Выможете получать дост...
Страница 23 - Расположение разъемов на задней панели компьютера
Расположение разъемов на задней панели компьютера На Рис. 2 “Расположение разъемов на задней панели компьютера” на странице 11 показанорасположение разъемов на задней панели компьютера. Некоторые разъемы на задней панеликомпьютера имеют цветовую маркировку; это помогает определить место подключения ...
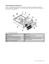
Страница 25 - Расположение компонентов
Расположение компонентов На Рис. 3 “Расположение компонентов” на странице 13 показано, как размещены компонентывашего компьютера. Информацию о том, как открыть кожух компьютера, смотрите в разделе “Какснять кожух” на странице 38. Рис. 3. Расположение компонентов 1 Блок радиатора и вентилятора 2 Блок...
Страница 26 - Как найти компоненты, установленные на материнской плате
Как найти компоненты, установленные на материнской плате На Рис. 4 “Размещение компонентов материнской платы” на странице 14 показано размещениекомпонентов на материнской плате. Рис. 4. Размещение компонентов материнской платы 1 4-Штырьковый разъем питания 2 Разъем вентилятора микропроцессора 3 Гнез...
Страница 27 - Расположение встроенных дисководов
Расположение встроенных дисководов Внутренние дисководы - это устройства, которые компьютер использует для хранения и считыванияданных. Установив в компьютер дополнительные дисководы, можно увеличить объем памяти дляхранения данных и обеспечить возможность чтения данных с других типов носителей. Вну...
Страница 28 - Этикетка с типом и моделью компьютера
Этикетка с типом и моделью компьютера К компьютеру прикреплена этикетка, на которой указаны его тип и модель. При обращении в службуподдержки Lenovo информация о типе и модели компьютера помогает техническим специалистамопределить компьютер и быстрее предоставить услуги поддержки. Этикетка с типом и...
Страница 29 - Глава 2. Работа на компьютере; Часто задаваемые вопросы
Глава 2. Работа на компьютере В этой главе содержится информация об использовании некоторых компонентов компьютера. Часто задаваемые вопросы Ниже приведены некоторые советы, которые помогут вам оптимизировать использование вашегокомпьютера. Можно ли прочесть руководство пользователя на другом языке?...
Страница 30 - Навигация в ОС Windows 8; Пуск
Навигация по экранам в операционных системах Windows 8 иWindows 8.1 В этом разделе представлены инструкции по навигации по рабочему столу, начальному экрану иприложениям, которые были открыты на начальном экране в операционных системах Windows 8 иWindows 8.1. Подробные инструкции см. в разделе “Нави...
Страница 31 - Навигация в ОС Windows 8.1
2. Щелкните изображение. – Использование сенсорного экрана: • Метод 1 1. Проведите к левому краю экрана или от него. Вдоль левого края экрана появится изображение всех доступных рабочих пространств. 2. Выберите нужное рабочее пространство. • Метод 2 1. Для перехода к следующему доступному рабочему п...
Страница 32 - Доступ к панели управления в ОС Windows 8 или Windows 8.1
• Проведите к левому краю экрана или от него. Вдоль левого края экрана появится изображение всех доступных рабочих пространств. Коснитесь значка управления экраномWindows в нижней части. • Проведите от правого края экрана для отображения чудо-кнопок, затем выберите Пуск . • С любого рабочего простра...
Страница 33 - Как использовать быстрые клавиши Windows
• На рабочем столе 1. Переместите курсор в верхний правый или нижний правый угол экрана, чтобы отобразить чудо-кнопки. 2. Щелкните Настройки . 3. Щелкните Панель управления . • На начальном экране – Для Windows 8: 1. Переместите курсор в верхний правый или нижний правый угол экрана, чтобы отобразить...
Страница 34 - Использование мыши с колесиком; Настройка громкости компьютера
Использование мыши с колесиком У мыши с колесиком есть следующие элементы управления: 1 Основная кнопка мыши При помощи этой кнопки выбирается и запускается программа или пункт меню. 2 Колесико Это колесико управляет прокруткой. Направление прокрутки определяетсянаправлением вращения колесика. 3 Вто...
Страница 35 - Использование дисков CD и DVD
Примечание: Дополнительную информацию по открытию панели управления в операционной системе Windows 8 и Windows 8.1 см. в разделе “Доступ к панели управленияв ОС Windows 8 или Windows 8.1” на странице 20. • Для Windows 10: нажмите кнопку “Пуск”, чтобы открыть меню “Пуск”. Затем щелкните Настройка ➙ С...
Страница 37 - Глава 3. Вы и ваш компьютер; Специальные возможности и удобство работы
Глава 3. Вы и ваш компьютер В этой главе рассказано о специальных возможностях, приведены советы по комфортной работе изамечания о перемещении компьютера в другие страны или регионы. Специальные возможности и удобство работы Чтобы получить максимальную отдачу от персонального компьютера и избежать д...
Страница 38 - Информация о специальных возможностях; Сочетания клавиш
Освещение и блики Разместите монитор так, чтобы свести к минимуму блики и отражения от верхнего освещения, окони прочих источников света. Отраженный от блестящих поверхностей свет может явится причинойраздражающих бликов на экране монитора. По возможности размещайте монитор под прямымуглом к окнам и...
Страница 43 - Средства защиты; Security
Глава 4. Защита В этой главе рассказано, как защитить компьютер от кражи или несанкционированногоиспользования. Средства защиты На вашем компьютере доступны следующие функции защиты: • Программное обеспечение Computrace Agent, встроенное в микропрограмму Программное обеспечение Computrace Agent – эт...
Страница 44 - Как запереть кожух компьютера
Дополнительную информацию см. в разделе “Как выбрать или изменить последовательностьзагрузочных устройств” на странице 98. • Запуск без клавиатуры или мыши Ваш компьютер может выполнять вход в операционную систему без подключенных клавиатуры имыши. • Модуль Trusted Platform Module (TPM) (в некоторых...
Страница 45 - Прикрепление замка Kensington для троса; Предотвращение несанкционированного доступа к компьютеру
Прикрепление замка Kensington для троса Замок Kensington для троса можно использовать для временного крепления компьютера кстолешнице, столу или к другому предмету. Замок для троса вставляется в специальный разъем назадней панели компьютера и открывается с помощью ключа или кода, в зависимости от вы...
Страница 46 - Использование аутентификации по отпечаткам пальцев; Настройка; Что такое брандмауэры и как их использовать
– Для Windows 10: нажмите кнопку “Пуск”, чтобы открыть меню “Пуск”, и щелкните Настройка ➙ Учетные записи . 2. Следуйте инструкциям на экране. Использование аутентификации по отпечаткам пальцев Если клавиатура оснащена устройством распознавания отпечатков пальцев, можно использоватьаутентификацию по...
Страница 49 - Глава 5. Установка или замена аппаратных компонентов; Установка или замена аппаратных компонентов; Как подключить внешние опции
Глава 5. Установка или замена аппаратных компонентов В этой главе содержатся инструкции по установке и замене аппаратных компонентов компьютера. Работа с устройствами, чувствительными к статическомуэлектричеству Не раскрывайте антистатическую упаковку с новым компонентом, пока вы не сняли неисправны...
Страница 50 - Как снять кожух
“Расположение разъемов, органов управления и индикаторов на лицевой панели компьютера” настранице 10 и “Расположение разъемов на задней панели компьютера” на странице 11, чтобы найтинужный разъем. Затем подключите устройство и установите нужное программное обеспечение илидрайверы устройства в соотве...
Страница 51 - Как снять и поставить на место лицевую панель
Как снять и поставить на место лицевую панель Внимание: Не открывайте корпус компьютера и не пытайтесь его ремонтировать, не прочитав предварительно раздел“Важная информация по технике безопасности” на странице v. В этом разделе рассказано, как снять и поставить на место лицевую панель. Чтобы снять ...
Страница 52 - Как добраться до компонентов материнской платы и дисководов
4. Чтобы установить на место лицевую панель, совместите три пластмассовые защелки в нижней части панели с соответствующими отверстиями в раме, а затем поворачивайте лицевую панельвнутрь, пока она не встанет на место. Рис. 11. Как поставить на место лицевую панель Что делать дальше: • Если вы хотите ...
Страница 53 - Установка или замена модуля памяти
4. Откиньте отсек дисководов, чтобы получить доступ ко всем внутренним дисководам, кабелям и другим компонентам. Рис. 12. Как откинуть отсек дисководов 5. Чтобы опустить отсек дисководов, слегка нажмите на защелку 1 отсека дисководов внутрь и откиньте отсек дисководов, как показано на рисунке. Рис. ...
Страница 55 - Установка или замена платы PCI Express
• В случае установки модуля памяти откройте фиксирующие защелки гнезда модуля памяти, в который вы хотите установить новый модуль. Рис. 15. Как открыть фиксирующие защелки 8. Приложите новый модуль памяти к гнезду. Убедитесь, что паз на модуле памяти 1 совпадает с выступом гнезда 2 материнской платы...
Страница 58 - Замена аккумулятора
Замена аккумулятора Внимание: Не открывайте корпус компьютера и не пытайтесь его ремонтировать, не прочитав предварительно раздел“Важная информация по технике безопасности” на странице v. В вашем компьютере есть особая память, которая отвечает за ход часов и сохранение встроенныхпараметров, например...
Страница 59 - Замена жесткого диска
8. С помощью программы Setup Utility установите дату, время и пароли. См. раздел Глава 7 “Использование программы Setup Utility” на странице 95. Что делать дальше: • Если вы хотите установить или снять другой компонент, то перейдите к соответствующему разделу. • Информацию о том, как завершить устан...
Страница 61 - Замена твердотельного диска; Замена твердотельного диска в отсеке для жесткого диска
8. Установите новый жесткий диск в отсек дисководов и совместите отверстия под винты в новом жестком диске с соответствующими отверстиями в отсеке дисководов. Затем закрепите новыйжесткий диск четырьмя винтами. Рис. 24. Установка жесткого диска Что делать дальше: • Если вы хотите установить или снят...
Страница 66 - Установка или замена дисковода для оптических дисков
11. Установите винт 1 , который фиксирует скобу в нижней части отсека дисковода для оптических дисков. Рис. 31. Установка винта, фиксирующего скобу в нижней части отсека дисковода для оптических дисков 12. Подсоедините один конец сигнального кабеля к нижней панели нового твердотельного диска, а друг...
Страница 69 - Замена блока радиатора и вентилятора
10. Откиньте отсек дисководов, удерживая новый дисковод оптических дисков. Совместите отверстия под винты в новом дисководе с соответствующими отверстиями в отсеке дисководов.Затем закрепите новый дисковод оптических дисков двумя винтами. Рис. 36. Установка дисковода для оптических дисков 11. Подсое...
Страница 72 - Замена блока питания
9. Подключите кабель блока радиатора и вентилятора к разъему вентилятора микропроцессора на материнской плате. См. раздел “Как найти компоненты, установленные на материнскойплате” на странице 14. 10. Опустите и установите канал вентилятора радиатора на блок радиатора и вентилятора, зафиксировав его ...
Страница 76 - Замена микропроцессора
10. Опускайте канал вентилятора радиатора сверху на блок радиатора и вентилятора, пока два отверстия под винты в канале вентилятора радиатора не совпадут с отверстиями в блокерадиатора и вентилятора. Закрепите канал вентилятора радиатора двумя винтами. Рис. 44. Установка канала вентилятора радиатора...
Страница 79 - Замена переднего блока аудиоразъема и USB
9. Заметьте ориентацию нового микропроцессора. Держите микропроцессор за края и совместите пазы 1 на микропроцессоре с выступами 2 на гнезде микропроцессора. Затем осторожно опустите микропроцессор прямо в гнездо микропроцессора. Примечание: Маленький треугольник 3 на одном из углов нового микропроц...
Страница 81 - Замена блока вентилятора компьютера
Замена блока вентилятора компьютера Внимание: Не открывайте корпус компьютера и не пытайтесь его ремонтировать, не прочитав предварительно раздел“Важная информация по технике безопасности” на странице v. В этом разделе описана замена блока вентилятора компьютера. Чтобы заменить блок вентилятора комп...
Страница 83 - Замена блоков WiFi
9. Установите новый вентилятор компьютера; для этого совместите резиновые ножки нового блока вентилятора компьютера с отверстиями в раме и вдавите их в отверстия. Затем осторожнопотяните за резиновые ножки снизу так, чтобы новый блок вентилятора компьютера встална место. Рис. 50. Установка блока вен...
Страница 84 - Извлечение карты контроллера WiFi
• “Извлечение модуля карты WiFi” на странице 73 • “Установка блоков WiFi” на странице 74 Извлечение карты контроллера WiFi Чтобы извлечь карту контроллера WiFi, выполните указанные ниже действия. 1. Выключите компьютер и выньте из розеток вилки всех шнуров питания. 2. Снимите кожух компьютера. См. р...
Страница 85 - Извлечение модуля карты WiFi
5. Возьмитесь за установленную карту контроллера WiFi и осторожно вытяните ее из гнезда. Рис. 52. Извлечение карты контроллера WiFi Примечание: Плата плотно установлена в гнездо. Можно сначала частично извлечь из гнезда один край платы, затем другой, затем опять первый и так до тех пор, пока не буде...
Страница 86 - Установка блоков WiFi
2. Выверните два винта, крепящие модуль карты WiFi к карте контроллера WiFi. Рис. 54. Снятие винтов для крепления модуля карты WiFi 3. Вытащите модуль карты WiFi из гнезда мини-разъема PCI Express, чтобы извлечь его из контроллера WiFi. Рис. 55. Извлечение модуля карты WiFi Установка блоков WiFi Что...
Страница 88 - Установка или снятие задней антенны WiFi; Установка задней антенны WiFi
3. Найдите на материнской плате два гнезда для карт PCI Express x1. См. раздел “Как найти компоненты, установленные на материнской плате” на странице 14. 4. Если установленный модуль WiFi поддерживает функцию Bluetooth, воспользуйтесь кабелем Bluetooth, чтобы подключить разъем Bluetooth на адаптере ...
Страница 89 - Снятие задней антенны WiFi
3. Отрегулируйте угол задней антенны, чтобы снизить риск случайной ее поломки. Рис. 59. Установка задней антенны WiFi Что делать дальше: • Если вы хотите установить или снять другой компонент, то перейдите к соответствующему разделу. • Информацию о том, как завершить установку или замену, см. в разд...
Страница 90 - Установка или снятие передней антенны WiFi; Установка передней антенны WiFi
• Информацию о том, как завершить установку или замену, см. в разделе “Что нужно сделать после замены компонентов” на странице 82. Установка или снятие передней антенны WiFi Внимание: Не открывайте корпус компьютера и не пытайтесь его ремонтировать, не прочитав предварительно раздел“Важная информаци...
Страница 91 - Снятие передней антенны WiFi
5. Приклейте переднюю антенну к передней панели, как показано на рисунке. После этого проденьте кабель передней антенны через отверстие в передней панели. Рис. 62. Установка передней антенны WiFi 6. Подсоедините кабель передней антенны к модулю карты WiFi. Что делать дальше: • Если вы хотите установ...
Страница 92 - Замена клавиатуры
5. Снимите переднюю антенну и ее кабель с передней части компьютера. Рис. 63. Снятие передней антенны WiFi Что делать дальше: • Если вы хотите установить или снять другой компонент, то перейдите к соответствующему разделу. • Информацию о том, как завершить установку или замену, см. в разделе “Что ну...
Страница 93 - Замена мыши
Рис. 64. Разъемы клавиатуры Что делать дальше: • Если вы хотите установить или снять другой компонент, то перейдите к соответствующему разделу. • Информацию о том, как завершить замену, смотрите в разделе “Что нужно сделать после замены компонентов” на странице 82. Замена мыши Внимание: Не открывайт...
Страница 94 - Что нужно сделать после замены компонентов
Что делать дальше: • Если вы хотите установить или снять другой компонент, то перейдите к соответствующему разделу. • Информацию о том, как завершить замену, смотрите в разделе “Что нужно сделать после замены компонентов” на странице 82. Что нужно сделать после замены компонентов После установки или...
Страница 95 - Как загрузить драйверы устройств
7. Если вы используете встроенный замок для троса, то заприте его. См. раздел “Прикрепление замка Kensington для троса” на странице 33. 8. Подсоедините к компьютеру внешние кабели и шнуры питания. См. раздел “Расположение разъемов на задней панели компьютера” на странице 11. 9. Информацию о том, как...
Страница 97 - Глава 6. Информация о восстановлении; Информация о восстановлении операционной системы Windows 7
Глава 6. Информация о восстановлении В этой главе описаны методы восстановления, предлагаемые Lenovo. • “Информация о восстановлении операционной системы Windows 7” на странице 85 • “Информация о восстановлении операционной системы Windows 8 или Windows 8.1” на странице 92 • “Информация о восстановл...
Страница 98 - Создание носителей восстановления; Использование носителей восстановления; Резервное копирование и восстановление
Примечание: Операции восстановления, которые можно выполнить при помощи носителей восстановления, зависят от операционной системы, в которой они созданы. В комплект носителейвосстановления могут входить загрузочный носитель и носитель данных. Ваша лицензия MicrosoftWindows позволяет вам создать толь...
Страница 99 - Рабочее пространство Rescue and Recovery
Если вы создали резервную копию жесткого диска, то впоследствии вы сможете восстановить весьдиск, только выбранные файлы или только операционную систему Windows и приложения, сохраняяпри этом остальные данные на жестком диске. Резервное копирование В данном разделе приведены инструкции по выполнению...
Страница 100 - Спасти файлы; Восстановить; Справка; Создание и использование резервных носителей; Создание резервных носителей
восстановить из рабочего пространства Rescue and Recovery, даже если не удается запуститьWindows. • Восстановление жесткого диска до заводского состояния: В рабочем пространстве Rescue and Recovery можно восстановить все содержимое жесткого диска до заводского состояния.Если жесткий диск разбит на н...
Страница 101 - Использование резервных носителей
Чтобы создать резервный носитель в Windows 7, выполните указанные ниже действия. 1. На рабочем столе Windows щелкните Пуск ➙ Все программы ➙ Lenovo ThinkVantage Tools ➙ Enhanced Backup and Restore . Откроется окно программы Rescue and Recovery. 2. В главном окне программы Rescue and Recovery нажмите...
Страница 102 - Переустановка программ
2. При помощи проводника Windows или значка Компьютер откройте дерево каталогов на жестком диске. 3. Перейдите в каталог C:\SWTOOLS. 4. Откройте папку приложений. В папке приложений есть несколько подпапок, имена которых соответствуют именам различных приложений, установленных на компьютере. 5. Пере...
Страница 103 - Компьютер; Как переустановить драйверы устройств
Примечание: Метод переустановки программы зависит от программы. Специальные инструкции по установке программы см. в документации, поставляемой с программой. • Дополнительные сведения о переустановке наиболее распространенных программ см. в справочной системе Microsoft Windows. • Чтобы переустановить...
Страница 105 - Использование дополнительных параметров загрузки; Информация о восстановлении операционной системы Windows 10
Использование дополнительных параметров загрузки Дополнительные параметры загрузки позволяют изменять параметры запуска операционнойсистемы Windows, запускать компьютер с внешнего устройства или восстанавливать операционнуюсистему Windows с помощью образа системы. Чтобы использовать дополнительные п...
Страница 107 - Глава 7. Использование программы Setup Utility; Запуск программы Setup Utility; Enabled; Просмотр и изменение настроек
Глава 7. Использование программы Setup Utility Программа Setup Utility позволяет просмотреть или изменить параметры конфигурации компьютеранезависимо от того, в какой операционной системе вы работаете. Однако настройки операционнойсистемы могут переопределять соответствующие настройки программы Setu...
Страница 109 - Настройка, изменение и удаление пароля; Стирание утерянного или забытого пароля (очистка CMOS)
Настройка, изменение и удаление пароля Чтобы задать, изменить или удалить пароль, выполните следующие действия: 1. Запустите программу Setup Utility. См. раздел “Запуск программы Setup Utility” на странице 95. 2. В главном меню программы Setup Utility выберите Security . 3. В зависимости от типа пар...
Страница 110 - Выбор загрузочного устройства; Startup; Переход в режим соответствия требованиям к продуктам ErP LPS
2. В главном меню программы Setup Utility выберите Devices . 3. В зависимости от устройства, которое вы хотите разрешить или запретить, сделайте следующее: • Выберите USB Setup , чтобы разрешить или запретить устройство USB. • Выберите ATA Drive Setup , чтобы разрешить или запретить внешнее или внут...
Страница 111 - Режим производительности ICE
Чтобы включить режим соответствия требованиям к продуктам ErP LPS в программе Setup Utility,выполните указанные ниже действия. 1. Убедитесь, что компьютер выключен. 2. Включите компьютер и несколько раз нажмите и отпустите клавишу F1. Когда прозвучит несколько звуковых сигналов или на экране появитс...
Страница 113 - Глава 8. Как обновить системные программы; Использование системных программ; Как выполнить восстановление после сбоя обновления POST/BIOS
Глава 8. Как обновить системные программы В этой главе рассказано, как обновить POST и BIOS и что делать в случае сбоя обновления POST иBIOS. Использование системных программ Основа программных средств, встроенных в компьютер - это системные программы. В числосистемных программ входят POST, BIOS и п...
Страница 115 - Глава 9. Предотвращение возникновения неполадок; Использование новейших версий программ; Получение новейших драйверов устройств для вашего компьютера; Получение последних обновлений системы; Панель; Центр обновления Windows
Глава 9. Предотвращение возникновения неполадок В этой главе рассказано, как предотвратить возникновение распространенных неполадок иобеспечить стабильную работу компьютера. Использование новейших версий программ В некоторых ситуациях может возникнуть необходимость установить новейшие версии програм...
Страница 117 - Оптическая мышь; Экран; Как почистить поверхность жидкокристаллического монитора
1. Нанесите на мягкую чистую ткань немного изопропилового спирта. 2. Протрите верхние поверхности клавиш. Протирайте клавиши поочередно; если вы будете протирать несколько клавиш одновременно, ткань может зацепиться за находящиеся рядомклавиши и повредить их. Следите, чтобы жидкость не капала на кла...
Страница 118 - Как почистить поверхность монитора со стеклянным экраном; Рекомендации по обслуживанию; История файлов
Как почистить поверхность монитора со стеклянным экраном Чтобы почистить поверхность стеклянного экрана, слегка протрите экран мягкой сухой тканью илисдуйте с экрана пыль и другие легко удаляемые частицы. Затем протрите экран монитора мягкойсалфеткой, смоченной неабразивным раствором для мытья стеко...
Страница 119 - Панель управления; Восстановление; Перемещение компьютера
Примечание: Дополнительную информацию по открытию панели управления в операционной системе Windows 8 и Windows 8.1 см. в разделе “Доступ к панели управления в ОС Windows 8или Windows 8.1” на странице 20. – Для Windows 10: щелкните правой кнопкой мыши кнопку “Пуск”, чтобы открыть контекстное меню “Пу...
Страница 121 - Глава 10. Обнаружение и устранение неполадок; Основные неполадки
Глава 10. Обнаружение и устранение неполадок В этой главе описываются некоторые программы для обнаружения и устранения неполадок. Если выстолкнулись с неполадкой в работе компьютера, которая здесь не описана, то просмотрите разделГлава 11 “Получение информации, консультаций и обслуживания” на страни...
Страница 122 - Процедура устранения неполадки
Неполадка Действие Не запускается операционнаясистема. Убедитесь, что: • В последовательности запуска задано устройство, на котором находится операционная система. Обычно операционная система находится нажестком диске. Дополнительную информацию см. в разделе “Выборзагрузочного устройства” на страниц...
Страница 124 - Нет звука в Windows; Вкл; Работает только одна колонка
Нет звука в Windows Признак: нет звука в Windows Что нужно сделать: • Если вы используете внешние колонки с автономным питанием и на них есть выключатель питания (On/Off, Вкл/Выкл), то убедитесь, что выключатель стоит в положении Вкл и что шнур питания колонок включен в правильно заземленную розетку...
Страница 125 - Нет звука в приложениях или играх DOS; Неполадки CD-дисководов; Не удается обратиться к CD- или DVD-диску
Если разрешить проблему при помощи этих действий не удается, то, возможно, неисправна колонка.Отремонтируйте колонку. Если вам нужна техническая помощь, то обратитесь к разделу Глава 11“Получение информации, консультаций и обслуживания” на странице 129. Нет звука в приложениях или играх DOS Признак:...
Страница 126 - Неполадки DVD-дисководов; Черный экран вместо DVD-видео
может быть вызвана неисправностью дисковода или неправильным подключением кабеля кCD- или DVD-дисководу. Проверьте, надежно ли подключены к дисководу кабель питания исигнальный кабель. Не удается загрузить компьютер с загрузочного носителя восстановления(например, с компакт-диска восстановления прод...
Страница 127 - При воспроизведении фильма DVD нет звука или звук прерывистый; Сильно замедленное или неровное воспроизведение; Появляется сообщение Неправильный диск или диск не найден; Периодически возникающие неполадки
Если с помощью этих действий решить проблему не удается, запустите программу Lenovo SolutionCenter. Если вам нужна техническая помощь, то обратитесь к разделу Глава 11 “Получениеинформации, консультаций и обслуживания” на странице 129. При воспроизведении фильма DVD нет звука или звук прерывистый Пр...
Страница 128 - Неполадки клавиатуры, мыши или манипулятора; Все или некоторые клавиши клавиатуры не работают
• Убедитесь, что, когда компьютер включен, решетки вентиляторов ничем не закрыты (через решетки проходит поток воздуха), и что вентиляторы работают. Если поток воздуха блокирован,или если вентиляторы не работают, то компьютер может перегреться. • Если установлены устройства SCSI, то проверьте, что в...
Страница 130 - Неполадки монитора; На экране появляются неправильные символы
• Трансивер полностью установлен. Что нужно сделать: Если светодиод трансивера связи не горит, то отсоедините и вновь подсоединитетрансивер и клавиатуру. Неполадки монитора Примечание: Многие мониторы оснащены световыми индикаторами состояния и встроенными регуляторами для настройки яркости, контрас...
Страница 131 - Неполадки сети
• Убедитесь, что установлены все драйверы устройств, необходимые для работы прикладных программ. Информацию о необходимых драйверах устройств смотрите в документации кприкладной программе. Если с помощью этих действий решить проблему не удается, запустите программу Lenovo SolutionCenter. Если вам ну...
Страница 132 - Неполадки Ethernet
• “Проблема с беспроводной глобальной сетью” на странице 122 • “Неполадки Bluetooth” на странице 122 Дополнительную информацию см. в разделе “Справочная система Windows” на странице 129. Неполадки Ethernet Для устранения неполадок Ethernet выберите в списке признак неполадки: • “Компьютер не может п...
Страница 133 - Адаптер перестает работать без видимых причин; Не работает функция Wake on LAN; Проблема с локальной сетью
• Для порта коммутатора и адаптера задан одинаковый дуплексный режим. Если на адаптере был настроен полный дуплекс, убедитесь, что порт коммутатора также настроендля работы в режиме полного дуплекса. Указание неправильного дуплексного режима можетпривести к снижению производительности, потере данных...
Страница 134 - Неполадки опций; Вновь установленная опция не работает
• Убедитесь, что компьютер находится в зоне действия беспроводной точки доступа. • Убедитесь, что включен модуль беспроводной радиосвязи, дважды щелкнув значок Access Connections в области уведомлений Windows. • Проверьте имя сети (SSID) и информацию о шифровании. Проверьте эту информацию с помощью ...
Страница 135 - Опция работала, но теперь не работает; Низкая производительность и зависания; Недостаточно свободного места на жестком диске
• Если опция представляет собой адаптер, то убедитесь, что для правильной работы адаптера есть достаточные аппаратные ресурсы. Информацию о ресурсах, необходимых для каждого адаптера,смотрите в документации к адаптеру и в документации к другим адаптерам. Если с помощью этих действий решить проблему ...
Страница 137 - Неполадки принтера; Неполадки последовательного порта
Что нужно сделать: Установите дополнительную память. Дополнительную информацию оприобретении памяти смотрите в разделе Глава 11 “Получение информации, консультаций иобслуживания” на странице 129. Пошаговые инструкции по установке памяти смотрите в разделе“Установка или замена модуля памяти” на стран...
Страница 138 - Неполадки программ; Программа работает не так, как ожидается
Если с помощью этих действий решить проблему не удается, запустите программу Lenovo SolutionCenter. Если вам нужна техническая помощь, то обратитесь к разделу Глава 11 “Получениеинформации, консультаций и обслуживания” на странице 129. Неполадки программ Выберите в списке признак неполадки: • “При и...
Страница 139 - Неполадки USB; Lenovo Solution Center
– Для Windows 8 или Windows 8.1: см. раздел “Доступ к панели управления в ОС Windows 8 или Windows 8.1” на странице 20. – Для Windows 10: щелкните правой кнопкой мыши кнопку “Пуск”, чтобы открыть контекстное меню “Пуск”, и выберите пункт Панель управления . 2. Просмотрите содержимое панели управлени...
Страница 141 - Справка и; Техника безопасности и гарантия
Глава 11. Получение информации, консультаций иобслуживания В этой главе содержится информация о поддержке, обслуживании и технической помощи дляпродуктов, выпускаемых Lenovo. Источники информации Вы можете использовать информацию из этого раздела, чтобы обратиться к ресурсам, в которыхсодержится цен...
Страница 142 - Выявление причин неполадок
• Просмотреть информацию о поддержке и о поиске и устранении неисправностей для вашей модели компьютера и для других поддерживаемых продуктов. • Найти телефоны служб поддержки и обслуживания в вашей стране или регионе. • Найти ближайший к вам сервис-центр. Веб-сайт технической поддержки Lenovo Инфор...
Страница 143 - Технологические изменения; Прочие услуги
• Технологические изменения - Иногда после продажи продукта бывает необходимо внести в него изменения. Lenovo или торговец продукцией Lenovo внесут необходимые технологическиеизменения (Engineering Changes, или EC), относящиеся к приобретенным вами аппаратнымсредствам. Гарантийное обслуживание не пр...
Страница 144 - Приобретение дополнительных услуг
Support по адресу http://support.microsoft.com. Вы можете также обратиться в Центр поддержкиклиентов Lenovo за помощью. Возможно, некоторые услуги вам придется оплатить. Приобретение дополнительных услуг В течение гарантийного срока и после его завершения вы можете получить такие платные услуги, как...
Страница 145 - Приложение A. Замечания
Приложение A. Замечания Lenovo может предоставлять продукты, услуги и компоненты, описанные в данной публикации, нево всех странах. Сведения о продуктах и услугах, доступных в настоящее время в вашей стране,можно получить в местном представительстве Lenovo. Ссылки на продукты, программы или услугиLe...
Страница 146 - Товарные знаки
средах, могут заметно отличаться от приведенных. Некоторые измерения могли быть выполненыв разрабатываемых системах, и нет никакой гарантии, что в общедоступных системах результатыэтих измерений будут такими же. Кроме того, результаты некоторых измерений были полученыэкстраполяцией. Реальные результ...
Страница 147 - Приложение B. Нормативная информация; Замечания по классификации для экспорта
Приложение B. Нормативная информация Текущая информация о соответствии доступна по адресу http://www.lenovo.com/compliance. Замечания по классификации для экспорта На этот продукт распространяется действие Правил экспортного контроля США (United StatesExport Administration Regulations — (EAR) и ему ...
Страница 148 - Deutschsprachiger EU Hinweis:
This device complies with Part 15 of the FCC Rules. Operation is subject to the following two conditions: (1)this device may not cause harmful interference, and (2) this device must accept any interference received,including interference that may cause undesired operation. Responsible Party:Lenovo (...
Страница 149 - Замечание по шнуру питания для Японии
Um dieses sicherzustellen, sind die Geräte wie in den Handbüchern beschrieben zu installieren und zubetreiben. Des Weiteren dürfen auch nur von der Lenovo empfohlene Kabel angeschlossen werden.Lenovo übernimmt keine Verantwortung für die Einhaltung der Schutzanforderungen, wenn das Produktohne Zusti...
Страница 150 - Единый знак обращения на рынке стран Таможенного союза; User Guides and Manuals
Информация об обслуживании продуктов Lenovo для Тайваня (Китай) Заявление о совместимости клавиатуры и мыши для Тайваня Единый знак обращения на рынке стран Таможенного союза Уведомление об акустической безопасности для Бразилии Ouvir sons com mais de 85 decibéis por longos períodos pode provocar da...
Страница 151 - Важная информация о WEEE
Приложение C. Информация относительно WEEE иутилизации Lenovo поддерживает владельцев оборудования, связанного с информационными технологиями(Information Technology, IT), которые ответственно подходят к утилизации ненужного оборудования.Lenovo предлагает комплекс программ и услуг, которые помогут вл...
Страница 153 - Примечание
Информация об утилизации аккумуляторов для Тайваня (Китай) Информация об утилизации аккумуляторов для Европейского союза Примечание : эта отметка относится только к странам на территории Европейского союза (ЕС). Аккумуляторы и их упаковка маркируются в соответствии с Европейской директивой 2006/66/E...
Страница 154 - Утилизация аккумуляторов из продуктов Lenovo
Утилизация аккумуляторов из продуктов Lenovo Устройство Lenovo может содержать литий-ионный или никель-металл-гибридный аккумулятор.Сведения о нем можно найти в документации по продукту. Если аккумулятор нужно утилизировать,оберните его виниловой лентой, обратитесь в центр продаж или обслуживания Le...
Страница 159 - Приложение F. Информация о модели ENERGY STAR
Приложение F. Информация о модели ENERGY STAR ENERGY STAR ® — это совместная программа Агентства по охране окружающей среды США и Министерства энергетики США, цель которой — экономия средств и защита окружающей среды засчет использования продуктов и методов, эффективных с точки зрения сбережения эне...
Страница 160 - Электропитание
• Для Windows 10: щелкните правой кнопкой мыши кнопку “Пуск”, чтобы открыть контекстное меню “Пуск”, и выберите пункт Панель управления . 2. Просмотрите содержимое панели управления, используя крупные или мелкие значки, и щелкните значок Электропитание . 3. Следуйте инструкциям на экране. 148 ThinkC...
Страница 161 - Индекс
Индекс А администратор, пароль 96 аппаратный тест при включении питания (power-on self-test, или POST) 101 аудиосистема 2 Б батарейка, замена 46 блок питания замена 60 блок радиатора и вентилятора замена 57 блоки WiFi, карта контроллера WiFi, модуль карты WiFi, кабель антенны WiFi, замена 71 В важна...