Котел ZOTA MAGNA 20 - инструкция пользователя по применению, эксплуатации и установке на русском языке. Мы надеемся, она поможет вам решить возникшие у вас вопросы при эксплуатации техники.
Если остались вопросы, задайте их в комментариях после инструкции.
"Загружаем инструкцию", означает, что нужно подождать пока файл загрузится и можно будет его читать онлайн. Некоторые инструкции очень большие и время их появления зависит от вашей скорости интернета.

стр. 11
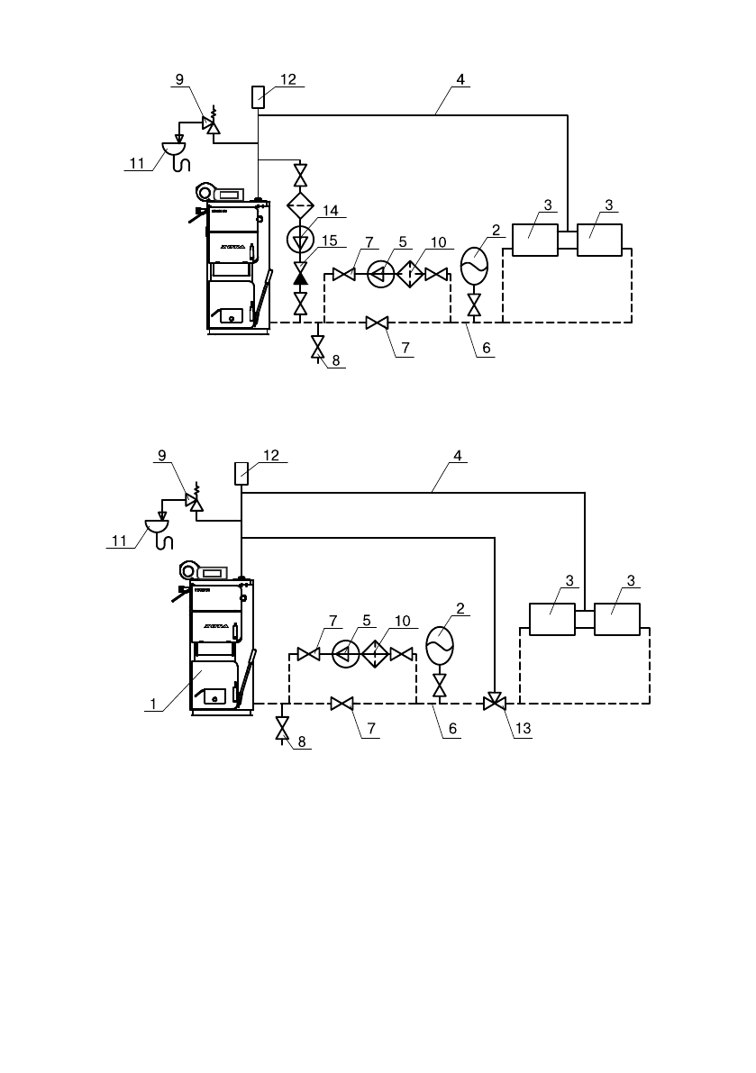
1 - Котел
2 - Бак расширительный закрытого типа
3 - Приборы отопительные
4 - Подающий трубопровод
5 - Циркуляционный насос
6 - Обратный трубопровод
7 - Краны системы отопления
8 - Кран слива воды из системы
9 - Предохранительный клапан
10 - Фильтр отстойник
11 - Ñлив в канализацию
12 - Àвтоматический воздухоотводчик
13- Термосмесительный клапан
14- Насос рециркуляционный
15- Обратный клапан
Ðис.7 Схема закрытой системы отопления
(рециркуляционная система с насосом)
Ðис.8 Схема закрытой системы отопления.
(рециркуляционная система со смесительным клапаном)