Котел Bosch Tronic 5000 H ErP - инструкция пользователя по применению, эксплуатации и установке на русском языке. Мы надеемся, она поможет вам решить возникшие у вас вопросы при эксплуатации техники.
Если остались вопросы, задайте их в комментариях после инструкции.
"Загружаем инструкцию", означает, что нужно подождать пока файл загрузится и можно будет его читать онлайн. Некоторые инструкции очень большие и время их появления зависит от вашей скорости интернета.

Електричне з’єднання
|
27
UA
6 720 647 615 2011/03
5.4
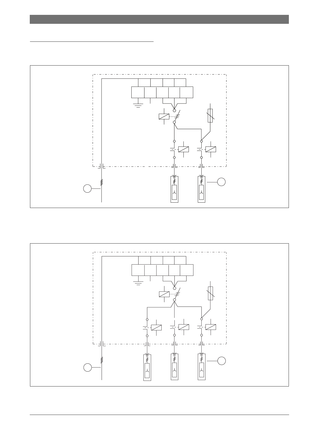
Схеми з’єднань
5.4.1
Схема з’єднань котла Tronic 5000 H 4 — 8
Мал. 17 Схема підключень котла Tronic 5000 H 4 — 8
1
Провід електроживлення
2
Нагрівальні елементи
5.4.2
Схема з’єднань котла Tronic 5000 H 10 — 18
Мал. 18 Схема підключень котла Tronic 5000 H 10 — 18
1
Провід електроживлення
2
Нагрівальні елементи
FU1
KM1
KM2
2 - 4 kW
SB1
PE
N
U
V
W
2
1
6 720 647 615-07.2ITL
FU1
KM1
KM2
KM3
2 - 6 kW
SB1
PE
N
U
V
W
2
1
6 720 647 615-08.2ITL
Характеристики
Остались вопросы?Не нашли свой ответ в руководстве или возникли другие проблемы? Задайте свой вопрос в форме ниже с подробным описанием вашей ситуации, чтобы другие люди и специалисты смогли дать на него ответ. Если вы знаете как решить проблему другого человека, пожалуйста, подскажите ему :)












