Котел Baxi Eco Four 24 F - инструкция пользователя по применению, эксплуатации и установке на русском языке. Мы надеемся, она поможет вам решить возникшие у вас вопросы при эксплуатации техники.
Если остались вопросы, задайте их в комментариях после инструкции.
"Загружаем инструкцию", означает, что нужно подождать пока файл загрузится и можно будет его читать онлайн. Некоторые инструкции очень большие и время их появления зависит от вашей скорости интернета.

89
926.237.1 - RU
Руководство для техНИческого пеРсоНала
24
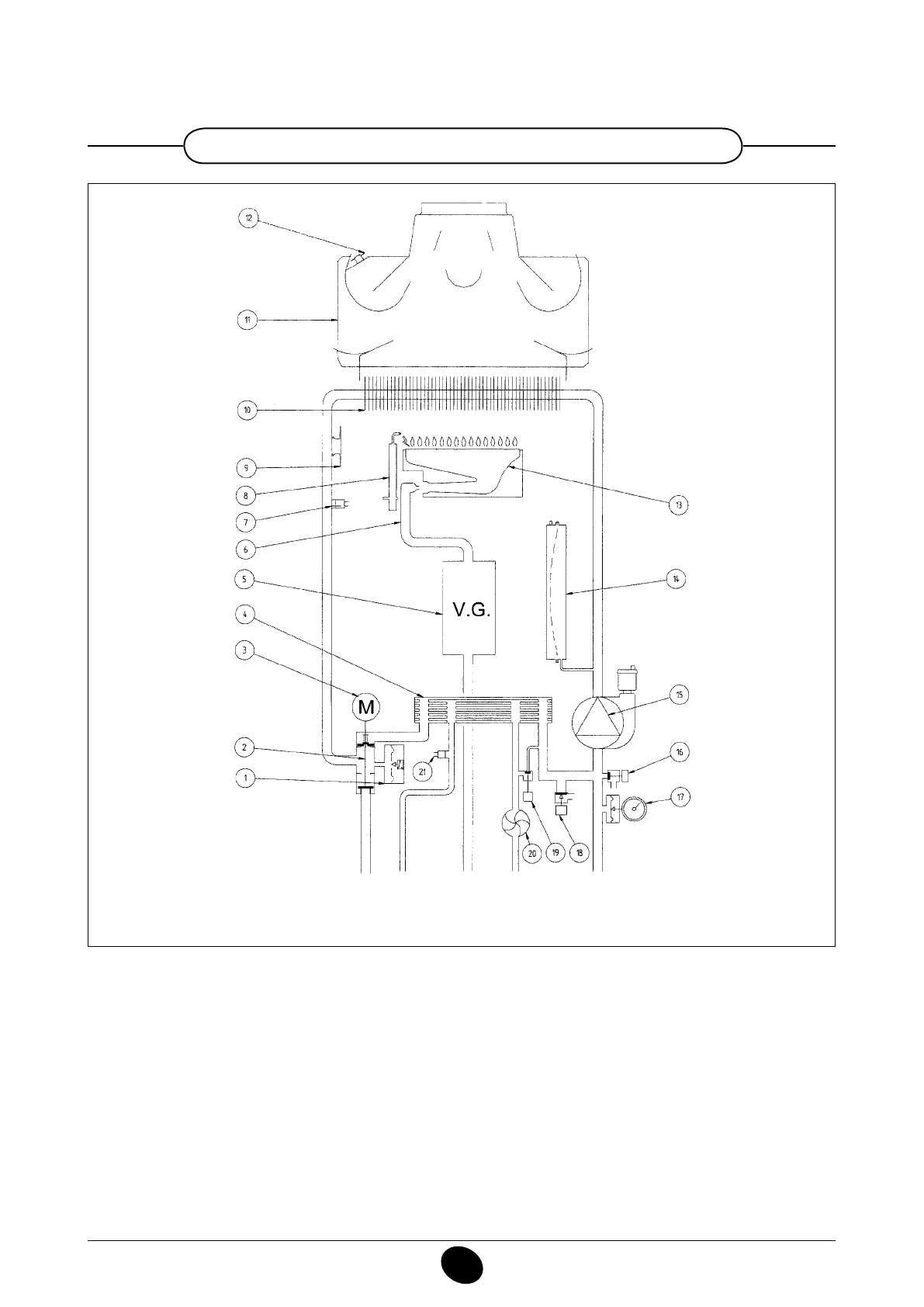
Рис. 16
подача в
систему
отопления
выход
горячей
воды
газ
подача
холодной
воды
возврат из
системы
отопления
обозначения:
дымовой колпак
термостат – датчик тяги
горелка
расширительный бак
насос с автоматическим воздухоотводчиком
кран слива воды из котла
манометр
сбросной предохранительный клапан (3 бар)
кран заполнения системы отопления
датчик приоритета контура ГВС
датчик температуры (тип NTC) контура ГВС
11
12
13
14
15
16
17
18
19
20
21
1
2
3
4
5
6
7
8
9
10
гидравлический прессостат
трехходовой клапан
мотор трехходового клапана
пластинчатый теплообменник системы ГВС
(автоматическом байпасе)
газовый клапан
рампа подачи газа с форсунками
датчик температуры (тип NTC) контура отопления
электрод зажигания/контроля пламени
термостат перегрева
первичный теплообменник
0901_0906 / CG_2004