Кондиционеры Elenberg SPT-7080 - инструкция пользователя по применению, эксплуатации и установке на русском языке. Мы надеемся, она поможет вам решить возникшие у вас вопросы при эксплуатации техники.
Если остались вопросы, задайте их в комментариях после инструкции.
"Загружаем инструкцию", означает, что нужно подождать пока файл загрузится и можно будет его читать онлайн. Некоторые инструкции очень большие и время их появления зависит от вашей скорости интернета.

20
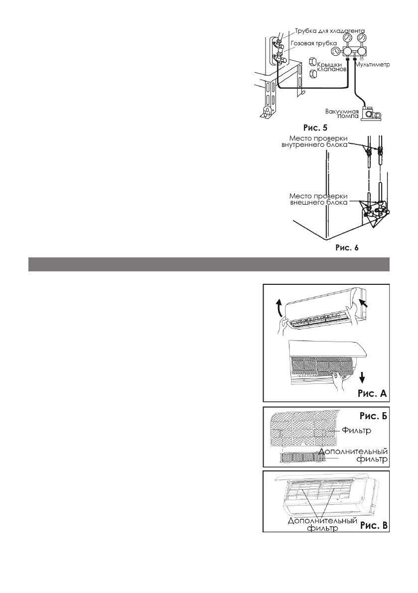
помпы изменился, а показания мультиметра
равны 0, затяните крепление соединитель
-
ного шланга.
5. Подождите 15 минут и убедитесь, что пока
-
зания мультиметра соответствуют следую
-
щему значению: -1.0 x 10
5
Па (-76 cmHg).
6. Полностью откройте клапаны высокого и
низкого давления.
7. Снимите соединительный шланг с клапана
низкого давления.
8. Закрутите крышку клапана низкого давле
-
ния (Рис. 5)
проверка герметичности соединений
Чтобы убедиться, что соединение герметично, смажь
-
те его мыльной водой. Если в месте нанесения мыль
-
ной воды образуются пузыри, значит соединение не
герметично.
установка
1. Извлечение фильтра
а) Поднимите переднюю панель внутреннего
блока.
b) Извлеките фильтр из прибора (Рис. А)
2. Установите дополнительный фильтр на воз
-
душный фильтр (Рис. Б). Если воздушный
фильтр не получается установить на место,
установите дополнительный фильтр на фрон
-
тальную решетку (Рис. В).
устаноВка и обслужиВание Фильтра
Содержание
- 4 дополнительные положения; ВВедение
- 5 описание прибора
- 6 описание кнопок пду
- 8 специальные Функции
- 10 Чистка передней панели; панель упраВления
- 11 Чистка воздушного фильтра; проВерка перед эксплуатацией
- 12 устранение неполадок
- 18 установка внутреннего блока; устаноВка Внутреннего блока
- 19 подключение трубок; подключение проводов; прокачка воздуха и проверка на протекание; устаноВка Внешнего блока
- 20 устаноВка и обслужиВание Фильтра
- 21 Чистка и обслуживание
- 22 проВерка после устаноВки
- 23 специФикация