Холодильник Liebherr SBS 7222-20 - инструкция пользователя по применению, эксплуатации и установке на русском языке. Мы надеемся, она поможет вам решить возникшие у вас вопросы при эксплуатации техники.
Если остались вопросы, задайте их в комментариях после инструкции.
"Загружаем инструкцию", означает, что нужно подождать пока файл загрузится и можно будет его читать онлайн. Некоторые инструкции очень большие и время их появления зависит от вашей скорости интернета.

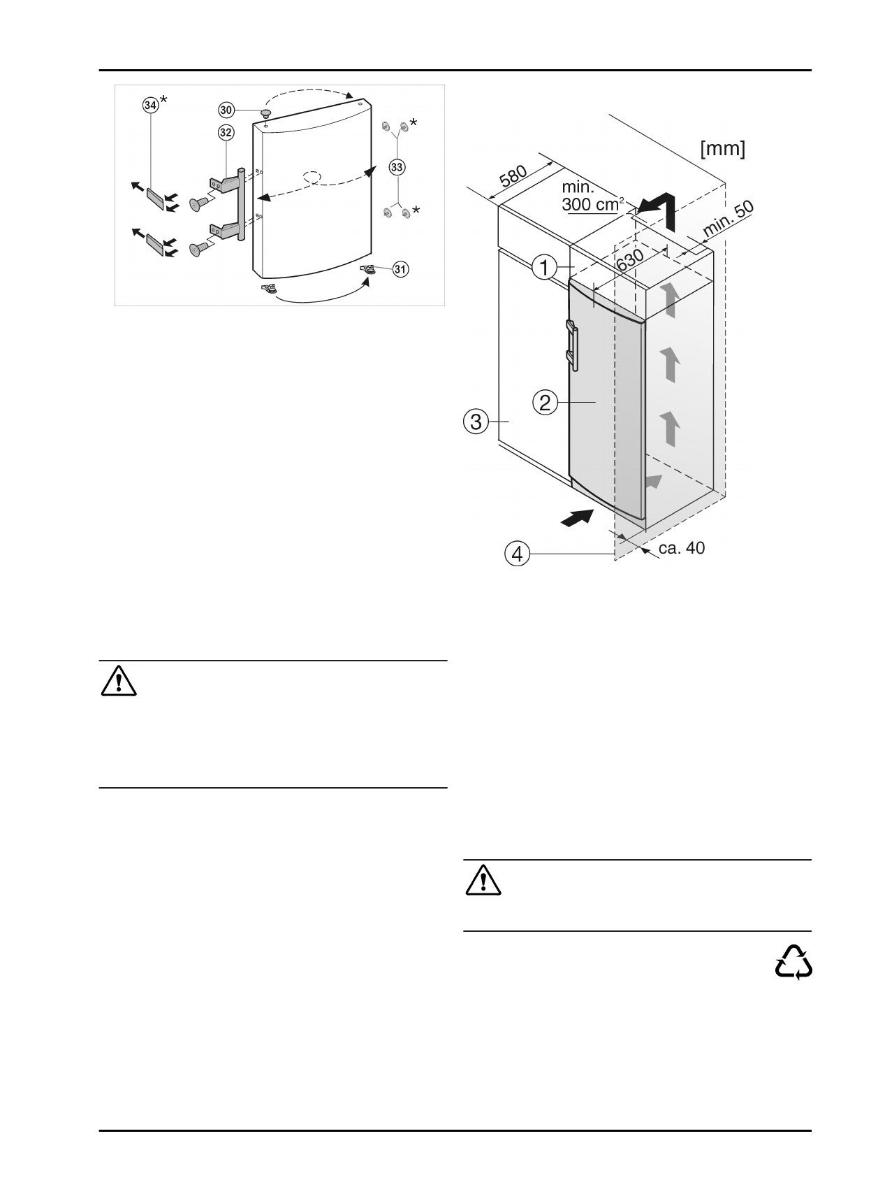
Fig. 7
u
Zátky
Fig. 7 (33) vyjměte z pouzdra ložisek dvířek a
přemístěte je.
u
Madlo dveří
Fig. 7 (32), zátky Fig. 7 (33) a krycí destičky*
Fig. 7 (34) odmontujte a přemontujte na protější stranu.
u
Při montáži krycích destiček na protější straně dávejte pozor
na správné zaklesnutí.*
4.3.4 Montáž dveří
u
Dveře nasaďte shora na spodní ložiskový čep
Fig. 5 (22).
u
Dveře zavřete.
u
Horní stojan ložiska
Fig. 4 (12) vložte na nové straně závěsu
do dvířek.
u
Horní stojan ložiska
Fig. 4 (12)přišroubujte (s 4 Nm)(2krát
Torx® 25)
Fig. 4 (13). Díry pro šrouby případně předem
propíchněte nebo použijte akumulátorový šroubovák.
u
Kryt
Fig. 4 (10) a kryt Fig. 4 (11) zatlačte vždy na opačné
straně.
4.3.5 Vyrovnání dveří
u
Dveře případně pomocí obou podélných děr ve spodním
stojanu ložiska
Fig. 5 (25) vyrovnejte tak, aby lícovaly se
skříní přístroje. Vyšroubujte prostřední šroub.
VÝSTRAHA
Nebezpečí zranění vypadávajícími dvířky!
Pokud nejsou díly ložiska pevně přišroubovány, mohou dvířka
vypadnout. To může vést k vážným zraněním. Dvířka se navíc
řádně nedovírají, takže chlazení pak není dostatečné.
u
Stojany ložiska přišroubujte s 4 Nm.
u
Zkontrolujte všechny šrouby a příp. je dotáhněte.
4.4 Zasunutí do kuchyňské linky
Fig. 8
(1) Nástavná skříňka
(3) Kuchyňská skříň
(2) Přístroj
(4) Stěna
Při montáži do kuchyňských skříní (hloubka max. 580 mm) lze
přístroj instalovat hned vedle kuchyňské skříně
Fig. 8 (3).
Dvířka přístroje přesahují přední stěnu kuchyňské skříně na
stranách o 34 mm a uprostřed o 50 mm. To umožňuje jejich
volné otevírání a zavírání.
Důležité pro větrání:
-
Na zadní straně skříňky nástavce musí být větrací šachta
hluboká alespoň 50 mm přes celou šířku skříňky.
-
Větrací profil pod stropem místnosti musí být minimálně
300 cm
2
.
-
Čím větší je větrací profil, tím úsporněji zařízení funguje.
Když se přístroj instaluje závěsy vedle stěny
Fig. 8 (4), musí být
vzdálenost přístroje od stěny alespoň 40 mm . To odpovídá
přesahu madla při otevřených dveřích.
4.5 Likvidace obalu
VÝSTRAHA
Nebezpečí udušení balicím materiálem a fólií!
u
Nenechte děti, aby si hrály s balicím materiálem.
Obal je vyroben z recyklovatelného materiálu:
-
Vlnitá lepenka/lepenka
-
Díly z napěněného polystyrénu
-
Fólie a sáčky z polyetylénu
-
Stahovací pásky z polypropylénu
-
přibitý dřevěný rám s podložkou z polyetylenu*
u
Balicí materiál dopravte na oficiální sběrné místo.
Uvedení do provozu
6
Содержание
- 8 Основные отличительные; Краткое описание устройства и; Область применения устройства; Основные отличительные особенности устройства
- 9 Общие указания по технике
- 10 Приборы контроля и управления; Ввод в работу; Транспортировка устройства; Органы управления и индикации
- 11 Перевешивание дверей; Ввод в работу
- 13 Обслуживание
- 14 туре; Замораживание продуктов; Размораживание продуктов
- 15 Ящик для хранения трав и ягод; Размораживание с помощью; Уход
- 16 Чистка устройства; Неисправности
- 17 Выключение устройства; Утилизация устройства; Вывод из работы
- 39 вания
- 40 Декларация соответствия; Экономия электроэнергии
- 41 Элементы управления и контроля
- 44 Установка в кухонную стенку; Подключение устройства
- 45 Включение устройства; Охлаждение продуктов; Регулировка температуры; Перемещение съемных полок
- 47 Замена внутреннего освещения с













