Газонокосилки Ryobi RLM18E40H 5133002347 - инструкция пользователя по применению, эксплуатации и установке на русском языке. Мы надеемся, она поможет вам решить возникшие у вас вопросы при эксплуатации техники.
Если остались вопросы, задайте их в комментариях после инструкции.
"Загружаем инструкцию", означает, что нужно подождать пока файл загрузится и можно будет его читать онлайн. Некоторые инструкции очень большие и время их появления зависит от вашей скорости интернета.

REDUÇÃO DO RISCO
Foi reportado que as vibrações das ferramentas de
mão podem contribuir para uma doença designada de
Síndrome de Raynaud em determinados indivíduos.
Os sintomas podem incluir formigueiro, entorpecimento
e empalidecimento dos dedos, habitualmente visível
aquando da exposição ao frio. Estima-se que os factores
hereditários, exposição ao frio e humidade, dieta,
tabagismo e práticas de trabalho contribuem todos para o
desenvolvimento destes sintomas. Existem medidas que
podem ser tomadas pelo operador para possivelmente
reduzir os efeitos da vibração:
Ŷ
Mantenha o seu corpo quente durante o tempo frio. Ao
operar a unidade, use luvas para manter as mãos e
os pulsos quentes. Encontra-se reportado que o tempo
frio é um grande factor que contribui para o Síndrome
de Raynaud.
Ŷ
Após cada período de operação, exercite para
aumentar a circulação sanguínea.
Ŷ
Faça pausas frequentes no trabalho. Limite o tempo de
exposição por dia.
Caso sinta algum dos sintomas desta doença, interrompa
de imediato a sua utilização e consulte o seu médico sobre
estes sintomas.
ADVERTÊNCIA
O uso prolongado de uma ferramenta pode causar o
agravar lesões. Ao usar qualquer ferramenta durante
períodos prolongados, assegure-se que faz intervalos
regulares.
CONHEÇA A SUA FERRAMENTA.
Ver a página 119.
Peças
1. Botão ON/OFF (ligar/desligar)
2. Manípulo
3. Cabo de controlo do motor
4. Retenção do cabo de controlo do motor
5. Alavanca reguladora da altura
6. Gancho do cabo
7. Indicador de caixa de erva cheia
Caixa de relva
9. Fixador de libertação rápida
10. Roda traseira
11. Roda frontal
12. Tomada de “mulching”
13. Cabo de alimentação
14. Botão de início
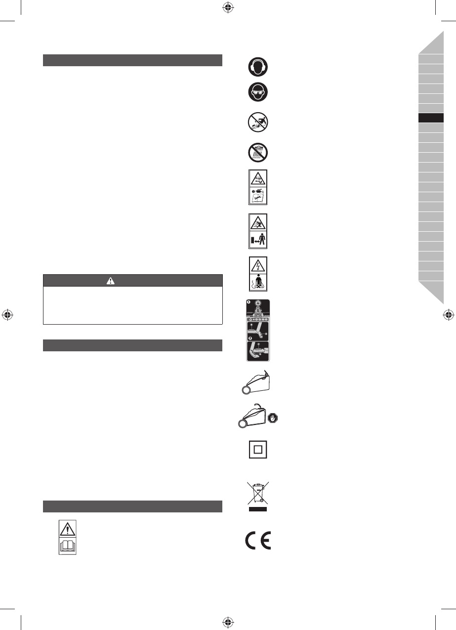
SÍMBOLOS NO PRODUTO
Leia e compreenda todas as instruções
antes de manipular o produto, respeite
os alertas e as instruções de segurança.
Use protecção para os ouvidos
Usar protecção para os olhos
Não trabalhe com o cortador em
inclinações superiores a 15º. Corte a
relva transversalmente nas inclinações,
nunca para cima e para baixo.
Não o exponha à chuva ou a condições
de humidade.
&XLGDGRFRPOkPLQDVD¿DGDV$V
lâminas continuam a rodar após o motor
VHGHVOLJDU±5HWLUHD¿FKDGDWRPDGD
antes de realizar tarefas de manutenção
RXVHRFDERHVWLYHUGDQL¿FDGR
Tenha cuidado com os objectos voláteis
ou lançados. Mantenha os visitantes e
especialmente as crianças e os animais,
a uma distância de pelo menos 15 m da
zona de corte.
Mantenha o cabo de alimentação
ÀH[tYHODIDVWDGRGDVOkPLQDVGHFRUWH
Pressione o botão Start (iniciar) e, em
seguida, o botão On/Off (A, B, C ou D)
para iniciar o aparelho. Solte o botão
Start e continue a premir o botão On/Off
para operar o aparelho. Solte o botão
On-off para parar o aparelho.
Avançar
Parar
Ferramenta de tipo II, duplo isolamento
Os aparelhos eléctricos antigos não
devem ser eliminados juntamente com
o lixo doméstico. Recicle onde existem
LQVWDODo}HVSDUDRHIHLWR9HUL¿TXH
com as suas Autoridades Locais ou
revendedor para obter informações
sobre reciclagem.
Esta ferramenta obedece a todas as
normas regulamentares do país da UE
onde foi comprada.
EN
FR
DE
ES
IT
NL
PT
DA
SV
FI
NO
RU
PL
CS
HU
RO
LV
LT
ET
HR
SL
SK
BG
33
Português
|


