Духовые шкафы Zanussi ZOB 482 N (W) (X) - инструкция пользователя по применению, эксплуатации и установке на русском языке. Мы надеемся, она поможет вам решить возникшие у вас вопросы при эксплуатации техники.
Если остались вопросы, задайте их в комментариях после инструкции.
"Загружаем инструкцию", означает, что нужно подождать пока файл загрузится и можно будет его читать онлайн. Некоторые инструкции очень большие и время их появления зависит от вашей скорости интернета.

electrolux
68
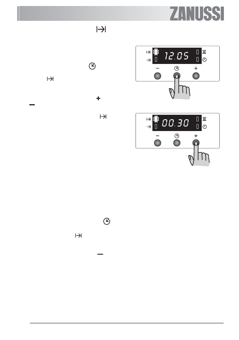
Funkcia „Doba pečenia“
Táto funkcia umožňuje automatické
vypnutie r úr y po uplynutí napro-
gramovanej doby prípravy jedla. Vložte
potraviny do rúr y, nastavte funkciu
prípravy jedla a teplotu pečenia.
Opakovane stláčajte tlačidlo
, aby ste
zvolili funkciu „Doba pečenia“. Príslušná
kontrolka
začne blikať. Potom
postupujte nasledovne:
Nastavenie doby pečenia:
1.
Opakovane stláčajte tlačidlo „ “ alebo
„
“.
2.
Po nastavení počkajte 5 sekúnd:
kontrolka „Doba pečenia“
sa
rozsvieti a na displeji sa znova zobrazí
presný čas.
3.
Po uplynutí času pečenia sa rúra
automaticky vypne, zaznie zvukové
znamenie a začne blikať kontrolka.
Otočte ovládacie gombíky na
nastavenie funkcie a ter mostatu do
nulovej polohy.
Akustický alar m sa vypína stlačením
ľubovoľného tlačidla.
POZNÁMKA:
zrušením zvukového
znamenia prepnete rúru do
manuálneho režimu a ak ste neotočili
gombíky funkcií a termostatu do
nulovej polohy, rúra začne znovu piecť.
Zrušenie doby pečenia:
1.
Opakovane stláčajte tlačidlo
a
zvoľte si funkciu „Doba pečenia“.
Príslušná kontrolka
začne blikať a
na displeji sa zobrazí zostávajúca
doba pečenia.
2.
Opakovane stláčajte tlačidlo „
“ kým
sa na displeji nezobrazí „0:00“. Po 5
sekundách kontrolka zhasne a na
displeji sa bude znovu zobrazovať
presný čas.
Характеристики
Остались вопросы?Не нашли свой ответ в руководстве или возникли другие проблемы? Задайте свой вопрос в форме ниже с подробным описанием вашей ситуации, чтобы другие люди и специалисты смогли дать на него ответ. Если вы знаете как решить проблему другого человека, пожалуйста, подскажите ему :)