Духовые шкафы Miele H 7460 B - инструкция пользователя по применению, эксплуатации и установке на русском языке. Мы надеемся, она поможет вам решить возникшие у вас вопросы при эксплуатации техники.
Если остались вопросы, задайте их в комментариях после инструкции.
"Загружаем инструкцию", означает, что нужно подождать пока файл загрузится и можно будет его читать онлайн. Некоторые инструкции очень большие и время их появления зависит от вашей скорости интернета.

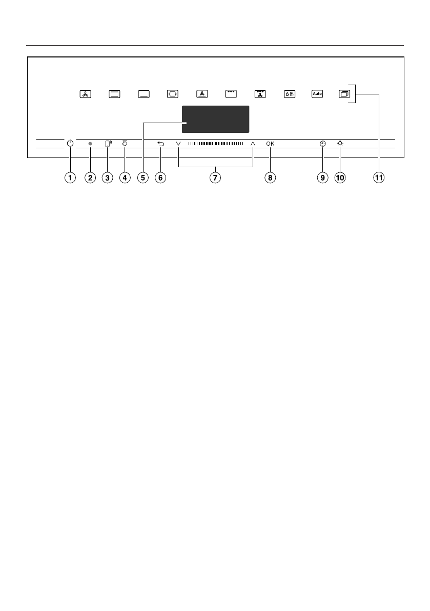
Элементы управления
18
a
Кнопка Вкл./Выкл.
в углублении
Для включения и выключения ду-
хового шкафа
b
Оптический интерфейс
(только для сервисной службы
Miele)
c
Сенсорная кнопка
Для управления духовым шкафом
с мобильного устройства
d
Сенсорная кнопка
Для вызова паровых ударов
e
Дисплей
Для индикации текущего времени
и информации по управлению
f
Сенсорная кнопка
Для пошагового возвращения на-
зад и изменения пунктов меню во
время процесса приготовления
g
Область навигации с кнопками-
стрелками
и
Для пролистывания списков выбо-
ра и для изменения значений
h
Сенсорная кнопка
ОК
Для вызова функций и сохранения
установок
i
Сенсорная кнопка
Для установки времени таймера,
времени приготовления, времени
запуска или времени окончания
процесса приготовления
j
Сенсорная кнопка
Для включения и выключения ос-
вещения рабочей камеры
k
Сенсорные кнопки
Для выбора режимов работы, ав-
томатических программ и настро-
ек
Характеристики
Остались вопросы?Не нашли свой ответ в руководстве или возникли другие проблемы? Задайте свой вопрос в форме ниже с подробным описанием вашей ситуации, чтобы другие люди и специалисты смогли дать на него ответ. Если вы знаете как решить проблему другого человека, пожалуйста, подскажите ему :)