Духовые шкафы Electrolux EOB 9890 X - инструкция пользователя по применению, эксплуатации и установке на русском языке. Мы надеемся, она поможет вам решить возникшие у вас вопросы при эксплуатации техники.
Если остались вопросы, задайте их в комментариях после инструкции.
"Загружаем инструкцию", означает, что нужно подождать пока файл загрузится и можно будет его читать онлайн. Некоторые инструкции очень большие и время их появления зависит от вашей скорости интернета.

26
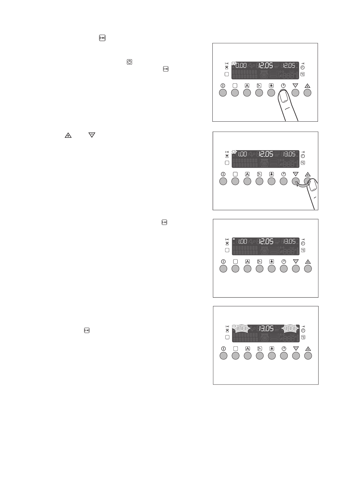
Ïðîäîëæèòåëüíîñòü
1.
Âûáåðèòå ôóíêöèþ äóõîâîãî øêàôà è òåìïåðàòóðó.
2.
Íàæèìàéòå êíîïêó ôóíêöèÿ ×àñû “ ”
äî òåõ ïîð,
ïîêà íå íà÷íåò ìèãàòü ñòðåëêà
(Ïðîäîëæèòåëüíîñòü).
3.
Êíîïêàìè èëè çàäàéòå æåëàåìîå âðåìÿ
ïðèãîòîâëåíèÿ.
Ñâåòèòñÿ ñòðåëêà èíäèêàòîðà Ïðîäîëæèòåëüíîñòü .
Ïî èñòå÷åíèè çàäàííîãî âðåìåíè â òå÷åíèå 2 ìèíóò
çâó÷èò ñèãíàë. Äóõîâîé øêàô âûêëþ÷àåòñÿ.
Ìèãàþò èíäèêàöèÿ “0.00” è ñòðåëêà
Ïðîäîëæèòåëüíîñòü .
Îòêëþ÷åíèå ñèãíàëà:
Íàæàòèåì ëþáîé êíîïêè