Духовые шкафы Electrolux EOB 9890 X - инструкция пользователя по применению, эксплуатации и установке на русском языке. Мы надеемся, она поможет вам решить возникшие у вас вопросы при эксплуатации техники.
Если остались вопросы, задайте их в комментариях после инструкции.
"Загружаем инструкцию", означает, что нужно подождать пока файл загрузится и можно будет его читать онлайн. Некоторые инструкции очень большие и время их появления зависит от вашей скорости интернета.

23
3
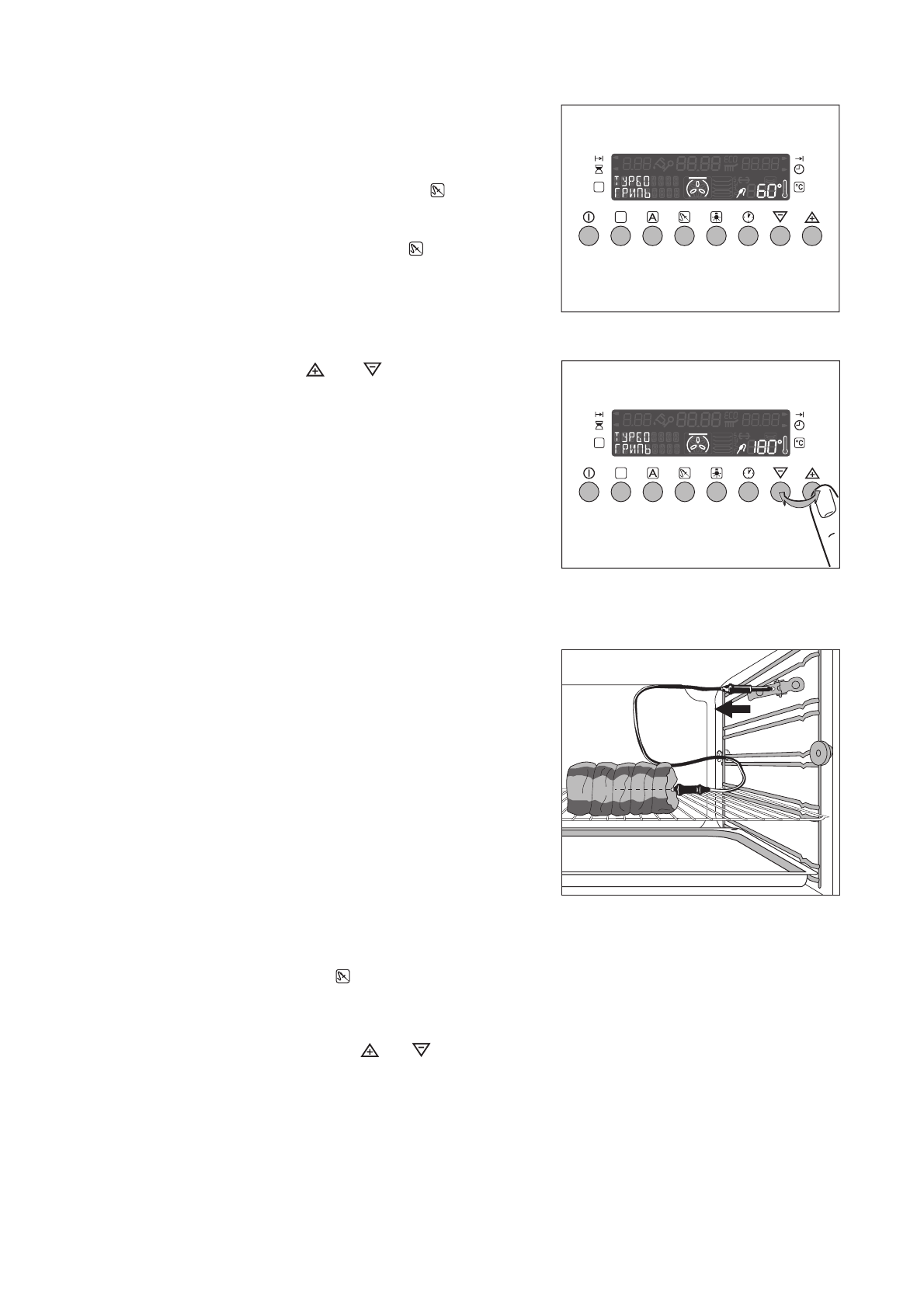
Èíäèêàöèÿ òåìïåðàòóðû âíóòðè ïðîäóêòà
íà÷èíàåòñÿ ñ 30°C
•
Åñëè ôàêòè÷åñêàÿ òåìïåðàòóðà âíóòðè ïðîäóêòà
îòîáðàæàåòñÿ íà äèñïëåå åùå äî âûáîðà íóæíîãî
ïàðàìåòðà, íàæìèòå êíîïêó òåðìîùóïà äëÿ ìÿñà
è óñòàíîâèòå ñîîòâåòñòâóþùèé ïàðàìåòð.
•
×òîáû çàäàòü òåìïåðàòóðó äóõîâîãî øêàôà,
äâàæäû íàæìèòå êíîïêó òåðìîùóïà äëÿ ìÿñà .
•
 òå÷åíèå 5 ñåêóíä êíîïêîé
èëè
çàäàéòå
íóæíóþ òåìïåðàòóðó äóõîâîãî øêàôà.
Ïî äîñòèæåíèè çàäàííîé âíóòðåííåé òåìïåðàòóðû
ïðîäóêòà íåìåäëåííî ðàçäàñòñÿ çâóêîâîé ñèãíàë, è
äóõîâîé øêàô àâòîìàòè÷åñêè îòêëþ÷èòñÿ.
5.
Äëÿ îòêëþ÷åíèÿ çâóêîâîãî ñèãíàëà äîñòàòî÷íî
íàæàòü ëþáóþ êíîïêó.
1
Ïðåäóïðåæäåíèå:
Òåðìîùóï äëÿ ìÿñà ñèëüíî
íàãðåâàåòñÿ! Âûíèìàÿ øòåêåð è êîíåö
òåðìîùóïà èç ïðîäóêòà, ìîæíî îáæå÷üñÿ!
6.
Èçâëåêèòå øòåêåð òåðìîùóïà èç ãíåçäà è âûíüòå
ïðîäóêò èç äóõîâîãî øêàôà.
7.
Âûêëþ÷èòå ïðèáîð.
Çàïðîñ è èçìåíåíèå òåìïåðàòóðû âíóòðè
ïðîäóêòà
–
Êíîïêîé òåðìîùóïà äëÿ ìÿñà ìîæíî ïî
æåëàíèþ âûâîäèòü íà äèñïëåé ôàêòè÷åñêóþ èëè
çàäàííóþ òåìïåðàòóðó âíóòðè ïðîäóêòà, ëèáî
çàäàííóþ òåìïåðàòóðó äóõîâîãî øêàôà.
–
Èçìåíèòü òåìïåðàòóðó ìîæíî êíîïêîé
èëè
.