Духовые шкафы Electrolux EOB 93450 BK (BX) - инструкция пользователя по применению, эксплуатации и установке на русском языке. Мы надеемся, она поможет вам решить возникшие у вас вопросы при эксплуатации техники.
Если остались вопросы, задайте их в комментариях после инструкции.
"Загружаем инструкцию", означает, что нужно подождать пока файл загрузится и можно будет его читать онлайн. Некоторые инструкции очень большие и время их появления зависит от вашей скорости интернета.

3. БҰЙЫМ СИПАТТАМАСЫ
3.1 Жалпы көрінісі
8
7
11
9
10
5
4
1
2
3
3
1
6
4
5
2
1
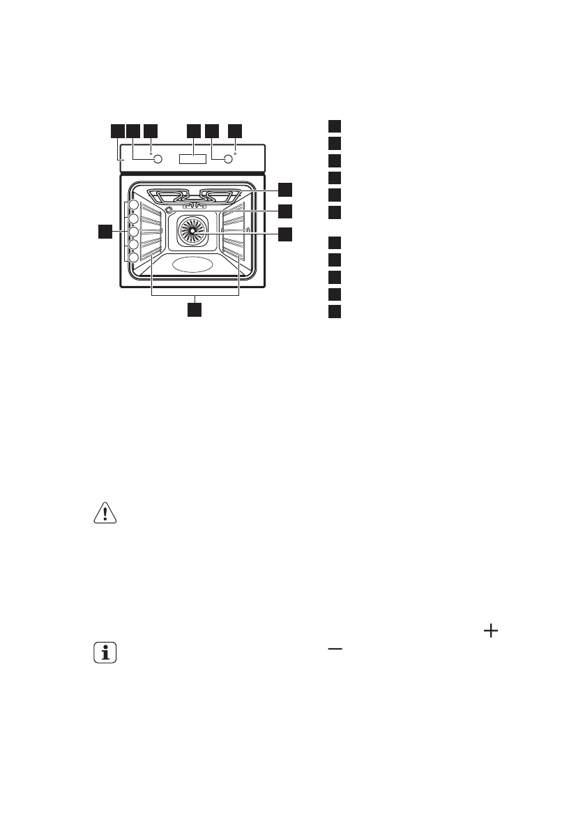
Басқару панелі
2
Тұмшапеш функцияларының тетігі
3
Қуат шамы / белгісі / индикатор
4
Электронды бағдарламалағыш
5
Температура тетігі
6
Температура шамы/белгішесі/
индикаторы
7
Қыздырғыш элемент
8
Шам
9
Желдеткіш
10
Сөренің алмалы сырғытпалары
11
Сөре деңгейлері
3.2 Керек-жарақтары
• Торкөз сөре
Ыдыс, торт қалыптарын қою, тағам
қуыруға арналған.
• Пісірме табақ
Торттар мен печеньелерге
арналған.
• Гриль- / Қуыру науасы
Пісіру мен қуыруға немесе май
жинайтын таба ретінде қолдануға
арналған.
• Сырғытпа жолдар
Сөрелер мен науаларға арналған.
4. БІРІНШІ ҚОЛДАНҒАНҒА ДЕЙІН
НАЗАРЫҢЫЗДА
БОЛСЫН!
Қауіпсіздік тарауларын
қараңыз.
4.1 Алғашқы тазалау
Құрылғыдан керек-жарақтардың
барлығын және алмалы сөре
сырғытпаларын алыңыз.
"Күту менен тазалау"
тарауын қараңыз.
Құрылғыны алғаш рет пайдаланар
алдында тазалаңыз.
Керек-жарақтарды және алмалы сөре
сырғытпаларын орындарына қойыңыз.
4.2 Уақытты орнату
Тұмшапешті іске қосар алдында
уақытты орнату керек.
Тәулік уақытының индикаторы
құрылғыны электр қуатына қосқан
кезде, тоқ сөніп қалғанда немесе
таймер орнатылмаған кезде
жыпылықтайды.
Дұрыс уақытты орнату үшін немесе
түймешігін басыңыз.
Шамамен бес секунд өткеннен кейін
жыпылықтау тоқтайды да, бейнебетте
сіз орнатқан тәулік уақыты көрсетіледі.
ҚАЗАҚ
7
Содержание
- 30 возможностями
- 31 Общие правила техники безопасности
- 32 УКАЗАНИЯ ПО БЕЗОПАСНОСТИ; электросети
- 34 Внутреннее освещение
- 35 ПЕРЕД ПЕРВЫМ ИСПОЛЬЗОВАНИЕМ; Установка времени
- 36 ЕЖЕДНЕВНОЕ ИСПОЛЬЗОВАНИЕ; Утапливаемые ручки; прибора; Режимы духового шкафа
- 39 ИСПОЛЬЗОВАНИЕ ДОПОЛНИТЕЛЬНЫХ; ПРИНАДЛЕЖНОСТЕЙ; направляющие; ДОПОЛНИТЕЛЬНЫЕ ФУНКЦИИ; Вентилятор охлаждения; термостат
- 40 Приготовление выпечных; блюд; Приготовление мяса и; рыбы; Время приготовления
- 41 Таблица выпечки и жарки
- 50 Высушивание – Горячий; воздух
- 51 Модели из нержавеющей; стали или алюминия; Очистка уплотнения; дверцы; Снятие направляющих; для противня; Потолок духового шкафа
- 52 духового шкафа
- 54 Задняя лампа; ПОИСК И УСТРАНЕНИЕ НЕИСПРАВНОСТЕЙ
- 55 обращения в сервис-центр
- 56 Крепление прибора к; мебели
- 57 ТЕХНИЧЕСКИЕ ДАННЫЕ; Технические данные; ОХРАНА ОКРУЖАЮЩЕЙ СРЕДЫ