Духовые шкафы AEG BSR882320B - инструкция пользователя по применению, эксплуатации и установке на русском языке. Мы надеемся, она поможет вам решить возникшие у вас вопросы при эксплуатации техники.
Если остались вопросы, задайте их в комментариях после инструкции.
"Загружаем инструкцию", означает, что нужно подождать пока файл загрузится и можно будет его читать онлайн. Некоторые инструкции очень большие и время их появления зависит от вашей скорости интернета.

Одновременная установка решетки и
эмалированного противня / сотейника:
Вставьте эмалированный противень /
сотейник между направляющими для
противня и решеткой на
направляющих выше.
Небольшой выступ
наверху повышает
безопасность. Выступы
также служат защитой от
опрокидывания. Высокий
ободок по периметру
решетки служит для
предотвращения
соскальзывания посуды с
решетки.
8.3 Телескопические
направляющие – установка
принадлежностей
Телескопические направляющие
облегчают установку и снятие полок.
ПРЕДУПРЕЖДЕНИЕ
Не мойте телескопические
направляющие в
посудомоечной машине.
Не смазывайте
телескопические
направляющие.
ПРЕДУПРЕЖДЕНИЕ
Обязательно полностью
задвиньте
телескопические
направляющие внутрь
прибора перед тем, как
закрыть дверцу духового
шкафа.
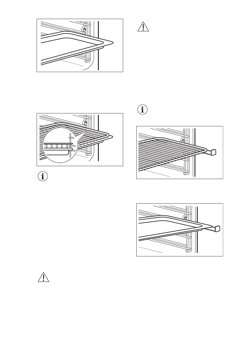
Решетка:
Установите решетку на
телескопические направляющие так,
чтобы ее опоры были направлены
вниз.
Высокий ободок решетки
предназначен для защиты
посуды от соскальзывания.
Противень для жарки:
Установите противень для жарки на
телескопические направляющие.
Одновременная установка решетки и
противня для жарки:
Установите решетку и противень для
жарки на телескопические
направляющие.
www.aeg.com
26
Характеристики
Остались вопросы?Не нашли свой ответ в руководстве или возникли другие проблемы? Задайте свой вопрос в форме ниже с подробным описанием вашей ситуации, чтобы другие люди и специалисты смогли дать на него ответ. Если вы знаете как решить проблему другого человека, пожалуйста, подскажите ему :)