Страница 10 - УКАЗАНИЯ ПО ТЕХНИКЕ БЕЗОПАСНОСТИ
10 УКАЗАНИЯ ПО ТЕХНИКЕ БЕЗОПАСНОСТИ Внимание! Оборудование и его доступные части на - греваются во время эксплуатации. Всегда следует пом - нить, что существует опасность травмы, при прикосно - вении к нагревательным элементам. Поэтому, во время работы оборудования - быть особо бдительными! Дети мла...
Страница 11 - Для исключения возможности поражения
11 Особое внимание следует обратить на де - тей около плиты. Прямой контакт с работаю - щей плитой грозит ожогом! Необходимо следить, чтобы мелкое ку - хонное оборудование и провода не сопри - касались с нагретой духовкой и варочной поверхностью, поскольку изоляция этого оборудования не рассчита...
Страница 12 - ОПИСАНИЕ УСТРОЙСТВА
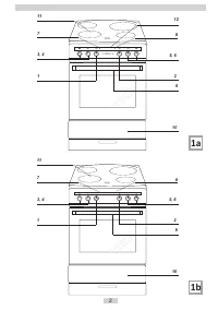
12 Конфорки керамическoй плиты FCC* - Рис 2a / 2b . 1a Оснащение плиты - перечень:3a Поддон для выпечки* 3b Решетка для гриля (решетка для сушки) 3c Поддон для жарки* 3d Вертел –и вилки* 3e Боковые лестнички *для определенных моделей ОПИСАНИЕ УСТРОЙСТВА 1 Ручка регулятора температуры духовки 2 Ручка...
Страница 13 - МОНТАЖ
13 МОНТАЖ Установка плиты Кухонное помещение должно быть сухим и проветриваемым, иметь исправную венти - ляцию, а расположение плиты должно обе - спечивать свободный доступ ко всем эле - ментам управления. Плита с одной стороны может соседствовать с высоким предметом или стеной. Фурниту - ра для...
Страница 14 - ЭКСПЛУАТАЦИЯ
14 ЭКСПЛУАТАЦИЯ Перед первым включением плиты ● удалить части упаковки, ● аккуратно (медленно) удалить этикетки с дверок духовки, ● освободить ящик, очистить камеру духовки от заводских средств консервации, ● вынуть содержимое духовки и промыть в теплой воде с добавлением жидкости для мытья посуды, ...
Страница 15 - Возможные положения ручки
15 Внимание! В моделях плиты, не оборудованных грилем, символ на ручке управления отсутствует. Возможные положения ручки Автономное освещение духовки Установив ручк у в это пол ожение, м ы в к л юч а е м о с в е ще н и е к а м е р ы духовки. Используется, например, при мытье камеры. Включены верхний...
Страница 19 - ПРИГОТОВЛЕНИЕ ПИЩИ В ДУХОВКЕ - ПРАКТИЧЕСКИЕ СОВЕТЫ
19 ПРИГОТОВЛЕНИЕ ПИЩИ В ДУХОВКЕ - ПРАКТИЧЕСКИЕ СОВЕТЫ Выпечка Рекомендуется выпекать пироги на поддо - нах, являющихся заводской комплектацией плиты, Выпечку можно производить в формах и на поддонах промышленного производства, ко - торые ставятся на боковые направляющие. Для приготовления продук...
Страница 22 - ОБСЛУЖИВАНИЕ И УХОД
22 ОБСЛУЖИВАНИЕ И УХОД Для мытья эмалированных поверхностей следу - ет использовать жидкости с мягким действием. Нельзя употреблять чистящие средства с абра - зивными свойствами, такие, как чистящие по - рошки с абразивами, абразивные пасты, абра - зивные камни, пемзу, металлические мочалки и т.п. П...
Страница 24 - ТЕХНИЧЕСКИЕ ДАННЫЕ; Производитель свидетельствует
24 ПРОБЛЕМА ПРИЧИНА ДЕЙСТВИЯ 1. Электрика не работает Отсутствие питания Проверить предохранитель, перегоревший заменить 2. Дисплей таймера показыва - ет „0.00” Прибор был отключен от сети или временно пропало напряжение Установить текущее время (см. Инструкция по эксплуатации таймера) 3.Не работает...
Страница 41 - ЯК ЗАОЩАДЖУВАТИ ЕЛЕКТРОЕНЕРГІЮ
41 Плита «Hansa» поєднує в собі такі властивості, як виключна простота використання і стовідсоткова ефективність. Після ознайомлення з інструкцією, у Вас не виникне труднощів щодо обслуговування плити. Плита, перед випуском з заводу та упакуванням була ретельно перевірена на спеціальних стендах на п...
Страница 57 - CUM SA ECONOMISITI ENERGIE
57 Acest Hansa produs este usor de utilizat si este foarte eficient. Dupa citirea acestui manual, utilizarea aparatului va fi foarte usoara. Inainte de a fi ambalat si de a parasi fabrica, aparatul a fost verificat din punct de vedere al sigurantei si al functionalitatii. Inainte de a utiliza aparat...