Страница 8 - УКАЗАНИЯ ПО ТЕХНИКЕ БЕЗОПАСНОСТИ
8 УКАЗАНИЯ ПО ТЕХНИКЕ БЕЗОПАСНОСТИ Внимание! Оборудование и его доступные части на - греваются во время эксплуатации. Всегда следует пом - нить, что существует опасность травмы, при прикосно - вении к нагревательным элементам. Поэтому, во время работы оборудования - быть особо бдительными! Дети млад...
Страница 9 - Для исключения возможности поражения
9 Особое внимание следует обратить на де - тей около плиты. Прямой контакт с работаю - щей плитой грозит ожогом! Необходимо следить, чтобы мелкое ку - хонное оборудование и провода не сопри - касались с нагретой духовкой и варочной поверхностью, поскольку изоляция этого оборудования не рассчитан...
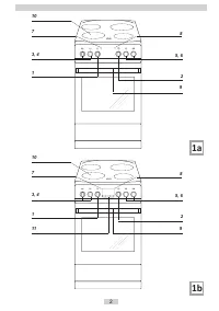
Страница 10 - ОПИСАНИЕ УСТРОЙСТВА
10 Конфорки керамическoй плиты FCC* - Рис 2a 1a Оснащение плиты - перечень:3a Поддон для выпечки* 3b Решетка для гриля (решетка для сушки) 3c Поддон для жарки* 3e Боковые лестнички *для определенных моделей ОПИСАНИЕ УСТРОЙСТВА 1 Ручка регулятора температуры духов - ки 2 Ручка выбора функции духовки ...
Страница 11 - МОНТАЖ
11 МОНТАЖ Установка плиты Кухонное помещение должно быть сухим и проветриваемым, иметь исправную венти - ляцию, а расположение плиты должно обе - спечивать свободный доступ ко всем эле - ментам управления. Плита с одной стороны может соседство - вать с высоким предметом или стеной. Фурнитура для...
Страница 12 - ЭКСПЛУАТАЦИЯ
12 ЭКСПЛУАТАЦИЯ Перед первым включением плиты ● удалить части упаковки, ● аккуратно (медленно) удалить этикетки с дверок духовки, ● освободить ящик, очистить камеру духовки от заводских средств консервации, ● вынуть содержимое духовки и промыть в теплой воде с добавлением жидкости для мытья посуды, ...
Страница 14 - ПРИГОТОВЛЕНИЕ ПИЩИ В ДУХОВКЕ - ПРАКТИЧЕСКИЕ СОВЕТЫ; Функция нагрева ЭКО
14 ПРИГОТОВЛЕНИЕ ПИЩИ В ДУХОВКЕ - ПРАКТИЧЕСКИЕ СОВЕТЫ Выпечка Рекомендуется выпекать пироги на поддо - нах, являющихся заводской комплектацией плиты, Выпечку можно производить в формах и на поддонах промышленного производства, ко - торые ставятся на боковые направляющие. Для приготовления продук...
Страница 16 - ТЕСТОВЫЕ БЛЮДА В соответствии со стандартом EN 60350-1.
16 Внимание! Параметры, приведенные в таблицах являются справочными и могут изменяться в зависимости от Ваших кулинарных пристрастий и опыта. ТЕСТОВЫЕ БЛЮДА В соответствии со стандартом EN 60350-1. Вид блюда Аксессуары Уровень Функция нагрева Темпера- тура ( 0 C) Время вы- пекания 2) (мин.) Мелкие и...
Страница 18 - ОБСЛУЖИВАНИЕ И УХОД
18 ОБСЛУЖИВАНИЕ И УХОД Для мытья эмалированных поверхностей следу - ет использовать жидкости с мягким действием. Нельзя употреблять чистящие средства с абра - зивными свойствами, такие, как чистящие по - рошки с абразивами, абразивные пасты, абра - зивные камни, пемзу, металлические мочалки и т.п. П...
Страница 19 - ПОВЕДЕНИЕ В АВАРИЙНЫХ СИТУАЦИЯХ
19 Периодический осмотр Помимо действий, необходимых для поддержа - ния плиты в чистоте, следует: проводить периодические проверки работы элементов управления и рабочих групп пли - ты. После истечения гарантийного срока, минимум раз в два года, следует произво - дить осмотр технического состояния ...
Страница 20 - ТЕХНИЧЕСКИЕ ДАННЫЕ; Производитель свидетельствует
20 ПРОБЛЕМА ПРИЧИНА ДЕЙСТВИЯ 1. Электрика не работает Отсутствие питания Проверить предохранитель, перегоревший заменить 2.Не работает освещение духовки Лампа вывернута или пере - горела Подкрутить или заменить лам - пу (см. Раздел Чистка и содер - жание плиты) ТЕХНИЧЕСКИЕ ДАННЫЕ Номинальное напряже...
Страница 21 - CUM SA ECONOMISITI ENERGIE
21 Acest Hansa produs este usor de utilizat si este foarte eficient. Dupa citirea acestui manual, utilizarea aparatului va fi foarte usoara. Inainte de a fi ambalat si de a parasi fabrica, aparatul a fost verificat din punct de vedere al sigurantei si al functionalitatii. Inainte de a utiliza aparat...
Страница 52 - OPIS UREĐAJA
52 FCC*: Crt. 2a 1a Принадлежности към печката – комплект:3a Поддон для выпечки* 3b Поддон для жарки* 3c Решетка для гриля (решетка для сушки) * *opcionalan OPIS UREĐAJA 1 komandno dugme za podešavanje temperature 2 dugme za odabir funkcija rerne 3,4,5,6 komande za grejne zone 7 signalna lampica za ...