Страница 2 - Используемые обозначения; ПРИ МЕ ЧА НИЕ; Свидетельство о приемке; Содержание
Используемые обозначения ВНИМАНИЕ! Требования, несоблюдение которых может при-вести к тяжелой травме или серьезному по-вреждению оборудования. ОС ТО РОЖ НО! Требования, несоблюдение которых может при-вести к серьезной травме или летальному исходу. ПРИ МЕ ЧА НИЕ 1. В тексте данной инструкции тепловые...
Страница 4 - Устройство и принцип работы прибора; Устройство и принцип работы
4 Устройство и принцип работы прибора ях с температурой окружающего воздуха от -30 °С до +60 °С и относительной влажности воздуха не более 80% (при температуре +25 °С) в условиях, исключающих попадание на нее капель и брызг, а также атмосферных осадков (климатическое ис-полнение УХЛ4 по ГОСТ 15150...
Страница 5 - Технические характеристики
5 Технические характеристики Технические характеристики Параметр/Модель** BHC-B10W10-PS ВНС-B15W15-PS Напряжение питания, В~Гц 220 ~ 50 220 ~ 50 Номинальная тепловая мощность при t 95/70/15, кВт 8,0 14,0 Мощность в режиме вентиляции, Вт 100 120 Номинальный ток, А 0,4 0,5 Максимальное количество заве...
Страница 6 - • Перед проведением монтажных работ необхо-; Размещение завесы; Вертикальная установка; Схема задней пластины завес для; Монтаж завесы
6 Монтаж завесы ВНИМАНИЕ! • Перед проведением монтажных работ необхо- димо ознакомиться с разделом «Меры безопас-ности» настоящей инструкции. • К монтажу и техническому обслуживанию завес допускаются лица, изучившие их устройство, правила монтажа и эксплуатации, и прошедшие инструктаж по соблюдению ...
Страница 7 - Модель; Крепежные размеры для кронштейнов; Монтаж завесы на кронштейны; Расположение кронштейнов для вертикальной установки
7 Монтаж завесы Модель Размеры, мм А1 A2 B1 L A B C D E F BHC-B10W10-PS 130 160 825 1085 935 75 40 135 240 215 BHC-B15W15-PS 150 180 1200 1500 1350 75 40 135 240 215 E F 30 A1 B1 41 135 A2 B1 L 51 105 30 135 A2 B1 30 B1 F L A2 70 77 Крепежные размеры для кронштейнов Монтаж завесы на кронштейны Распо...
Страница 8 - Инструкция по установке завес:; Закрепить кронштейны к несущей конструкции, согласно размерам
8 Монтаж завесы Схема крепления завесы горизонтально над проемом к стене с помощью кронштейнов 1. Закрепить кронштейны к несущей конструкции 2. Вкрутить наполовину 4 болта в резьбовые отверстия завесы 3. Навесить завесу на крон-штейны 4. Затянуть накидным ключом с трещёткой все болты Инструкция по у...
Страница 10 - Тепловая завеса
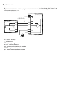
10 Монтаж завесы Подключение тепловых завес с водяным источником тепла BHC-B10W10-PS; BHC-B15W15-PS к контроллеру (пульту) NTL. М1 - электродвигатель;C1 - конденсатор;SK2 - терморегулятор; ХТ1, XT2 - колодка клеммная;SA1 - переключатель режимов вентиляции;SА2, SA3 - переключатели режимов нагрева;YA1...
Страница 11 - Подключение пульта NTL; Управление прибором; Для включения завесы в режим вен-
11 Управление прибором ВНИМАНИЕ! Есть возможность подключения электромагнитно-го клапана вентиля к пульту NTL Номинальный ток клапана не должен превышать 0,5 А. ВНИМАНИЕ! Приведенные схемы электрические принципи-альные подразумевают подключение электро-привода двух/трехходового клапана с наличием во...
Страница 12 - Поиск и устранение неисправностей
12 Поиск и устранение неисправностей 1-переключатель управления вентиляторами;2,3-переключатели режимов мощности;4-терморегулятор. Работа завесы с подключенным теплоносителемВключение. Откройте вентиль (вентили) для подвода теплоносителя к теплообменнику. Для работы в режиме обогрева необходимо вклю...
Страница 13 - Комплектация
13 Уход и обслуживание Уход и обслуживание ВНИМАНИЕ! Обслуживание и ремонт прибора должен произ-водиться только при отключенной подаче тепло-носителя и полном снятии напряжения питания.К монтажу и техническому обслуживанию тепло-вых завес допускаются лица, изучившие их устрой-ство, правила монтажа и...
Страница 14 - Сделано в России
14 Утилизация Утилизация По истечении срока службы прибор должен под-вергаться утилизации в соответствии с нормами, правилами и способами, действующими в месте утилизации. Не выбрасывайте прибор вместе с бытовыми отходами. По истечении срока службы прибора, сдавайте его в пункт сбора для утилиза-ции...
Страница 15 - Приложение; При
15 Приложение При ло ж ение Д ополни те льные т ехни ческие хар ак терис тики Изделие BHC-B10W10-PS Темпера тура во ды на вх од е/вых од е, °С 60/40 80/60 82/71 95/70 105/70 130/70 150/70 Темпера тура возд уха вх од е, °С 0 5 10 15 20 0 5 10 15 20 20 0 5 10 15 20 0 5 10 15 20 0 5 10 15 20 0 5 10 15 ...
Страница 17 - ГАРАНТИЙНЫЙ ТАЛОН; ТИП
ГАРАНТИЙНЫЙ ТАЛОН Настоящий документ не ограничивает определенные законом права потребителей,но дополняет и уточняет оговоренные законом обязательства, предполагающие соглашение сторон либо договор ТИП Срок службы Сплит-системы, мобильные кондиционеры, осушители, электрические обогреватели (конвекто...
Страница 18 - Настоящая гарантия не распространяется на:
Настоящая гарантия распространяется на произ-водственный или конструкционный дефект изделия Выполнение уполномоченным сервисным центром ре- монтных работ и замена дефектных деталей изделия про-изводятся в сервисном центре или у Покупателя (по усмо-трению сервисного центра). Гарантийный ремонт издели...
Страница 19 - Особые условия эксплуатации кондиционеров; В обязательном порядке при эксплуатации ультразву-
• неправильного хранения изделия;• необходимости замены ламп, фильтров, элементов пита- ния, аккумуляторов, предохранителей, а также стеклян-ных/фарфоровых/матерчатых и перемещаемых вручную деталей и других дополнительных быстроизнашиваю-щихся/сменных деталей изделия, которые имеют соб-ственный огра...
Страница 20 - Памятка по уходу за кондиционером:
2. Перед началом эксплуатации воздухоочистителя извле- ките фильтры из упаковки. Для нормального распреде-ления очищенного воздуха по объему помещения не устанавливайте воздухоочиститель в воздушном потоке (на сквозняке, перед вентилятором и т. д.). Повреждение фильтра может привести к снижению эффе...
Страница 21 - сохраняется у клиента; УНИВЕРСАЛЬНЫЙ ОТРЫВНОЙ ТАЛОН; УНИВЕРСАЛЬНЫЙ ОТРЫВНОЙ ТАЛОН
ГАРАНТИЙНЫЙ ТАЛОН сохраняется у клиента ГАРАНТИЙНЫЙ ТАЛОН сохраняется у клиента Заполняется продавцом Заполняется продавцом Модель _____________________________________ Серийный номер ____________________________ Дата продажи _______________________________ Название продавца ________________________...