Акустика Yamaha NS-SW310 - инструкция пользователя по применению, эксплуатации и установке на русском языке. Мы надеемся, она поможет вам решить возникшие у вас вопросы при эксплуатации техники.
Если остались вопросы, задайте их в комментариях после инструкции.
"Загружаем инструкцию", означает, что нужно подождать пока файл загрузится и можно будет его читать онлайн. Некоторые инструкции очень большие и время их появления зависит от вашей скорости интернета.

Ita
liano
3
It
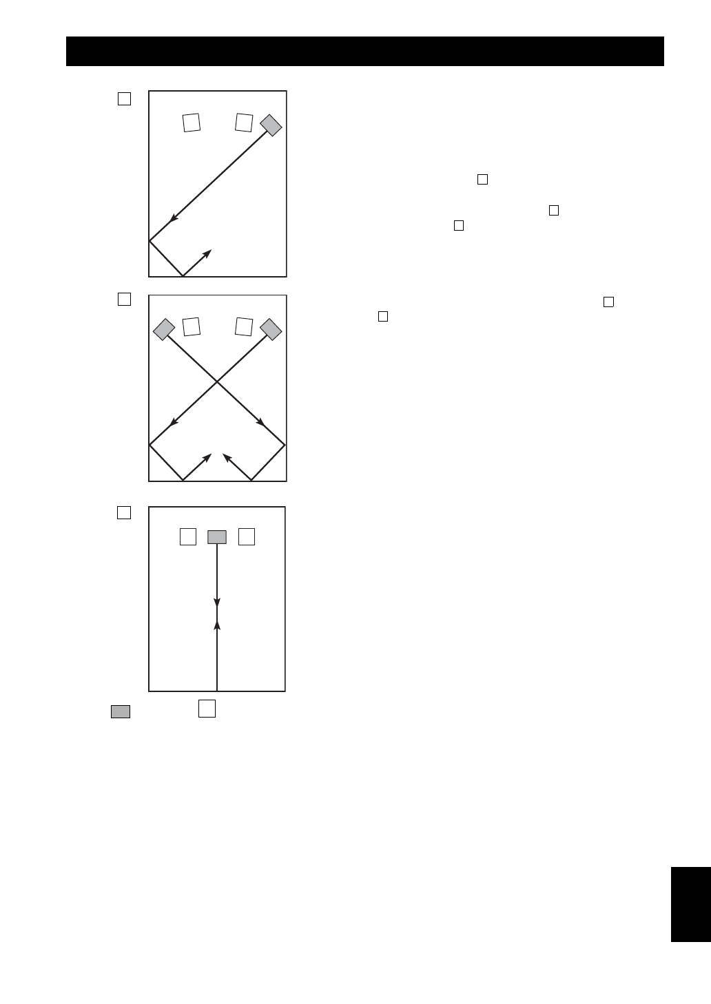
Il sistema audio avrà delle buone prestazioni con un
subwoofer, tuttavia, si consiglia di utilizzarne due per
ottenere maggiore effetto.
Se si utilizza un solo subwoofer, si consiglia di
posizionarlo fuori dall’altoparlante anteriore di destra o di
sinistra. (Vedere fig.
.) Se si utilizzano due subwoofer, si
consiglia di posizionarli esternamente a ciascun
altoparlante anteriore. (Vedere fig.
.) Il posizionamento
illustrato in fig.
è anche possibile; tuttavia, se il sistema
di subwoofer viene posizionato direttamente rivolto verso
la parete l’effetto dei bassi può essere compromesso a
causa della cancellazione di suoni diretti e riflessi. Per
evitare che accada questo, posizionare il sistema di
subwoofer in un angolo come riportato in fig.
oppure
.
Nota
È possibile che non si riesca a ottenere suoni super-bass
dal subwoofer quando l’ascolto avviene al centro di un
ambiente. Questo è dovuto al fatto che si sono
sviluppate “onde stazionarie” tra due pareti parallele
che annullano i suoni di basso.
In tal caso, posizionare il subwoofer in un angolo
obliquo alla parete. Potrebbe essere necessario inoltre
interrompere le superficie parallele posizionando delle
librerie o altri oggetti lungo le pareti.
POSIZIONAMENTO
A
B
C
(
: subwoofer,
: altoparlante anteriore)
A
B
C
A
B
Содержание
- 131 СОДЕРЖАНИЕ
- 133 Примечание; РАСПОЛОЖЕНИЕ
- 134 ЭЛЕМЕНТЫ УПРАВЛЕНИЯ И ИХ ФУНКЦИИ
- 135 ПРЕДУПРЕЖДЕНИЕ
- 136 Примечания; Использование одного сабвуфера; ПОДКЛЮЧЕНИЕ; Подключение к клеммам линейного выхода (контактным гнездам)
- 137 Использование двух сабвуферов
- 138 Использование одного сабвуфера (с кабелями акустических систем)
- 140 Перед подключением; Правильно Неправильно
- 141 ФУНКЦИЯ АВТОМАТИЧЕСКОГО ПЕРЕКЛЮЧЕНИЯ; Настройка переключателя AUTO STANDBY
- 142 РЕГУЛИРОВКА САБВУФЕРА ПЕРЕД
- 143 Частотные характеристики данного сабвуфера; Частотные характеристики
- 145 ПОИСК И УСТРАНЕНИЕ НЕИСПРАВНОСТЕЙ
- 146 ТЕХНИЧЕСКИЕ ХАРАКТЕРИСТИКИ



