Акустика Yamaha NS-SW310 - инструкция пользователя по применению, эксплуатации и установке на русском языке. Мы надеемся, она поможет вам решить возникшие у вас вопросы при эксплуатации техники.
Если остались вопросы, задайте их в комментариях после инструкции.
"Загружаем инструкцию", означает, что нужно подождать пока файл загрузится и можно будет его читать онлайн. Некоторые инструкции очень большие и время их появления зависит от вашей скорости интернета.

Fra
nça
is
3
Fr
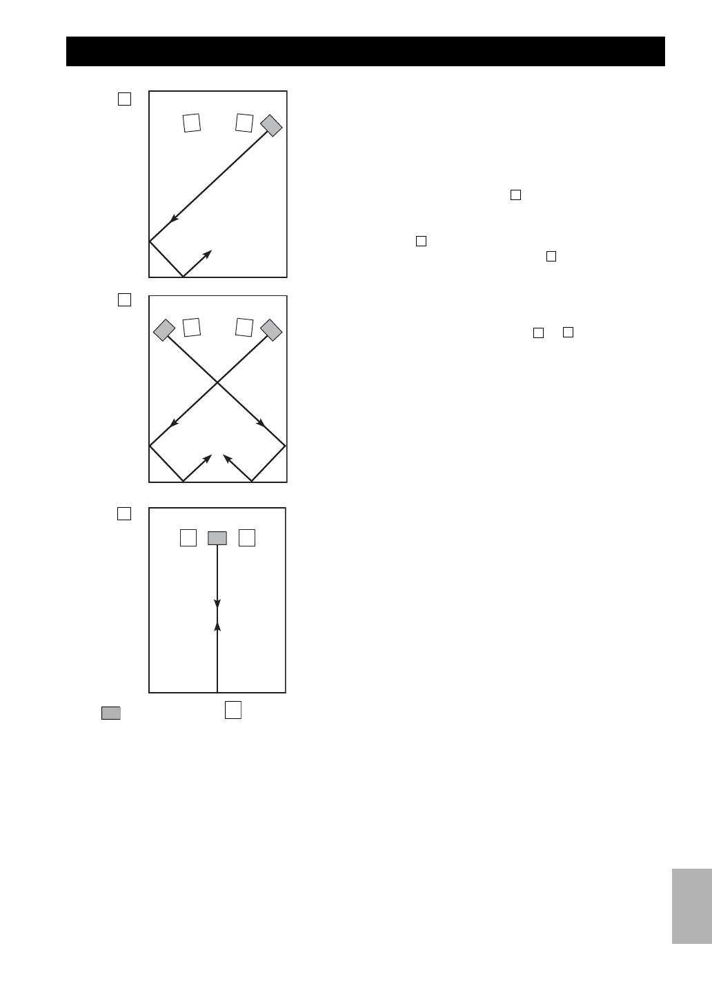
L’utilisation d’un seul caisson de graves sur une chaîne hi-
fi donne déjà de bons résultats ; nous vous recommandons
toutefois d’utiliser deux caissons de graves pour accroître
l’effet sonore.
Si vous n’utilisez qu’un seul caisson de graves, placez-le
sur le côté extérieur de l’enceinte avant droite ou gauche.
(Reportez-vous au schéma
.) Si vous utilisez deux
caissons de graves, placez-les sur le côté extérieur de
chacune des enceintes avant. (Reportez-vous au
schéma
.) Il est également possible de positionner les
enceintes indiqué dans le schéma . Néanmoins, si le
caisson de graves est placé directement contre le mur, il est
possible que l’effet de grave soit amoindri car le son direct
et le son renvoyé s’annulent mutuellement. Pour éviter ce
problème, placez le caisson de graves dans un angle,
comme indiqué dans le schéma ou .
Remarque
Il est possible que vous ne perceviez pas les sons de très
basses fréquences du caisson de graves, notamment si
vous vous trouvez au milieu de la pièce. Les « ondes
stationnaires » générées entre deux murs parallèles
peuvent en effet annuler les graves.
Le cas échéant, placez le caisson de graves à un angle
oblique par rapport au mur. Il peut également être
nécessaire de rompre les surfaces parallèles en plaçant
des étagères ou autres objets le long des murs.
DISPOSITION
A
B
C
(
: caisson de graves,
: enceintes avant)
A
B
C
A
B
Содержание
- 131 СОДЕРЖАНИЕ
- 133 Примечание; РАСПОЛОЖЕНИЕ
- 134 ЭЛЕМЕНТЫ УПРАВЛЕНИЯ И ИХ ФУНКЦИИ
- 135 ПРЕДУПРЕЖДЕНИЕ
- 136 Примечания; Использование одного сабвуфера; ПОДКЛЮЧЕНИЕ; Подключение к клеммам линейного выхода (контактным гнездам)
- 137 Использование двух сабвуферов
- 138 Использование одного сабвуфера (с кабелями акустических систем)
- 140 Перед подключением; Правильно Неправильно
- 141 ФУНКЦИЯ АВТОМАТИЧЕСКОГО ПЕРЕКЛЮЧЕНИЯ; Настройка переключателя AUTO STANDBY
- 142 РЕГУЛИРОВКА САБВУФЕРА ПЕРЕД
- 143 Частотные характеристики данного сабвуфера; Частотные характеристики
- 145 ПОИСК И УСТРАНЕНИЕ НЕИСПРАВНОСТЕЙ
- 146 ТЕХНИЧЕСКИЕ ХАРАКТЕРИСТИКИ



