Акустика Yamaha NS-SW310 - инструкция пользователя по применению, эксплуатации и установке на русском языке. Мы надеемся, она поможет вам решить возникшие у вас вопросы при эксплуатации техники.
Если остались вопросы, задайте их в комментариях после инструкции.
"Загружаем инструкцию", означает, что нужно подождать пока файл загрузится и можно будет его читать онлайн. Некоторые инструкции очень большие и время их появления зависит от вашей скорости интернета.

Sv
ens
ka
3
Sv
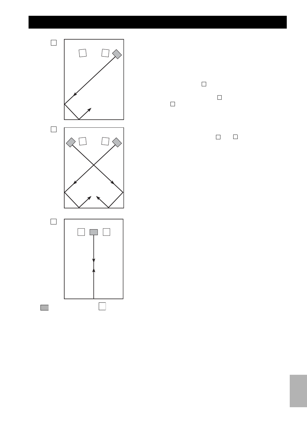
En subwooferhögtalare är tillräcklig för att ge ett basljud
med god effekt i en ljudanläggning. Vi rekommenderar
dock användning av två subwooferhögtalare för att
ytterligare förstärka baseffekten.
När en subwooferhögtalare används, rekommenderas det
att den placeras utanför antingen höger eller vänster främre
högtalare. (Se fig.
.) När två subwooferhögtalare
används, rekommenderas det att de placeras utanför varje
främre högtalare. (Se fig. .) Placeringen som visas i
fig. är också möjlig, men om subwoofersystemet
placeras direkt riktad mot väggen kan baseffekten möjligen
försvinna, därför att högtalarens eget ljud och ljudet som
reflekteras mot väggen kan upphäva varandra. För att
undvika att detta händer, rikta subwooferhögtalaren i en
vinkel så som visas i fig.
eller .
Observera
Det kan hända att du inte får tillräckligt djup bas med
subwooferhögtalaren när du lyssnar i mitten av
rummet. Detta beror på att ”stående vågor” har
utvecklats mellan två parallella väggar och därför
eliminerar basljudet.
Rikta i så fall subwooferhögtalaren snett mot väggen.
Det kan också vara nödvändigt att bryta upp
parallelliteten mellan ytorna genom att placera
bokhyllor e.dyl. utefter väggarna.
PLACERING
A
B
C
(
: subwooferhögtalare,
: främre högtalare)
A
B
C
A
B
Содержание
- 131 СОДЕРЖАНИЕ
- 133 Примечание; РАСПОЛОЖЕНИЕ
- 134 ЭЛЕМЕНТЫ УПРАВЛЕНИЯ И ИХ ФУНКЦИИ
- 135 ПРЕДУПРЕЖДЕНИЕ
- 136 Примечания; Использование одного сабвуфера; ПОДКЛЮЧЕНИЕ; Подключение к клеммам линейного выхода (контактным гнездам)
- 137 Использование двух сабвуферов
- 138 Использование одного сабвуфера (с кабелями акустических систем)
- 140 Перед подключением; Правильно Неправильно
- 141 ФУНКЦИЯ АВТОМАТИЧЕСКОГО ПЕРЕКЛЮЧЕНИЯ; Настройка переключателя AUTO STANDBY
- 142 РЕГУЛИРОВКА САБВУФЕРА ПЕРЕД
- 143 Частотные характеристики данного сабвуфера; Частотные характеристики
- 145 ПОИСК И УСТРАНЕНИЕ НЕИСПРАВНОСТЕЙ
- 146 ТЕХНИЧЕСКИЕ ХАРАКТЕРИСТИКИ



