Акустика Yamaha NS-SW310 - инструкция пользователя по применению, эксплуатации и установке на русском языке. Мы надеемся, она поможет вам решить возникшие у вас вопросы при эксплуатации техники.
Если остались вопросы, задайте их в комментариях после инструкции.
"Загружаем инструкцию", означает, что нужно подождать пока файл загрузится и можно будет его читать онлайн. Некоторые инструкции очень большие и время их появления зависит от вашей скорости интернета.

En
gli
sh
3
En
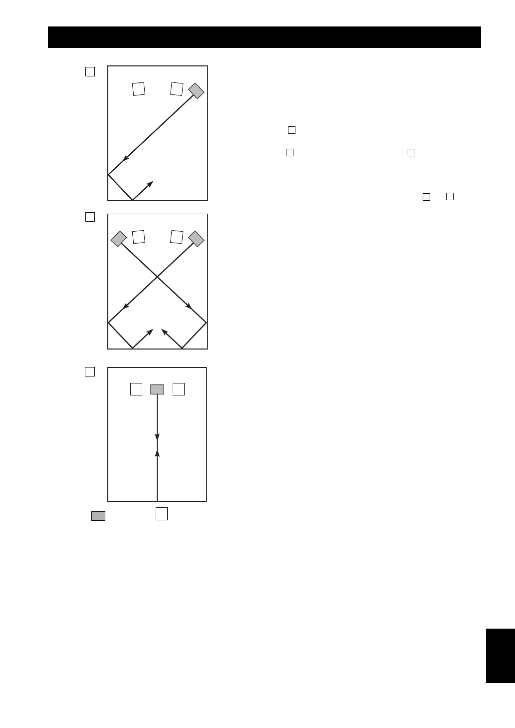
One subwoofer will have a good effect on your audio
system, however, the use of two subwoofers is
recommended to obtain more effect.
If using one subwoofer, it is recommended to place it on
the outside of either the right or the left front speaker. (See
fig.
.) If using two subwoofers, it is recommended to
place them on the outside of each front speaker. (See
fig.
.) The placement shown in fig.
is also possible,
however, if the subwoofer is placed directly facing the
wall, the bass effect may suffer due to cancellation of direct
and reflected sounds. To prevent this from happening,
place the subwoofer at an angle, as in fig.
or
.
Note
There may be a case that you cannot obtain enough
super-bass sounds from the subwoofer when listening
in the center of the room. This is because “standing
waves” have developed between two parallel walls and
cancel the bass sounds.
In such a case, place the subwoofer at an oblique angle
to the wall. It also may be necessary to break up the
parallel surfaces by placing bookshelves, etc. along the
walls.
PLACEMENT
A
B
C
(
: subwoofer,
: front speaker)
A
B
C
A
B
Содержание
- 131 СОДЕРЖАНИЕ
- 133 Примечание; РАСПОЛОЖЕНИЕ
- 134 ЭЛЕМЕНТЫ УПРАВЛЕНИЯ И ИХ ФУНКЦИИ
- 135 ПРЕДУПРЕЖДЕНИЕ
- 136 Примечания; Использование одного сабвуфера; ПОДКЛЮЧЕНИЕ; Подключение к клеммам линейного выхода (контактным гнездам)
- 137 Использование двух сабвуферов
- 138 Использование одного сабвуфера (с кабелями акустических систем)
- 140 Перед подключением; Правильно Неправильно
- 141 ФУНКЦИЯ АВТОМАТИЧЕСКОГО ПЕРЕКЛЮЧЕНИЯ; Настройка переключателя AUTO STANDBY
- 142 РЕГУЛИРОВКА САБВУФЕРА ПЕРЕД
- 143 Частотные характеристики данного сабвуфера; Частотные характеристики
- 145 ПОИСК И УСТРАНЕНИЕ НЕИСПРАВНОСТЕЙ
- 146 ТЕХНИЧЕСКИЕ ХАРАКТЕРИСТИКИ



