Акустика Yamaha NS-SW310 - инструкция пользователя по применению, эксплуатации и установке на русском языке. Мы надеемся, она поможет вам решить возникшие у вас вопросы при эксплуатации техники.
Если остались вопросы, задайте их в комментариях после инструкции.
"Загружаем инструкцию", означает, что нужно подождать пока файл загрузится и можно будет его читать онлайн. Некоторые инструкции очень большие и время их появления зависит от вашей скорости интернета.

N
ede
rla
nds
3
Nl
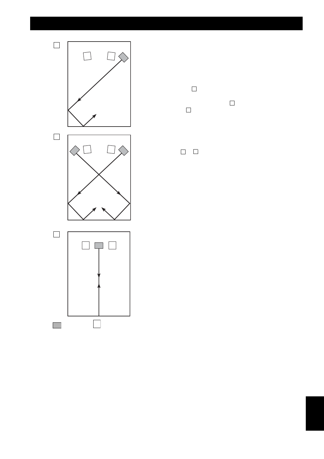
Met één subwoofer kunt u de weergave van uw
audiosysteem al aanzienlijk verbeteren, maar wij bevelen
het gebruik van twee subwoofers aan om een beter effect te
verkrijgen.
Als u één subwoofer gebruikt, plaats hem dan bij voorkeur
aan de buitenzijde van de rechter of linker voorluidspreker.
(Zie afb. .) Als u twee subwoofers gebruikt, plaats die
dan bij voorkeur aan de buitenzijde van elke
voorluidspreker. (Zie afb.
.) De opstelling weergegeven
in afb.
is ook mogelijk. Wanneer het subwoofersysteem
echter rechtstreeks in de richting van de muur wordt
geplaatst, bestaat de kans dat het baseffect daaronder lijdt
doordat directe en weerkaatste geluiden worden
uitgeschakeld. Om dit te voorkomen, dient u het
subwoofersysteem schuin te plaatsen, zoals aangegeven in
afb. of .
Opmerking
Het is mogelijk dat de subwoofer onvoldoende ultralage
tonen produceert wanneer u in het midden van de
kamer luistert. Dit komt doordat er zich "staande
golven" hebben ontwikkeld tussen twee parallel
staande muren waardoor de lage tonen wegvallen.
Stel in dit geval de subwoofer schuin ten opzichte van
de muur op. Het kan ook nodig zijn evenwijdige
oppervlakken te doorbreken door bijvoorbeeld
boekenplanken tegen de muren te plaatsen.
OPSTELLING
A
B
C
(
: subwoofer,
: voorluidspreker)
A
B
C
A
B
Содержание
- 131 СОДЕРЖАНИЕ
- 133 Примечание; РАСПОЛОЖЕНИЕ
- 134 ЭЛЕМЕНТЫ УПРАВЛЕНИЯ И ИХ ФУНКЦИИ
- 135 ПРЕДУПРЕЖДЕНИЕ
- 136 Примечания; Использование одного сабвуфера; ПОДКЛЮЧЕНИЕ; Подключение к клеммам линейного выхода (контактным гнездам)
- 137 Использование двух сабвуферов
- 138 Использование одного сабвуфера (с кабелями акустических систем)
- 140 Перед подключением; Правильно Неправильно
- 141 ФУНКЦИЯ АВТОМАТИЧЕСКОГО ПЕРЕКЛЮЧЕНИЯ; Настройка переключателя AUTO STANDBY
- 142 РЕГУЛИРОВКА САБВУФЕРА ПЕРЕД
- 143 Частотные характеристики данного сабвуфера; Частотные характеристики
- 145 ПОИСК И УСТРАНЕНИЕ НЕИСПРАВНОСТЕЙ
- 146 ТЕХНИЧЕСКИЕ ХАРАКТЕРИСТИКИ



