Водонагреватели ZOTA InLINE ZI 18 346842 0018 14313 - инструкция пользователя по применению, эксплуатации и установке на русском языке. Мы надеемся, она поможет вам решить возникшие у вас вопросы при эксплуатации техники.
Если остались вопросы, задайте их в комментариях после инструкции.
"Загружаем инструкцию", означает, что нужно подождать пока файл загрузится и можно будет его читать онлайн. Некоторые инструкции очень большие и время их появления зависит от вашей скорости интернета.

стр. 11
• Для соединения клемм А, В, С в комплекте имеется специальная
перемычка (только для ZOTA «InLine» 6; 7,5; 9 кВт), которая устанавливается
на колодках (поз.16).
• Закрыть кожух (поз.3) как показано на рис.1 и закрутить винты крепления.
6.5. При замене блок ТЭН присоединение фазных проводов к выводам блок
ТЭН производить согласно Рис.6. Сечение кабеля указано в табл.1 и 1.1.
• Провод нейтрали N подключить на перемычку блока ТЭН.
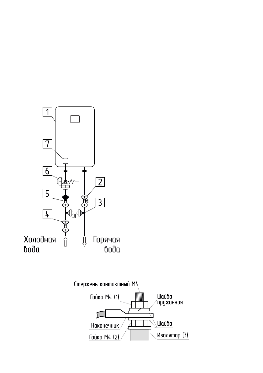
Внимание!
При закручивании гайки М4 (1) во избежание короткого
замыкания, при повреждении изоляции (3) и последующего выхода из строя
блока ТЭН необходимо зафиксировать (рожковым) гаечным ключом гайку
М4 (2). Затяжку гайки М4 (1) производить с усилием 1,8 Нм.
Рис.6 Присоединение проводов к выводам блок ТЭН
Рис.5 Схема гидравлическая принципиальная
1 - Электроводонагреватель
2 - Кран шаровый
3 - Смеситель
4 - Вентиль
5 - Клапан обратный
6 - Клапан предохранительный
7 - Датчик потока





