Водонагреватели ZOTA InLINE ZI 18 346842 0018 14313 - инструкция пользователя по применению, эксплуатации и установке на русском языке. Мы надеемся, она поможет вам решить возникшие у вас вопросы при эксплуатации техники.
Если остались вопросы, задайте их в комментариях после инструкции.
"Загружаем инструкцию", означает, что нужно подождать пока файл загрузится и можно будет его читать онлайн. Некоторые инструкции очень большие и время их появления зависит от вашей скорости интернета.

стр. 9
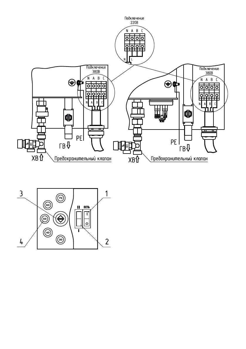
Рис.2 Схема подключения электроводонагревателя
Рис.3 Расположение органов управления на передней панели
1 - Выключатель сети
2 - Переключатель ступеней мощности
3 - Кнопка установки температуры воды
4 - Индикатор температуры воды
6. Размещение и монтаж.
6.1. Установку электроводонагревателя целесообразно производить по
проекту, выполненному специализированной организацией.
6.2. Водонагреватель устанавливается в вертикальном положении,
как показано на рис.1. Водонагреватель также можно установить в
горизонтальном положении. Перед установкой электроводонагревателя в
горизонтальном положении необходимо открыть его кожух, открутить винты
крепления блока управления (поз.12), развернуть блок на 90°С против
часовой стрелки и закрепить винтами. При установке электроводонагревателя
в горизонтальном положении патрубок холодной воды должен располагаться
ниже патрубка горячей воды.
ZOTA «InLine» 6-15
ZOTA «InLine» 18-30





