Водонагреватели Drazice OKCE NTR/2,2 160 л 110671101 - инструкция пользователя по применению, эксплуатации и установке на русском языке. Мы надеемся, она поможет вам решить возникшие у вас вопросы при эксплуатации техники.
Если остались вопросы, задайте их в комментариях после инструкции.
"Загружаем инструкцию", означает, что нужно подождать пока файл загрузится и можно будет его читать онлайн. Некоторые инструкции очень большие и время их появления зависит от вашей скорости интернета.

- 20 -
2.5
ПРИМЕРЫ ПОДКЛЮЧЕНИЯ ВОДОНАГРЕВАТЕЛЕЙ
Подключение водонагревателя к контуру отопления
Водонагреватель устанавливается на пол рядом с источником нагревания или поблизости от него.
Контур отопления подключается к обозначенным входам и выходам теплообменника
водонагревателя, а в самом высоком месте устанавливается воздуховыпускной клапан. Для защиты
насосов, трехходового клапана, обратных заслонок и во избежание засорения теплообменника
необходимо установить в контуре фильтр. Рекомендуем перед установкой промыть контур
отопления. Провести надлежащую теплоизоляцию всех подключаемых линий.
Если система будет работать с преимущественным нагревом технической воды с помощью
трехходового клапана, при установке всегда руководствуйтесь инструкцией производителя
трехходового клапана.
Подключение водонагревателя к трубопроводу горячей воды
Холодная вода подключается к входу, обозначенному синим кружком или надписью ВХОД ГТВ.
Горячая вода подключается к отводу, обозначенному красным кружком или надписью "ВЫХОД ГТВ".
Если линия ГТВ оборудована циркуляционным контуром, он подключается к отводу, обозначенному
надписью ЦИРКУЛЯЦИЯ. Для возможного выпуска воды из водонагревателя на вход ГТВ необходимо
установить Т-образную арматуру со сливным клапаном. Каждый отдельный водонагреватель на
впуске холодной воды должен быть оборудован затвором, пробным краном, предохранительным
клапаном с обратной заслонкой и манометром.
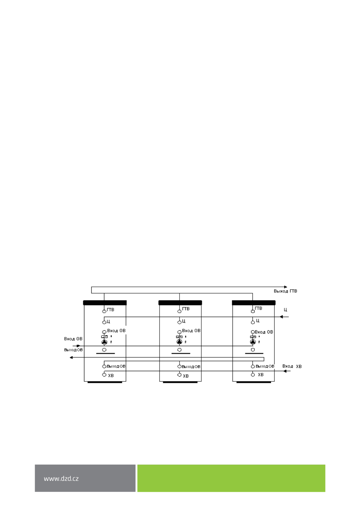
Пример группового подключения водонагревателей по методу Тихельмана для равномерного
расхода горячей воды из всех водонагревателей
OV (ОВ) – отопительная вода
TUV (ГТВ) - горячая техническая вода
SV (ХВ) - холодная вода
1- обратный клапан
С (Ц) - циркуляция
2 - насос
Рисунок 10