Водонагреватели Bosch WT13AM1E (Therm 4000 S) 7702311072 - инструкция пользователя по применению, эксплуатации и установке на русском языке. Мы надеемся, она поможет вам решить возникшие у вас вопросы при эксплуатации техники.
Если остались вопросы, задайте их в комментариях после инструкции.
"Загружаем инструкцию", означает, что нужно подождать пока файл загрузится и можно будет его читать онлайн. Некоторые инструкции очень большие и время их появления зависит от вашей скорости интернета.

10
|
Технические данные прибора
RU
6 720 680 340 (2010/07)
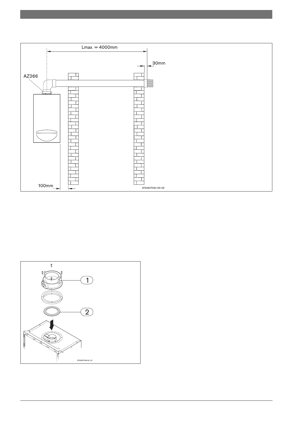
2.12.2 Горизонтальный дымоход
Рис 5
2.12.3 Установка ограничительной шайбы
В зависимости от конструкции дымохода и условий
монтажа, может понадобиться установка
ограничительной шайбы (
Æ
рис. 6) под переходником
(таблица 7 и 8).
Чтобы обеспечить хорошую работу прибора, должны
использоваться ограничительные шайбы нужной
толщины.
Рис 6
Ограничительная шайба
B
Отвернуть винты крепления переходника (рис. 6,
поз. 1).
B
Поместить ограничительную шайбу (
Æ
рис. 6, поз.
2) между переходником и прибором.
B
Снова закрепить переходник в приборе, используя
4 винта (
Æ
рис. 6, поз. 1).
Характеристики
Остались вопросы?Не нашли свой ответ в руководстве или возникли другие проблемы? Задайте свой вопрос в форме ниже с подробным описанием вашей ситуации, чтобы другие люди и специалисты смогли дать на него ответ. Если вы знаете как решить проблему другого человека, пожалуйста, подскажите ему :)













