Винные шкафы Electrolux ERW0273AOA - инструкция пользователя по применению, эксплуатации и установке на русском языке. Мы надеемся, она поможет вам решить возникшие у вас вопросы при эксплуатации техники.
Если остались вопросы, задайте их в комментариях после инструкции.
"Загружаем инструкцию", означает, что нужно подождать пока файл загрузится и можно будет его читать онлайн. Некоторые инструкции очень большие и время их появления зависит от вашей скорости интернета.

80 www.electrolux.com
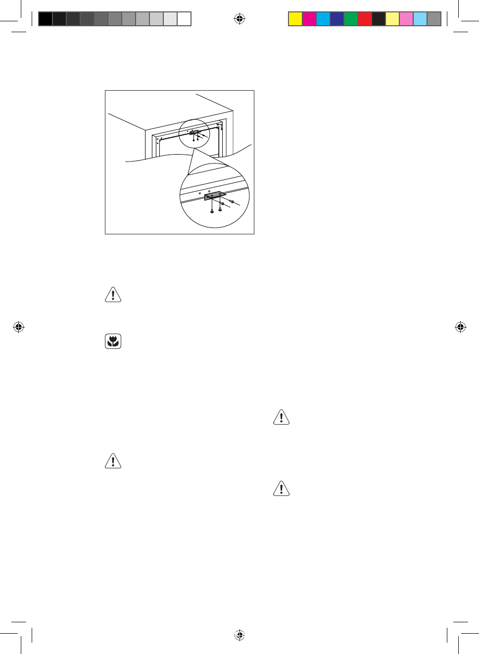
Installazione della staffa superiore
Utilizzare due viti per installare la staffa
superiore sulla sommità della cantina,
quindi spingerla nell'unità e usare le
due viti per fissare la staffa superiore a
quest'ultima. Fare riferimento al disegno
sottostante.
ATTENZIONE!
Prima di qualsiasi intervento di
manutenzione, estrarre la spina
dalla presa.
Questa apparecchiatura
contiene idrocarburi nell’unità
di raffreddamento, pertanto le
operazioni di manutenzione e
ricarica devono essere eseguite
esclusivamente da personale
autorizzato.
Pulizia periodica
L'apparecchiatura deve essere pulita
regolarmente:
Evitare di tirare, spostare o
danneggiare tubi e/o cavi
all'interno dell'apparecchiatura.
Per la pulizia delle parti interne,
non usare mai detergenti, polveri
abrasive, prodotti con forti
profumazioni o cere lucidanti,
che potrebbero danneggiare la
superficie e lasciare un odore
intenso.
•
Lavare le superfici interne con
una soluzione di acqua tiepida e
bicarbonato. La soluzione deve
contenere circa 2 cucchiai di
bicarbonato in un quarto d'acqua.
CURA E MANUTENZIONE
•
Eliminare l'acqua in eccesso dalla
spugna o dal panno quando si pulisce
l'area dei comandi o qualsiasi parte
elettrica.
•
Lavare la parte esterna della cantina
con acqua tiepida miscelata a un
detergente neutro.
•
Ispezionare regolarmente le guarnizioni
della porta ed eliminare con un panno
umido tracce di sporco e residui.
•
Risciacquare e asciugare
accuratamente.
Prestare attenzione a non
danneggiare il sistema refrigerante.
Dopo la pulizia, ricollegare
l'apparecchiatura alla rete elettrica.
Sostituzione della lampadina
AVVERTENZA!
Avvertenza! Se la lampadina a LED è
guasta, NON SOSTITUIRLA DA SOLI.
Se la lampadina a LED viene sostituita
da una persona non qualificata,
vi è il rischio di lesioni e gravi
malfunzionamenti.
La lampadina a LED deve essere
sostituita da una persona qualificata
in grado di evitare danni. Contattare
il Centro di Assistenza locale.
ERW0273AOA_Wine_cellar_ELUX_CZ_DA_EN_FI_FR_IT_NO_PL_RU_SK_SV_UK.indd 80
2017-03-21 10:07:28
Содержание
- 114 ПОДДЕРЖКА ПОТРЕБИТЕЛЕЙ И СЕРВИСНОЕ
- 115 Безопасность детей и лиц с ограниченными возможностями
- 116 УКАЗАНИЯ ПО БЕЗОПАСНОСТИ
- 117 Эксплуатация
- 119 Включение; ЕЖЕДНЕВНОЕ ИСПОЛЬЗОВАНИЕ; Очистка
- 120 ХРАНЕНИЕ ВИНА
- 121 Размещение; УСТАНОВКА; и требования к вентиляции
- 122 УХОД И ОЧИСТКА; Замена лампы
- 123 Перерывы в эксплуатации; ПОИСК И УСТРАНЕНИЕ НЕИСПРАВНОСТЕЙ; Сбой в сети электропитания
- 125 ШУМЫ ПРИ РАБОТЕ
- 126 ТЕХНИЧЕСКИЕ ДАННЫЕ
- 127 ОХРАНА ОКРУЖАЮЩЕЙ СРЕДЫ; Упаковочные материалы
Характеристики
Остались вопросы?Не нашли свой ответ в руководстве или возникли другие проблемы? Задайте свой вопрос в форме ниже с подробным описанием вашей ситуации, чтобы другие люди и специалисты смогли дать на него ответ. Если вы знаете как решить проблему другого человека, пожалуйста, подскажите ему :)