Винные шкафы Electrolux ERW0273AOA - инструкция пользователя по применению, эксплуатации и установке на русском языке. Мы надеемся, она поможет вам решить возникшие у вас вопросы при эксплуатации техники.
Если остались вопросы, задайте их в комментариях после инструкции.
"Загружаем инструкцию", означает, что нужно подождать пока файл загрузится и можно будет его читать онлайн. Некоторые инструкции очень большие и время их появления зависит от вашей скорости интернета.

66 www.electrolux.com
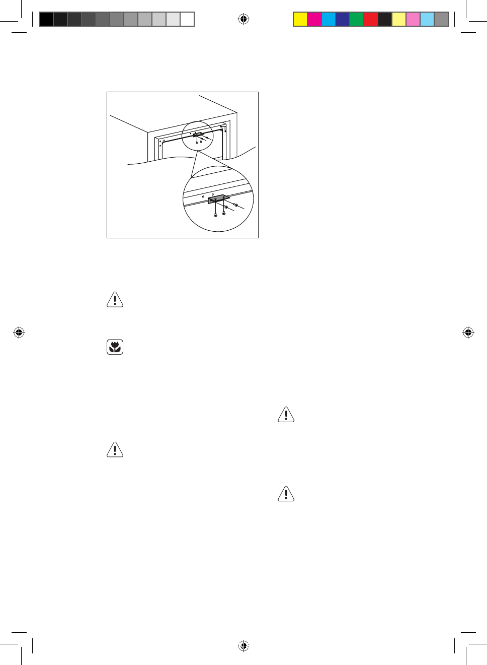
Installation de la pièce de fixation supérieure
Au moyen de deux vis, posez la pièce de
fixation supérieure sur le haut de la cave
à vin, puis poussez la cave à vin dans
l'armoire et attachez la pièce de fixation
supérieure à l'armoire avec deux vis. Voir
le schéma ci-dessous pour référence.
ATTENTION !
Débranchez l'appareil avant
toute opération d'entretien
et de nettoyage.
Seules les personnes ayant
reçues une formation spécifique
aux fluides inflammables peuvent
intervenir sur cet appareil qui
contient des hydrocarbures.
Nettoyage périodique
L'appareil doit être nettoyé
régulièrement :
Ne tirez pas, ne déplacez pas,
n'endommagez pas les tuyaux
et/ou câbles qui se trouvent
à l'intérieur de l'appareil.
N'utilisez jamais de détergents,
de poudres abrasives, de produits
de nettoyage très parfumés ou de
produits caustiques pour nettoyer
l'intérieur de l'appareil car cela
risque d'endommager la surface
et de laisser une forte odeur.
•
Lavez les surfaces intérieures avec une
solution d'eau chaude et de bicarbonate
de soude. La solution doit être environ
2 cuillerées à soupe de bicarbonate
de soude pour un litre d'eau.
ENTRETIEN ET MAINTENANCE
•
Essorez l'excès d'eau de l'éponge
ou du chiffon lors du nettoyage de
la zone des commandes ou de tout
composant électrique.
•
Lavez l'extérieur de la cave à vin
avec de l'eau chaude et un détergent
liquide doux.
•
Vérifiez régulièrement les joints de porte
et nettoyez-les en les essuyant pour
éviter toute accumulation de déchets.
•
Rincez et séchez soigneusement.
Veillez à ne pas endommager
le système de réfrigération.
Après le nettoyage, rebranchez l'appareil
à la prise de secteur.
Remplacement de l'ampoule
ATTENTION !
Avertissement ! Si la lampe LED est
défectueuse, NE PAS LA CHANGER SOI-
MÊME. Si la lampe à LED est changée
par une personne non qualifiée pour ce
faire, il existe un risque de blessures et
de graves dysfonctionnements pourraient
se produire.
La lampe LED doit être remplacée par
un expert afin d'éviter tout dommage.
Contactez le service après-vente.
ERW0273AOA_Wine_cellar_ELUX_CZ_DA_EN_FI_FR_IT_NO_PL_RU_SK_SV_UK.indd 66
2017-03-21 10:07:27
Содержание
- 114 ПОДДЕРЖКА ПОТРЕБИТЕЛЕЙ И СЕРВИСНОЕ
- 115 Безопасность детей и лиц с ограниченными возможностями
- 116 УКАЗАНИЯ ПО БЕЗОПАСНОСТИ
- 117 Эксплуатация
- 119 Включение; ЕЖЕДНЕВНОЕ ИСПОЛЬЗОВАНИЕ; Очистка
- 120 ХРАНЕНИЕ ВИНА
- 121 Размещение; УСТАНОВКА; и требования к вентиляции
- 122 УХОД И ОЧИСТКА; Замена лампы
- 123 Перерывы в эксплуатации; ПОИСК И УСТРАНЕНИЕ НЕИСПРАВНОСТЕЙ; Сбой в сети электропитания
- 125 ШУМЫ ПРИ РАБОТЕ
- 126 ТЕХНИЧЕСКИЕ ДАННЫЕ
- 127 ОХРАНА ОКРУЖАЮЩЕЙ СРЕДЫ; Упаковочные материалы
Характеристики
Остались вопросы?Не нашли свой ответ в руководстве или возникли другие проблемы? Задайте свой вопрос в форме ниже с подробным описанием вашей ситуации, чтобы другие люди и специалисты смогли дать на него ответ. Если вы знаете как решить проблему другого человека, пожалуйста, подскажите ему :)