Винные шкафы Electrolux ERW0273AOA - инструкция пользователя по применению, эксплуатации и установке на русском языке. Мы надеемся, она поможет вам решить возникшие у вас вопросы при эксплуатации техники.
Если остались вопросы, задайте их в комментариях после инструкции.
"Загружаем инструкцию", означает, что нужно подождать пока файл загрузится и можно будет его читать онлайн. Некоторые инструкции очень большие и время их появления зависит от вашей скорости интернета.

52 www.electrolux.com
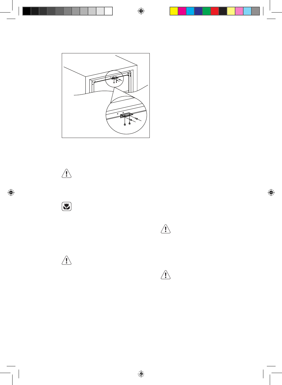
Yläkannattimen asentaminen
Asenna yläkannatin viinikaapin yläosaan
kahden ruuvin avulla, paina viinikaappi
sitten kalusteeseen ja kiinnitä yläkannatin
kalusteeseen kahden ruuvin avulla.
Katso alla oleva kaavio.
HUOMAUTUS!
Kytke laite irti verkkovirrasta
ennen minkäänlaisten
puhdistustoimenpiteiden
suorittamista.
Laitteen jäähdytysyksikkö sisältää
hiilivetyä. Jäähdytysyksikön
huollon ja täytön saa suorittaa
ainoastaan valtuutettu
huoltomekaanikko.
Säännöllinen puhdistus
Laite on puhdistettava säännöllisesti:
Älä vedä, siirrä tai vahingoita
kaapin sisällä olevia putkia ja/tai
kaapeleita.
Älä käytä puhdistusaineita,
hankausjauhetta,
voimakastuoksuisia
puhdistustuotteita tai
kiillotusvahaa sisätilojen
puhdistamisessa, sillä tällaiset
tuotteet vahingoittavat pintoja
ja jättävät voimakkaan tuoksun.
•
Pese sisäpinnat lämpimällä vedellä,
johon on lisätty ruokasoodaa. Sekoita
2 rkl ruokasoodaa noin yhteen litraan
vettä.
HOITO JA YLLÄPITO
•
Purista ylimääräinen vesi pois
sienestä tai liinasta, kun puhdistat
säätimiä tai sähköosia.
•
Pese kaapin ulkopinta lämpimällä
vedellä ja miedolla nestemäisellä
pesuaineella.
•
Tarkista oven tiivisteet säännöllisesti
ja pyyhi ne puhtaaksi.
•
Huuhtele ja kuivaa huolellisesti.
Varo vahingoittamasta
jäähdytysjärjestelmää.
Kun laite on puhdistettu, kytke se takaisin
verkkovirtaan.
Lampun vaihtaminen
VAROITUS!
Varoitus! Jos LED-lamppu on viallinen,
ÄLÄ VAIHDA SITÄ ITSE.
Jos LED-lampun vaihtaa henkilö, jolla
ei ole vaadittuja pätevyyksiä, vaarana
ovat henkilövahingot ja vakavat
toimintahäiriöt.
Vaurioiden välttämiseksi ainoastaan
asiantuntija saa vaihtaa LED-lampun.
Ota yhteys valtuutettuun huoltoliikkeeseen.
ERW0273AOA_Wine_cellar_ELUX_CZ_DA_EN_FI_FR_IT_NO_PL_RU_SK_SV_UK.indd 52
2017-03-21 10:07:26
Содержание
- 114 ПОДДЕРЖКА ПОТРЕБИТЕЛЕЙ И СЕРВИСНОЕ
- 115 Безопасность детей и лиц с ограниченными возможностями
- 116 УКАЗАНИЯ ПО БЕЗОПАСНОСТИ
- 117 Эксплуатация
- 119 Включение; ЕЖЕДНЕВНОЕ ИСПОЛЬЗОВАНИЕ; Очистка
- 120 ХРАНЕНИЕ ВИНА
- 121 Размещение; УСТАНОВКА; и требования к вентиляции
- 122 УХОД И ОЧИСТКА; Замена лампы
- 123 Перерывы в эксплуатации; ПОИСК И УСТРАНЕНИЕ НЕИСПРАВНОСТЕЙ; Сбой в сети электропитания
- 125 ШУМЫ ПРИ РАБОТЕ
- 126 ТЕХНИЧЕСКИЕ ДАННЫЕ
- 127 ОХРАНА ОКРУЖАЮЩЕЙ СРЕДЫ; Упаковочные материалы
Характеристики
Остались вопросы?Не нашли свой ответ в руководстве или возникли другие проблемы? Задайте свой вопрос в форме ниже с подробным описанием вашей ситуации, чтобы другие люди и специалисты смогли дать на него ответ. Если вы знаете как решить проблему другого человека, пожалуйста, подскажите ему :)