Винные шкафы Electrolux ERW0273AOA - инструкция пользователя по применению, эксплуатации и установке на русском языке. Мы надеемся, она поможет вам решить возникшие у вас вопросы при эксплуатации техники.
Если остались вопросы, задайте их в комментариях после инструкции.
"Загружаем инструкцию", означает, что нужно подождать пока файл загрузится и можно будет его читать онлайн. Некоторые инструкции очень большие и время их появления зависит от вашей скорости интернета.

136 www.electrolux.com
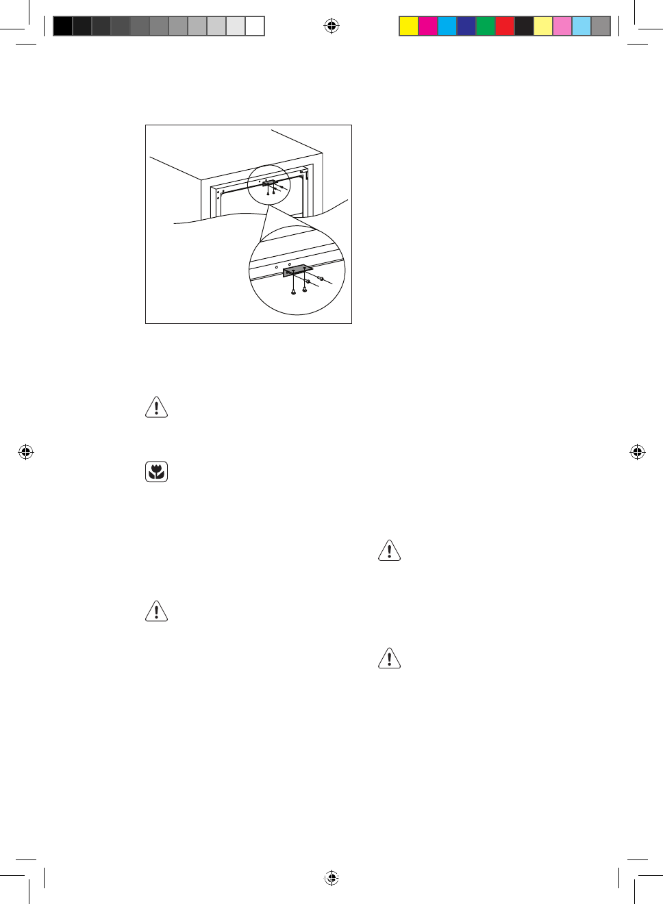
Inštalácia horného koša
Použite dve skrutky na nainštalovanie
horného koša na vrchnú časť chladiča
vína, potom zasuňte chladiť vína
do skrinky a použite dve skrutky na
upevnenie hornej mriežky na skrinku.
Obrázok nižšie slúži ako referencia.
POZOR!
Pred akoukoľvek údržbou
spotrebič odpojte od elektrickej
siete.
V chladiacej jednotke spotrebiča
sa nachádzajú uhľovodíky, preto
smie údržbu a doplnenie chladiva
vykonať výhradne autorizovaný
technik.
Pravidelné čistenie
Vybavenie spotrebiča treba pravidelne
čistiť:
Neťahajte, neposúvajte a
nepoškodzujte žiadne rúrky
a/alebo káble v spotrebiči alebo
na ňom.
Nikdy nepoužívajte žiadne čistiace
prostriedky, drsné práškové
prípravky, aromatizované čistiace
prípravky ani voskové leštiace
prostriedky na čistenie interiéru,
pretože poškodzujú povrch
a zanechávajú silnú vôňu.
•
Vnútorné povrchy umyte roztokom
z teplej vody a prášku na pečenie.
Roztok by mal obsahovať približne
2 polievkové lyžice prášku na
pečenie na liter vody.
STAROSTLIVOSŤ A ÚDRŽBA
•
Pred čistením oblasti okolo ovládacích
prvkov alebo akýchkoľvek elektrických
dielov vyžmýkajte zo špongie
nadbytočnú vodu.
•
Vonkajší chladič umyte teplou vodou
s miernym tekutým saponátom.
•
Pravidelne kontrolujte tesnenia dverí
a vyutierajte ich, aby boli čisté a bez
zvyškov potravín.
•
Opláchnite a dôkladne osušte.
Dbajte na to, aby ste nepoškodili
chladiaci systém.
Po čistení znova pripojte zariadenie
k sieťovému napájaniu.
Výmena žiarovky
VAROVANIE!
Výstraha! Ak je LED žiarovka poškodená,
NEVYMIEŇAJTE JU VLASTNORUČNE.
V prípade výmeny LED žiarovky
osobou bez príslušnej kvalifikácie hrozí
nebezpečenstvo zranenia a mohlo by
dôjsť k vážnym poruchám.
LED žiarovka musí byť vymenená
odborníkom, aby sa predišlo škode.
Obráťte sa na miestne servisné
stredisko.
ERW0273AOA_Wine_cellar_ELUX_CZ_DA_EN_FI_FR_IT_NO_PL_RU_SK_SV_UK.indd 136
2017-03-21 10:07:34
Содержание
- 114 ПОДДЕРЖКА ПОТРЕБИТЕЛЕЙ И СЕРВИСНОЕ
- 115 Безопасность детей и лиц с ограниченными возможностями
- 116 УКАЗАНИЯ ПО БЕЗОПАСНОСТИ
- 117 Эксплуатация
- 119 Включение; ЕЖЕДНЕВНОЕ ИСПОЛЬЗОВАНИЕ; Очистка
- 120 ХРАНЕНИЕ ВИНА
- 121 Размещение; УСТАНОВКА; и требования к вентиляции
- 122 УХОД И ОЧИСТКА; Замена лампы
- 123 Перерывы в эксплуатации; ПОИСК И УСТРАНЕНИЕ НЕИСПРАВНОСТЕЙ; Сбой в сети электропитания
- 125 ШУМЫ ПРИ РАБОТЕ
- 126 ТЕХНИЧЕСКИЕ ДАННЫЕ
- 127 ОХРАНА ОКРУЖАЮЩЕЙ СРЕДЫ; Упаковочные материалы
Характеристики
Остались вопросы?Не нашли свой ответ в руководстве или возникли другие проблемы? Задайте свой вопрос в форме ниже с подробным описанием вашей ситуации, чтобы другие люди и специалисты смогли дать на него ответ. Если вы знаете как решить проблему другого человека, пожалуйста, подскажите ему :)