Видеокамеры Sony HDR-CX560E (VE) - инструкция пользователя по применению, эксплуатации и установке на русском языке. Мы надеемся, она поможет вам решить возникшие у вас вопросы при эксплуатации техники.
Если остались вопросы, задайте их в комментариях после инструкции.
"Загружаем инструкцию", означает, что нужно подождать пока файл загрузится и можно будет его читать онлайн. Некоторые инструкции очень большие и время их появления зависит от вашей скорости интернета.

UA
Робота з відеокамерою під час відтворення відео
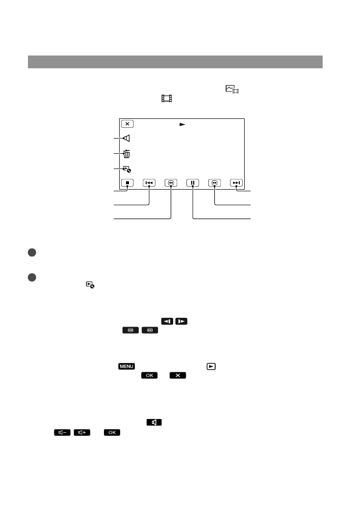
Під час відтворення відео можна користуватися функціями, які вказані на малюнку
нижче. Цей екран буде відображено, якщо обрано режим [
MOVIE/PHOTO]
(налаштування за промовчанням) або [
MOVIE] шляхом торкання кнопки
перемикання типу зображень на екрані Iндексу за подією.
*
Цими кнопками можна користуватися лише під час відтворення відео.
Примітки
Відтворення зображень може бути неможливим на інших пристроях, крім відеокамери.
Поради
Торкання кнопки
на екрані відтворення викличе відображення функцій, які можна
використовувати, та дозволить зручно оперувати цими функціями.
Коли під час відтворення від вибраного зображення досягнуто останнього зображення,
відбувається повернення до екрана INDEX.
Для повільного відтворення відео торкніть
/
під час паузи.
Повторне натиснення кнопки
/
під час відтворення збільшить швидкість відтворення
приблизно у 5 разів
приблизно в 10 разів
приблизно у 30 разів
приблизно в 60 разів.
Дата, час, умови та координати зйомки (HDR-CX560VE/CX700VE) записуються автоматично під
час зйомки. Ця інформація не відображається під час записування, але її можна відобразити під
час відтворення, торкнувши
(MENU)
[Setup]
[
(Playback Settings)]
[Data Code]
потрібне значення параметра
.
За промовчанням захищене демонстраційне відео попередньо записано
(HDR-CX560E/CX560VE/CX700E/CX700VE).
Налаштування гучності звуку відео
Під час відтворення відео торкніть
відрегулюйте рівень гучності за допомогою
кнопок
/
.
Пауза
*
/відтворення
Швидке перемотування
вперед
*
Видалити
Далі
Швидке перемотування
назад
*
Зупинення
*
Попередній
Регулювання гучності
Контекст
Содержание
- 2 Батарейный блок
- 3 Дата изготовления изделия.; буквенно-цифровых символов; ДЛЯ ПОЛЬЗОВАТЕЛЕЙ В ЕВРОПЕ; Внимание
- 5 Прилагаемые принадлежности; Беспроводной пульт дистанционного; Использование видеокамеры; Экран LCD
- 6 Черные точки
- 9 Примечания по использованию
- 10 Содержание; Подготовка к работе; Запись/Воспроизведение; Расширенные функции
- 11 ание; Сохранение изображений на внешнем устройстве
- 12 Действие 1: Зарядка аккумуляторной батареи; Аккумуляторная батарея
- 13 те; Зарядка батареи с использованием компьютера; Этот способ удобен при отсутствии адаптера переменного тока.; К сетевой розетке
- 14 Время зарядки; Аккумуляторная; Извлечение аккумуляторной батареи
- 15 Примечания по аккумуляторной батарее; Зарядка аккумуляторной батареи за границей
- 16 Откройте экран LCD видеокамеры.; Видеокамера включится.; Выберите нужный географический регион с помощью; Прикоснитесь к кнопке
- 17 Выберите дату и время, коснитесь; Запускается отсчет времени.
- 18 Отключение питания; Изменение настройки языка; требуемый язык
- 19 Действие 3: Подготовка носителя записи; Карта памяти; Коснитесь; Фильмы и фотографии будут записываться на выбранный носитель.; Проверка параметров носителя записи
- 20 Установка карты памяти; Типы карт памяти, которые можно использовать с видеокамерой
- 21 Индикатор доступа
- 22 Извлечение карты памяти; Откройте крышку и слегка однократно нажмите на карту памяти.
- 23 Запись; Закрепите ремешок для руки.
- 24 Для повторного отображения элементов на экране LCD; приблизительно
- 25 Для съемки улыбок; Захват фотографии
- 26 Код данных во время записи; требуемая настройка; Фотосъемка
- 27 Нажмите MODE, чтобы загорелся индикатор; Экран LCD переключится в режим записи фотографии.; Если на фотографиях появляются белые круглые пятна
- 28 Выбор режима записи
- 29 Как пользоваться диском MANUAL; Использование штатива; Гнездо штатива; Кнопка MANUAL
- 30 Нажмите; Через несколько секунд появится экран просмотра событий.; Переход к экрану MENU
- 31 Коснитесь изображения, которое вы хотите просмотреть.
- 32 Эксплуатация камеры во время воспроизведения фильма; Регулирование громкости звука фильмов; Во время воспроизведения фильмов коснитесь
- 33 Просмотр фотографий; Сохранение Воспроизведения выбранных
- 34 Разъемы выхода видеокамеры; Список подключений; Разъем HDMI OUT
- 37 Вкл “Photo TV HD”; или компонентного кабеля AV
- 38 Коснитесь и установите метку
- 39 В действии 3 коснитесь [Все в
- 40 Сохранение фильмов и фотографий на компьютере; Вид; Календарь
- 41 Windows; Microsoft Windows XP SP3; Macintosh; PMB Portable: Mac OS X
- 42 Использование Macintosh; Отобразится экран установки.; Выберите страну или регион.
- 44 Запуск PMB
- 45 Щелкните “PMB Portable”.; Запустится “PMB Portable”.
- 47 Примечания по “PMB Portable”
- 48 Внешние устройства
- 49 Типы носителей, на которых сохраняются изображения; Устройства, на которых можно воспроизводить созданный диск
- 51 на экране; Кабель адаптера USB
- 54 Диски, которые можно использовать
- 55 Оставшееся свободное
- 56 на
- 58 или
- 59 Соединительный кабель A/V; Дистанционный соединитель A/V; Поток сигналов
- 61 Индивидуальная настройка видеокамеры; Режим съемки (Элементы для выбора режима съемки); Использование меню
- 63 Списки меню; Режим съемки
- 65 Установка
- 69 Дополнительная информация; Устранение; При нажатии кнопки
- 72 Время воспроизведения
- 73 Внутренний носитель записи
- 74 Качество изображения высокой четкости (HD); канальный; канальный
- 76 Использование и уход
- 78 ПРЕДУПРЕЖДЕНИЕ; Вкладка
- 79 Разъемы входных/выходных сигналов
- 80 Общие технические характеристики
- 81 О товарных знаках
- 82 Краткое справочное руководство; Индикаторы экрана; Левая часть
- 83 Нижняя часть; Индикация
- 86 Алфавитный указатель












