Видеокамеры Sony DCR-TRV38E - инструкция пользователя по применению, эксплуатации и установке на русском языке. Мы надеемся, она поможет вам решить возникшие у вас вопросы при эксплуатации техники.
Если остались вопросы, задайте их в комментариях после инструкции.
"Загружаем инструкцию", означает, что нужно подождать пока файл загрузится и можно будет его читать онлайн. Некоторые инструкции очень большие и время их появления зависит от вашей скорости интернета.

112
Det är möjligt att lägga på en ny scen med ljud
från en annan videoapparat på ett redan inspelat
band genom att ange start- och slutpunkter.
Använd fjärrkontrollen till denna manövrering.
Anslut enheterna enligt anvisningarna på sidan
108. Sätt i bandet med den scen som ska läggas
på i den andra videoapparaten.
[A ]
Bandet med scenen som ska läggas på
[B]
Bandet i videokameran före redigering
[C]
Bandet i videokameran efter redigering
Вы можете вставить новый эпизод со звуком
с КВМ на первоначально записанную ленту,
указав начальную и конечную точки вставки.
Используйте для этой операции пульт
дистанционного управления.
Подсоединения выполняются так же, как и
на стр. 108. Вставьте кассету с нужным
эпизодом для его вставки в КВМ.
[A ]
Лента с эпизодом, который будет
накладываться
[B]
Лента до монтажа
[C]
Лента после монтажа
I n f o g n i n g  a v  sce n e r  f r å n
e n  a n n a n  v i d e o a p p a r a t
– I n f o g n i n g sre d i g e r i n g
Вставка эпизода с
КВМ – Монтаж вставки
[a ]
[b ]
[c]
[A ]
[B]
[C]
Содержание
- 2 ВНИМАНИЕ
 - 6 Русский; Основные функции
 - 7 Прочие применения; Установке по умолчанию соответствует положение
 - 10 Оглавление
 - 11 Операции с “Memory Stick”
 - 16 Руководство по быстрому запуску; Руководство по быстрому запуску – Запись на ленту; Подсоединение сетевого шнура; Для извлечения кассеты; Примечание; Установка кассеты
 - 17 Запись изображения на ленту; Видоискатель
 - 18 Установка “Memory Stick”; Пока лампочка доступа горит или мигает; Лампочка доступа
 - 19 Установите; Запись неподвижных изображений на “Memory Stick”
 - 20 — Fö r b e r e d e l se r —
 - 21 A n g å e n d e d e n n a b r u k sa n v i sn i n g
 - 22 • LCD-skärmen och sökaren är t illverkade med; • Не допускайте, чтобы Ваша видеокамера
 - 23 Kontrollera att följande tillbehör följer med
 - 24 Skjut batteriet neråt tills det klickar till.; Hu r b a t t e r i e t t a s l o ss; Tryck in och håll BATT intryckt och dra; Установка батарейного блока; Для снятия батарейного блока; Поднимите видоискатель.; St e g 1 Fö r b e re d e l se a v
 - 25 St e g 1 Fö r b e r e d e l se a v; normal; Зарядка батарейного блока; штекера постоянного тока был; нормальная зарядка; будет завершена. Для; Пункт 1 Подготовка источника
 - 26 Ef t e r a v sl u t a d l a d d n i n g; После зарядки батарейного блока; C для зарядки полностью; La d d n i n g st i d e r /; Батарейный блок
 - 27 I n sp e l n i n g st i d e r /; Inspelning med hjälp av; Up p sp e l n i n g st i d e r /; Uppspelningst id med; * Приблизительное время в минутах при; C. Срок службы батарейного блока будет
 - 28 – В батарейном блоке имеется; Информация о батарейном блоке; Under pågående laddning/
 - 29 Anmärkningar; ПРЕДОСТЕРЕЖЕНИЕ; • Питание сетевого адаптера переменного
 - 30 omkring; Пункт 2 Установка; около трех месяцев
 - 31 FN; St e g 2 I n st ä l l n i n g a v d a t u m o ch; Å t e r g å n g t i l l f u n k t i o n sl ä g e t ( FN ); När videokameran ska användas ut omlands; Videokamerans klocka har ett 24-timmars; Пункт 2 Установка даты и; Установите опцию SUMMERTIME в; Примечание по индикатору времени
 - 32 Klockan kan enkelt ställas om till gällande; Ti d ssk i l l n a d e r i v ä r l d e n; Разница мирового времени
 - 33 St e g 3 A n v ä n d n i n g a v
 - 34 A n n u l l e r i n g a v ä n d r a d e i n st ä l l n i n g a r; Tryck på; Fu n k t i o n sk n a p p a r so m v i sa s; EXPOSURE; När st römbryt aren POW ER st år i läget VCR; REC CTRL; St e g 3 A n v ä n d n i n g a v; Для возврата к индикации FN; Нажмите кнопку; Нажмите кнопку; Чтобы экранные индикации исчезли
 - 35 Во время записи в память; Примечания; • При использовании сенсорной панели,; При выполнении каждого пункта; Над пунктом появляется зеленая полоса.; Если пункты не доступны
 - 36 Переключатель LOCK; Vi d e o i n sp e l n i n g; Запись – Основные положения; Запись изображения
 - 37 V i d e o i n sp e l n i n g; Anmärkning gällande inspelning; Примечание по режиму записи; дольше по; Для обеспечения плавного перехода; – При замене батарейного блока установите; Запись с помощью таймера самозапуска
 - 38 Inspelningshast ighet /; Anmärkning gällande låsomkopplaren LOCK
 - 39 Angående t idskoden; Ef t e r i n sp e l n i n g; Код времени; После выполнения записи; Снимите источник питания.
 - 40 Ju st e r i n g a v LCD -p a n e l e n; Kontrollera att LCD-panelen har öppnats till 90; Sökaren kopplas automatiskt ur vid användning; Vid visning av bilden på LCD-skärmen; LCD-panelen kan vridas runt och fällas in mot; Регулировка экрана ЖКД
 - 41 Ta g n i n g m e d sp e g e l v i sn i n g; Angående bilden vid spegelvisning; Съемка в зеркальном режиме; Поверните панель ЖКД на 180 градусов.; Изображение в зеркальном режиме.
 - 42 Задняя подсветка экрана ЖКД; На записанное изображение это не повлияет.; Полоса индикатора
 - 43 Ju st e r i n g a v sö k a r e n; Bakgrundsbelysning i sökaren; Регулировка видоискателя; Задняя подсветка видоискателя
 - 44 Zo o m n i n g; Zoomning st örre än 10; Наезд видеокамеры более 10
 - 45 Vid t agning nära et t mot iv; Hu r m o t l j u sk o m p e n se r i n g k o p p l a s u r; Angående t agning av bakif rån upplyst a mot iv; Нажмите кнопку BACK LIGHT еще раз.; BACK LIGHT
 - 46 Излучатель подсветки для ночной съемки
 - 47 A n v ä n d n i n g a v N i g h t Sh o t -l j u s; Hur Colour Slow Shut t er kopplas ur
 - 48 Angående Night Shot -ljus; затвором; Подсветка ночной съемки
 - 49 Sö k n i n g e f t e r sl u t e t; Angående sökning ef t er slut et; Нажмите кнопку END SCH еще раз.; Функция поиска конца
 - 50 – : для продвижения назад; Просмотр записи; Нажмите кратковременно сторону
 - 51 — Up p sp e l n i n g – Gr u n d e r —
 - 52 Om st römmen lämnas påslagen en lång st und; Для перемотки ленты назад; Во время воспроизведения нажмите кнопку; Up p sp e l n i n g a v e t t b a n d
 - 53 På p e k p a n e l e n; Olika inst ällningar/
 - 54 Angående olika inst ällningar; Ol i k a u p p sp e l n i n g ssä t t; A n v ä n d n i n g a v p e k p a n e l e n; Воспроизведение ленты; Различные установки; Использование сенсорной панели
 - 55 Fö r a t t se e n b i l d r u t a i t a g e t; Angående bandmanövreringsknappar; Кнопки видеоконтроля
 - 56 När et t band spelas upp baklänges; Замедленное воспроизведение
 - 57 Желтый
 - 58 Visning av skärmindikeringar på en t v-skärm; • Изображения могут быть воспроизведены
 - 59 Un d e r i n sp e l n i n g sb e r e d sk a p; Tryck in PHOTO helt .; В режиме записи на ленту; Нажмите кнопку PHOTO сильнее.
 - 60 Подробные сведения приведены на стр. 126.; Неподвижные изображения; • Размер изображения установится на; Титр; Вы не можете записывать титры.; Запись по таймеру самозапуска
 - 61 PHOTO; I n sp e l n i n g p å e t t b a n d
 - 62 Ti m e r st y r d i n sp e l n i n g sst a r t; • Режим записи по таймеру самозапуска
 - 63 Välj läget OUTDOOR (
 - 64 M a n u e l l i n st ä l l n i n g a v v i t b a l a n s; Vid inspelning under lysrörsbelysning; – Вы переносите Вашу видеокамеру из; В режиме HOLD; помещения наружу или наоборот.
 - 65 или на обычном телевизоре
 - 66 A n v ä n d n i n g a v b r e d b i l d sl ä g e; • В широкоэкранном режиме Вы не можете
 - 67 Läget M ONOTONE; BOUNCE
 - 68 Hu r i n t o n i n g /u t t o n i n g k o p p l a s u r; Нажмите индикацию нужного режима.; Использование функции фейдера; FADER
 - 69 Ef t er val av läget OVERLAP, W IPE eller DOT; “Memory Stick”; Примечание по функции BOUNCE; установках меню
 - 70 : Цвет и яркость изображения; SEPIA; Выберите опцию P EFFECT в
 - 71 STILL
 - 72 Vad som kan just eras
 - 75 или; • Следующие функции не работают в режиме
 - 76 EXPO–
 - 77 SPOT
 - 78 Ручная фокусировка; FOCUS
 - 79 M a n u e l l sk ä r p e i n st ä l l n i n g; Hur exakt are skärpa uppnås; Для точной фокусировки
 - 81 Выберите опцию INT. REC в; I n t e r v a l l i n sp e l n i n g; Пример; REC TIME
 - 82 Hu r i n t e r v a l l i n sp e l n i n g k o p p l a s u r; Ställ INT. REC i läget OFF i menyinställningarna.; Запись с интервалами; Для отмены записи с интервалами
 - 83 Hu r b i l d r u t e i n sp e l n i n g k o p p l a s u r; Выберите опцию FRAME REC в; Для отмены записи монтажного кадра
 - 85 A n v ä n d n i n g a v sö k a r e n; Использование видоискателя; Чтобы кнопки на экране ЖКД исчезли
 - 86 • Вы не можете видоизменять эпизоды от
 - 88 Hu r b a n d -PB ZOOM k o p p l a s u r; Сторона T : Увеличивает масштаб; Для отмены функции PB ZOOM ленты; M ot orzoomomkopplare/
 - 89 Изображения в режиме PB ZOOM ленты
 - 91 Före manövrering; Hu r sö k n i n g a v b r y t s; Hur t it lar läggs på; Для отмены поиска; Для наложения титра
 - 92 Перед выполнением операции
 - 94 — Re d i g e r i n g —; Ba n d k o p i e r i n g; A n sl u t n i n g m e d l j u d /v i d e o k a b e l; Монтаж; Перезапись ленты; Подсоединение к КВМ
 - 95 A n sl u t n i n g m e d i .LI N K-k a b e l; Ko p i e r i n g a v e t t b a n d; • Установите опцию DISPLAY в; Интерфейс DV
 - 96 N ä r b a n d e t h a r k o p i e r a t s k l a r t; När videoapparat en har en S-videokoppling; Если Вы закончили перезапись ленты; Если Ваш КВМ монофонического типа; • Записанное изображение будет
 - 97 Изменить порядок
 - 98 Выберите опцию VIDEO EDIT в
 - 99 Välj PAUSEMODE och tryck sedan på
 - 100 КВМ
 - 101 Anmärkning gällande IR SETUP-koden; Digital programredigering kan inte utföras på en; Angående IR SETUP-koden; IR SETUP-koden lagras i videokamerans minne.
 - 102 St e g 3 : Ju st e r i n g a v; • После проверки кода в пункте “О коде IR; синхронизации КВМ
 - 105 Hu r sk a p a n d e a v p r o g r a m a v sl u t a s; Hu r e t t i n st ä l l t p r o g r a m r a d e r a s; Hur radering annulleras; Для завершения создания программы; Вы не можете устанавливать точки IN и OUT.; Для отмены стирания
 - 106 Ra d e r i n g a v sa m t l i g a p r o g r a m; Hur radering av samt liga program annulleras; Å t g ä r d 2 : Ge n o m f ö r a n d e a v; Стирание всех программ; Для отмены стирания всех программ; Действие 2: Выполнение
 - 107 Inspelning på anslut en videoapparat misslyckas i f öljande f all/; Индикатор; När inget program har st ällt s in; går det inte att trycka på START.; Если программа не была установлена; Вы не сможете нажать кнопку START.
 - 110 N ä r i n sp e l n i n g e n ä r k l a r
 - 111 • Перед выполнением записи убедитесь, что
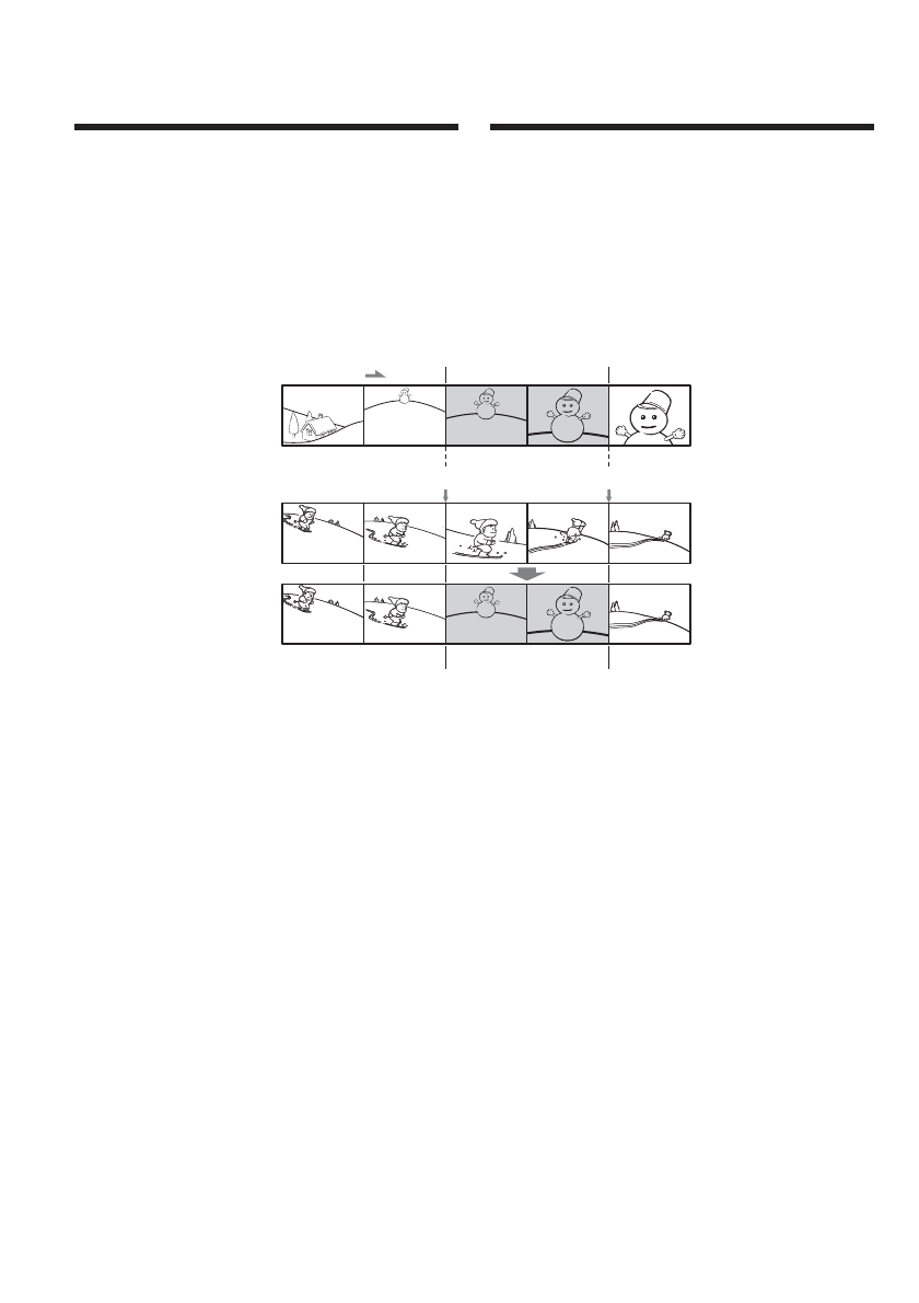
 - 113 Hu r sl u t p u n k t e n f ö r i n f o g n i n g ä n d r a s
 - 114 På l ä g g n i n g a v l j u d; встроенного микрофона
 - 115 Передача сигнала
 - 116 Аудиоаппаратура
 - 117 для начала
 - 118 Up p sp e l n i n g a v p å l a g t l j u d
 - 119 VACATION
 - 120 Påläggning av egna t it lar
 - 121 Ra d e r i n g a v t i t l a r; Стирание титра; В пункте 5 выберите опцию CANCEL.
 - 123 Sk a p a n d e a v e g n a t i t l a r; Hur et t t ecken raderas; Для ввода пробела
 - 124 När en kasset t innehåller pålagda t it lar; Для стирания символа
 - 126 — Fu n k t i o n e r f ö r ” M e m o r y St i ck ” —; Fi l f o r m a t; Typiska f ilnamn f ör bilddat a; Stick” с магнитной ленты; Формат файлов; Типичное имя файла данных изображения
 - 127 På baksidan av en ”M emory St ick”; Наклейте этикетку в позиции маркировки.
 - 130 был; Извлечение “Memory Stick”; Слегка нажмите “Memory Stick” один раз.; • Если Вы с усилием вставите “Memory Stick”; Если лампочка доступа горит или мигает
 - 131 V a l a v b i l d k v a l i t e t f ö r st i l l b i l d e r; Inst ällning; По умолчанию установлен режим FINE.; Установка
 - 132 V a l a v b i l d st o r l e k f ö r st i l l b i l d e r; M i n n e sb e h o v f ö r st i l l b i l d e r; Bildkvalit et; V a l a v b i l d k v a l i t e t o ch b i l d st o r l e k
 - 133 По умолчанию выбирается размер 320
 - 134 St i l l b i l d e r /; Rö r l i g a b i l d e r /; Размер изображения
 - 135 Имя папки, в которую выполняется запись; перестанет мигать, а затем
 - 137 Непрерывная запись изображений; Режим NORMAL; 64 или 13 неподвижных изображений; Режим EXP BRKTG; Нажмите кнопку MENU для отображения меню.
 - 140 Вы не можете записывать звук с ленты.; Титры
 - 141 (Цветовая рирпроекция
 - 142 strömbrytaren POWER står i läget CAMERA.; Синий фон
 - 143 Angående provbilder
 - 144 Hu r M EM ORY M I X k o p p l a s u r; Для отмены установки MEMORY MIX; OFF для возврата к странице; Если Вы выберете режим M. OVERLAP; Вы не сможете изменить режим.; MEM
 - 145 Angående st illbilders bildst orlek; Размер неподвижных изображений
 - 146 Hu r i n t e r v a l l f o t o g r a f e r i n g k o p p l a s u r; Для отмены фотосъемки с интервалами; I n t e r v a l l f o t o g r a f e r i n g; Фотосъемка с записью в память
 - 147 Hu r i n sp e l n i n g a v b r y t s; Доступная длительность записи на “Memory Stick”
 - 149 I n sp e l n i n g a v e n st i l l b i l d
 - 150 Для отмены таймера самозапуска
 - 151 Для остановки записи
 - 152 • Звук, записанный с частотой оцифровки 48; AUDIO ERROR”
 - 153 I följande fall kan det hända att en pågående; участок
 - 154 Sk a p a n d e a v p r o g r a m; Создание программы; • Вы не можете перезаписывать титры,; На незаписанном участке ленты
 - 155 Under pågående skapande av et t program; Во время создания программы; Для остановки перезаписи; END для окончания
 - 157 Sk a p a n d e a v e n n y m a p p; Создание новой папки; Выберите опцию NEW FOLDER в; Замена папки записи
 - 158 V a l a v e n i n sp e l n i n g sm a p p; Выбор папки для записи; Ha n t e r i n g a v i n sp e l n i n g sm a p p a r
 - 159 Hu r m i n n e sb i l d v i sn i n g k o p p l a s u r; När en mapp är t om
 - 160 Данные записи
 - 163 Up p sp e l n i n g a v ö n sk a t a v sn i t t; N X; Om inspelningst iden är f ör kort; Если продолжительность записи невелика
 - 164 Angående inspelningsdat um/ t id; Номер папки
 - 165 Нажмите кнопку PB FOLDR.
 - 166 Hu r m i n n e s-PB ZOOM k o p p l a s u r; M otorzoomomkopplare/
 - 167 Vid uppspelning med minnes-PB ZOOM; Функция PB ZOOM памяти не работает.
 - 169 исчезнет с изображения.; INDEX; MARK
 - 170 Ra d e r i n g a v u t v a l d a b i l d e r; • Для удаления защищенного изображения; DEL
 - 171 Ra d e r i n g a v b i l d e r – D ELETE
 - 172 Ra d e r i n g a v sa m t l i g a b i l d e r; M edan indikeringen DELETING visas; Выберите опцию DELETE ALL в; Удаление всех изображений; Вы не сможете удалить папки.
 - 173 Hu r e n a n n a n st i l l b i l d v ä l j s
 - 174 Angående rörliga bilder; Движущиеся изображения
 - 175 — Bi l d v i sn i n g p å e n d a t o r —
 - 177 Порт USB
 - 178 • Надлежащее функционирование “Memory; Программное обеспечение; • В зависимости от Вашего программного; Связь с персональным компьютером
 - 179 inst alleras i; на
 - 180 DirectX 8.0a или более поздняя версия; Акустическая система:; 4 Мб или более
 - 182 Выберите на экране опцию “Handycam”.
 - 183 • Драйвер USB будет зарегистрирован
 - 184 I n st a l l a t i o n a v I m a g e Tr a n sf e r; Выберите язык для установки.
 - 185 I n st a l l a t i o n a v I m a g e M i x e r
 - 187 Выберите опцию USB STREAM в
 - 190 Välj och radera de understrukna enheterna
 - 191 Annat operat ivsyst em:
 - 192 Visning av bilder inspelade på et t band
 - 193 Klicka på
 - 194 I n f å n g n i n g a v st i l l b i l d e r; Ввод неподвижных изображений
 - 195 I n f å n g n i n g a v r ö r l i g a b i l d e r
 - 198 • Требуется персональный компьютер,
 - 199 Up p sp e l n i n g a v v i d e o -CD -sk i v o r; Воспроизведение видео КД; sss; Созданные видео КД
 - 200 Hur den direkt anslut na hjälpen st ängs; Vid f rågor angående ImageM ixer
 - 201 Кнопка импорта
 - 202 • Для просмотра изображений “Memory Stick”
 - 204 ssss
 - 207 I n st a l l a t i o n a v USB-d r i v r u t i n e n; Щелкните
 - 209 V i sn i n g a v b i l d e r; Просмотр изображений
 - 211 VIDEO
 - 212 После ввода изображений и звука; • Вам необходимо программное обеспечение; Если компьютер оснащен разъемом USB
 - 213 — Eg e n a n p a ssn i n g a v v i d e o k a m e r a n —; Изменение установок меню
 - 225 регулировки скорости срабатывания затвора.; Примечания по опциям FLASH MODE и FLASH LVL; которую Вы используете.; Выбор установок режима по каждой опции; является установкой по умолчанию.
 - 226 Примечания по функции устойчивой съемки; функцию устойчивой съемки.; В случае отмены функции устойчивой съемки; Появится индикатор
 - 227 Примечание по NTSC PB; приблизительно на 10 процентов в течение записи.
 - 228 Если Вы выберете режим качества изображения
 - 229 * Имя папки отображается как; Примечания о форматировании; Stick” установлен в положение LOCK.
 - 231 Примечания о режиме LP; баланс в установке AUDIO MIX.
 - 232 Только европейские модели; Примечания о режиме DEMO MODE
 - 234 При съемке близко расположенного объекта; OTHERS
 - 245 В режиме записи; Возможная неисправность; Разновидности неисправностей и методы их устранения
 - 252 Вероятная причина и/или метод устранения
 - 253 Предупреждающие индикаторы; может
 - 254 Предупреждающие сообщения
 - 255 — Öv r i g i n f o r m a t i o n —; A n v ä n d b a r a k a sse t t e r; V a l a v k o r r e k t k a sse t t y p; Дополнительная информация; Выбор типов кассет
 - 256 A n g å e n d e u p p sp e l n i n g; Метка; Это метка миниатюрных кассет; Во время воспроизведения; При воспроизведении; Используемые кассеты
 - 257 A n g å e n d e l j u d l ä g e n
 - 258 Hu r e t i k e t t e r k l i st r a s p å e n k a sse t t; При прикреплении метки на кассету
 - 259 • Перед началом использования Вашей
 - 260 Hu r b a t t e r i e t a n v ä n d s e f f e k t i v t; О батарейном блоке “InfoLITHIUM”
 - 261 Hu r b a t t e r i e r b ö r f ö r v a r a s; Как хранить батарейный блок; • Если батарейный блок не используется; Срок службы батарейного блока; • Срок службы батарейного блока ограничен.
 - 262 A n g å e n d e i .LI N K
 - 263 Öv e r f ö r i n g sh a st i g h e t m e d i .LI N K
 - 264 Бразилия; Система NTSC
 - 265 Конденсация влаги; Примечание по конденсации влаги
 - 266 A n g å e n d e u n d e r h å l l; Re n g ö r i n g a v v i d e o h u v u d e t; Как предотвратить конденсацию влаги; Очистка видеоголовки
 - 267 Anmärkning gällande videohuvudet; A n g å e n d e r e n g ö r i n g a v LCD -sk ä r m e n; omkring t re; Очистка экрана ЖКД; примерно через три; , если Вы вообще не будете
 - 268 • Если Вы не нажмете нужное место, начните
 - 269 Fö r si k t i g h e t så t g ä r d e r; A n g å e n d e d r i f t a v v i d e o k a m e r a n; Меры предосторожности; Эксплуатация видеокамеры
 - 271 Перезаряжаемый батарейный блок
 - 272 A n m ä r k n i n g g ä l l a n d e t o r r b a t t e r i e r; Om bat t eriläckage uppst år; Примечание о сухих батарейках; – Не используйте батарейки, в которых
 - 275 Технические характеристики; Видеокамера
 - 277 — Sn a b b r e f e r e n s —; På v i d e o k a m e r a n; Högt alare; Observera att samtliga inställningar inklusive; Spak f ör inst ällning av sökarlinsen
 - 278 I d e n t i f i e r i n g a v d e l a r o ch r e g l a g e; Kontrollera att stativets skruv är kortare än
 - 279 * MTF – аббревиатура функции передачи
 - 280 M ot orzoomspak; Кнопка PHOTO; • Держатель для установки вспомогательных
 - 281 eg; Ingången är även kompatibel med ”plug-in-
 - 282 Snabbspolningsknappar (
 - 283 Hu r f j ä r r k o n t r o l l e n f ö r b e r e d s; Anmärkningar gällande f järrkont rollen; • Направляйте датчик дистанционного
 - 284 Рабочие индикаторы; I t e ck e n f ö n st r e t; Окошко дисплея; På LCD -sk ä r m e n o ch i sö k a r e n; Экран ЖКД и видоискатель
 - 285 Denna indikering visas endast när blixten
 - 287 Алфавитный указатель; У – Я
 
 
 
 
 
 
 
 
 
 
 
 
 
 
 
 
 
 
 
 
 
 
 
 
 
 
 
 
 
 
 
 
 
 
 
 
 
 
 
 
 
 
 
 
 
 
 
 
 
 
 
 
 
 
 
 
 
 
 
 
 
 
 
 
 
 
 
 
 
 
 
 
 
 
 
 
 
 
 
 
 
 
 
 
 
 
 
 
 
 
 
 
 
 
 
 
 
 
 
 
 
 
 
 
 
 
 
 
 
 
 
 
 
 
 
 
 
 
 
 
 
 
 
 
 
 
 
 
 
 
 
 
 
 
 
 
 
 
 
 
 
 
 
 
 
 
 
 
 
 
 
 
 
 
 
 
 
 
 
 
 
 
 
 
 
 
 
 
 
 
 
 
 
 
 
 
 
 
 
 
 
 
 
 
 
 
 
 
 
 
 
 
 
 
 
 
 
 
 
 
 
 
 
 
 
 
 
 
 
 
 
 
 
 
 
 
 
 
 
 
 
 
 
 
 
 
 
 
 
 
 
 
 
 
 
 
 
 
 
 
 
 
 
 
 
 
 
 
 
 
 
 
 
 
 
 
 
 
 
 
 
 
 
 
 
 
 
 
 
 
 
 
 
 
 
 
 
 
 
 
 
 
 
 
 
 
 
 
 











