Видеокамеры Sony DCR-PC1000E - инструкция пользователя по применению, эксплуатации и установке на русском языке. Мы надеемся, она поможет вам решить возникшие у вас вопросы при эксплуатации техники.
Если остались вопросы, задайте их в комментариях после инструкции.
"Загружаем инструкцию", означает, что нужно подождать пока файл загрузится и можно будет его читать онлайн. Некоторые инструкции очень большие и время их появления зависит от вашей скорости интернета.

DCR-PC1000E2-591-679-61(1)
Inspelning/uppspelning
23
SE
Uppspelning
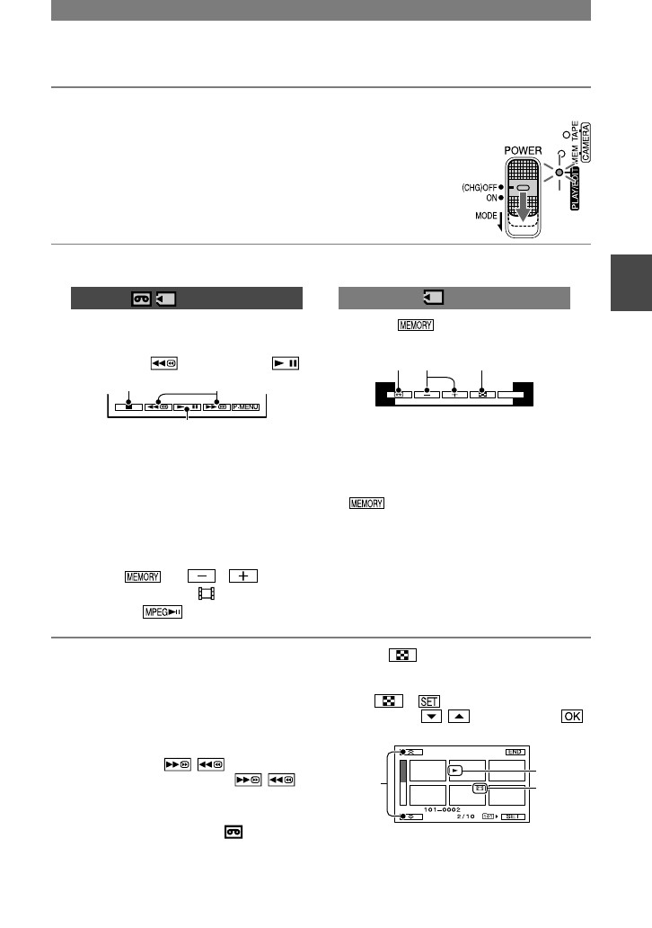
1
 TändPLAY/EDIT-lampangenomattskjutaPOWER-omkopplarenflera
gångeripilensriktning.
2
 Startauppspelningen.
Filmer 
Påettband:
Närduvillpåbörjauppspelningen
pekardupå
ochsedanpå
.
A
B
C
Stopp
FörvarjegångdupekarpåSpelaupp/
Pausväxlardumellanfunktionerna
SpelauppochPaus
Snabbspolningbakåt/framåt
• Uppspelningenavbrytsautomatisktom
pauslägetvararlängreän3minuter.
Påett”MemoryStickDuo”:
Pekapå
/
för
attväljaenbildmed ochpeka
därefterpå
.
Stillbilder
Pekapå
.
Denbildduspeladeinsenastvisas.
P-MENU
A
B
C
Banduppspelning
Föregående/nästa
Knappförindexskärm
• Dukantabortdebilderduintelängre
behöverfrån”MemoryStickDuo”(sid.69).
•
visasintenärett”MemoryStick
Duo”inteärisattelleromdetintefinns
någrabildfiler på det.
Ställainvolymen
Ställinvolymengenomattvridapå
CAMCTRL-ratten.Dukanävenställain
volymenpåmenyn(sid.54).
Sökaefterettavsnittunder
uppspelning
Fortsättattpekapå
/
under
uppspelning(bildsökning)eller
/
undersnabbspolningavbandetframåteller
bakåt(snabbsökning).
• Dukanspela
uppiolikalägen([
VAR.SPD
PB],sid.53).
Visabilderfrånett”MemoryStick
Duo”påindexskärmen
Pekapå
.Pekapådenbildduvillvisa
ilägetförenbildsvisning.
Omduvillvisabilderiandramapparpekar
dupå
[PBFOLDER],väljer
enmappmed
/
ochtryckerpå
(sid.48).
A
B
C
 Föregående/nästa6bilder
Bildensomvisadesinnanduväxladeöver
tillindexskärmen.
Filmikon
Содержание
- 124 Прочтитепередначаломработы; ПРЕДУПРЕЖДЕНИЕ; Воизбежаниепожараили; ДЛЯПОКУПАТЕЛЕЙВЕВРОПЕ
 - 125 видоискательиобъектив
 - 126 Содержание; Подготовкакэксплуатации; Запись
 - 127 Использованиеменю
 - 128 сопределеннойинформацией(Защитаизображения/Знак; Использованиекомпьютера; Передтем,какпользоваться“Руководствомпоначалуработы”; Устранениенеполадок
 - 130 Шаг1:Проверкаприлагаемыхдеталей; Убедитесь,чтовкомплектпоставки
 - 131 Шаг2:Зарядкабатарейногоблока; Батарейныйблок“InfoLITHIUM”;  Сдвиньтекрышкубатареи; Закройтекрышкуполностью.
 - 132  Надежновставьте
 - 134 Времявоспроизведения; Приблизительноевремяпри
 - 135 Шаг3:Включениепитанияиудерживание; Выключениепитания
 - 136 Шаг4:РегулировкапанелиЖКД; ОтключениеподсветкипанелиЖКД; Видоискатель
 - 137 Шаг5:Использованиесенсорнойпанели; Чтобыскрытьэкранныеиндикаторы; Изменениенастройкиязыка
 - 138 Шаг6:Установкадатыивремени; УСТКАМЕРЫ; УСТАНЧАСОВ
 - 139 Шаг7:Установкакассетыили“MemoryStickDuo”; Кассета;  Сдвиньтерычажок OPEN/;  Вставьтекассетутак,чтобы; Извлечениекассеты
 - 140 “MemoryStickDuo”; Можноиспользоватьтолько; Извлечение“MemoryStickDuo”; Слегканажмитеодинразна“Memory; Шаг7:Установкакассетыили“MemoryStickDuo”(продолжение)
 - 141 Шаг8:Выборформатногосоотношения; Выборформатного; Записьна“MemoryStickDuo”
 - 142 Простаязаписьивоспроизведение; Простаязапись
 - 143 Запись/воспроизведение; Простоевоспроизведение;  ПеремещайтепереключательPOWER;  Начнитевоспроизведение.; Фильмы; ОтменарежимаEasyHandycam
 - 144 Фильмы ; Неподвижныеизображения; Остановказаписифильма
 - 145 Воспроизведение; Регулировкагромкости
 - 146 Панорамные; Управлениенастройкамиспомощью
 - 148 Использованиемасштаба; Проверкаоставшегосявремени
 - 149 Отключениезвуковогосигнала
 - 150 Индикаторы,отображаемыевовремязаписи/; Записьфильмов; ЕслиустановленрежимCAMERA-TAPE; врежимеCAMERA-MEMORY
 - 151 Просмотрфильмов; Скассеты; С“MemoryStickDuo”
 - 152 Индикаторы,отображающиеся; Чтобывыяснить,какимфункциям; Влевомверхнемуглу
 - 153 Поискначальнойточки; Поискпоследнегоэпизода; Просмотрпоследних
 - 154 Пультдистанционногоуправления;  Вовремявоспроизведения;  НажмитекнопкуSTOP
 - 155 Поискэпизодаподатезаписи; Отменаоперации
 - 156 Воспроизведениеизображениянаэкране;  СоединительныйкабельA/V; Еслителевизорподсоединен
 - 157 Использованиетелевизора
 - 158 Использованиеэлементовменю; перечисленныхдалееэлементовменю.;  ПереместитепереключательPOWERвниз,чтобызагорелся; настройкидля;  Чтобывыбратьэлементменю,нажмитенаэкранЖКД.; Недоступныеэлементыбудутвыделенысерымцветом.; Использованиеярлыковперсональногоменю; Использованиеэлементовменю
 - 159 Испо; ПриработеврежимеEasyHandycamнажатиенаэкранекнопки[МЕNU]
 - 160 Элементыменю; МенюУСТКАМЕРЫ
 - 161 МенюРЕДИВОСПР
 - 162 МенюУСТКАМЕРЫ; Подробнуюинформацию; точечныйфотоэкспонометр)
 - 163 АВТО
 - 164 РЕЗКОСТЬ; ЦВЕТКАМЕРЫ
 - 165 ФОКУСИРОВКА
 - 166 ВЫКЛ
 - 167 ГИСТОГРАММА; АВТОЗАПУСК
 - 168 Примечаниепорежимупрогрессивной
 - 169 МенюУСТПАМЯТИ; УСТФОТО;  ЗАПУСК;  РАЗМСНИМК
 - 170 Приформатномсоотношении4:3
 - 171 УСТАHФИЛЬМА;  РАЗМИЗОБР; ФОРМАТ; ПОПОРЯДКУ
 - 172 НОВАЯПАПКА; Подробнуюинформациюовыборе; ФЕЙДЕР; БЕЛЫЙФЕЙДЕР
 - 173 МОНОХРОМ
 - 174 ЭФФЕКТКИНО(кинематографический
 - 176 накассетусинтервалами)
 - 177 РЕЖИМДЕМО
 - 178 МенюРЕДИВОСПР; сразличнойскоростью);   ОТМЕНА
 - 179 МенюСТАНДНАБОР
 - 181 ЯРКОСТЬЖКД; ЦВЕТЖКД; НОРМАЛЬНЫЙ
 - 182 ВИДЕОВХОД; ВИДЕО; ТИПЭКРАНА
 - 183 ОСТАЛОСЬ; чтопозволяетиспользоватьпульт; МЕНЮНАЗАД
 - 184 КАЛИБРОВКА
 - 185 Настройка; Добавлениеэлементаменю; Удалениеэлементаменю
 - 186 Изменениепорядкаэлементов;  Нажмите; Возвратустановокперсонального; Настройкаперсональногоменю(продолжение)
 - 187 Использованиедискового; Настраиваемыепараметры; УстановкисдискомCAMCTRL;  Установитепереключатель; Изменениепараметра,присвоенного
 - 188  Выберитеэлементдля; Появитсясообщение,иможно; ИспользованиедисковогопереключателяCAMCTRL(продолжение)
 - 189 Подключениеквидеомагнитофонуили; одногоизследующихсоединений.; СоединительныйкабельA/V
 - 190 Перезаписьнадругое;  Подключитевидеомагнитофон
 - 191 Записьизображений;  Подключитетелевизор
 - 193 Перезаписьизображений
 - 194 Перезаписьзвуканазаписаннуюкассету; Подключение
 - 195 Записьзвука
 - 196 Удалениезаписанных;  Выберитеизображение,; Проверказаписанногозвука
 - 197 Добавление; Предотвращениеслучайного; Выборнеподвижных
 - 198 Печатьзаписанных; Подсоединитевидеокамеру; Печать
 - 199 Чтобыраспечататьизображение
 - 200 Разъемыдляподключениявнешнихустройств; Видеокамера
 - 201 ПереключательUSBON/OFF
 - 202 Передтем,какпользоваться“Руководствомпо
 - 203 Системныетребования;  ДляпользователейWindows
 - 204 Воспроизведениеизображений,;  ДляпользователейMacintosh; Толькокопированиенакомпьютер
 - 205 Установканакомпьютер
 - 206  Выберитеязыкдля
 - 207 Отображаетсятолько;  Еслиотобразитсяэкран
 - 209 Просмотр“Руководства; Выводнаэкран“Руководства; Запускнакомпьютерессистемой
 - 210 Просмотр“Руководствапоначалуработы”(продолжение)
 - 211 Первоеиспользованиефункции; СозданиедискаDVD
 - 214 Подключениеаналоговоговидеомагнитофона; можетзаписыватьвидеосигнал.
 - 216 Общиефункции/EasyHandycam; Видеокамеранефункционирует,дажеесливключенопитание.; ПрииспользованиифункцииEasyHandycamизменяютсянастройки.
 - 217 Батарейки/Источникипитания; ВнезапноотключаетсяPOWER.; ИндикаторCHG(зарядка)мигаетвовремязарядкибатарейногоблока.
 - 218 ЭкранЖКД/видоискатель
 - 219 Кассеты
 - 221 Мигаетимяфайладанных.; ПринажатиикнопкиRECSTART/STOPлентавкассетенедвигается.; Неслышензвукзатворапризаписинеподвижногоизображения.
 - 222 Неработаетвстроеннаявспышка.; Регулировкаизображениявовремязаписи
 - 223 Неработаетфункцияавтоматическойфокусировки.
 - 225 Начеткихизображенияхпоявляютсяблики,диагональныелинии; Появляютсяпомехи,анаэкранеотображаетсяиндикация; Неправильноработаетфункцияпоискадаты.; Пультдистанционногоуправления; Прилагаемыйпультдистанционногоуправлениянеработает.
 - 226 другойвидеомагнитофонработаетнеправильно.; Меню; Элементыменювыделенысерымцветом.
 - 228 Перезапись/монтаж/подключениекдругимустройствам; Изображения,выводимыесвидеокамерынепоявляютсянаэкране
 - 230 Подключениеккомпьютеру; Компьютернераспознаетвидеокамеру.; ПослеустановкиприлагаемогодискаCD-ROMвдисководкомпьютера; Нельзяпросматриватьвидеоизображение,захватываемое
 - 232 Handycamприиспольз.USB]или[НельзяотменитьEasyHandycamпри; ПриводCD-Rнераспознается,илиданныенемогутбытьзаписанына
 - 233 Предупреждающиеиндикаторыисообщения; Индикациясамодиагностики/; (предупреждениеобуровне
 - 234 Описаниепредупреждающих; Еслинаэкранепоявляются;  Батарея; Предупреждающиеиндикаторыисообщения(продолжение)
 - 235  Конденсациявлаги
 - 236  Принтер,совместимыйсPictBridge
 - 238 Использование; Подачапитания; Простаяустановкаразницыво
 - 239 Дополнительнаяинформация; Используемыекассеты; Предотвращениепоявленияналенте
 - 240 Окарте“MemoryStick”; Использование“MemoryStickDuo”
 - 241 Обращениес“MemoryStick”; Осовместимостиданных
 - 242 Обатарейномблоке; Чтопредставляетсобойбатарейный
 - 244 Чтопредставляетсобойстандарт
 - 245 Использованиефункцийi.LINKна; Уходимеры; Использованиевидеокамерыиуход
 - 246 Есливидеокамеранеиспользуется; Конденсациявлаги; Еслипроизошлаконденсациявлаги; Уходимерыпредосторожности(продолжение)
 - 247 Какпредотвратитьконденсациювлаги; Видеоголовка; ОчисткаэкранаЖКД
 - 248 Обращениескорпусом; 3месяца
 - 249 Заменабатарейкипульта
 - 250 Технические
 - 251 АдаптерпеременноготокаAC-L200
 - 252 Алфавитный
 - 258 Оторговыхмарках; являетсяторговой
 
 
 
 
 
 
 
 
 
 
 
 
 
 
 
 
 
 
 
 
 
 
 
 
 
 
 
 
 
 
 
 
 
 
 
 
 
 
 
 
 
 
 
 
 
 
 
 
 
 
 
 
 
 
 
 
 
 
 
 
 
 
 
 
 
 
 
 
 
 
 
 
 
 
 
 
 
 
 
 
 
 
 
 
 
 
 
 
 
 
 
 
 
 
 
 
 
 
 
 
 
 
 
 
 
 
 
 
 
 
 
 
 
 
 
 
 
 
 
 
 
 
 
 
 
 
 
 
 
 
 
 
 
 
 
 
 
 
 
 
 
 
 
 
 
 
 
 
 
 
 
 
 
 
 
 
 
 
 
 
 
 
 
 
 
 
 
 
 
 
 
 
 
 
 
 
 
 
 
 
 
 
 
 
 
 
 
 
 
 
 
 
 
 
 
 
 
 
 
 
 
 
 
 
 
 
 
 
 
 
 
 
 
 
 
 
 
 
 
 
 
 
 
 
 
 
 
 
 
 
 
 
 
 
 
 
 
 
 
 
 
 
 
 
 
 
 
 
 
 
 
 
 
 
 
 
 
 
 











