Весы Cas CBX-CBW - инструкция пользователя по применению, эксплуатации и установке на русском языке. Мы надеемся, она поможет вам решить возникшие у вас вопросы при эксплуатации техники.
Если остались вопросы, задайте их в комментариях после инструкции.
"Загружаем инструкцию", означает, что нужно подождать пока файл загрузится и можно будет его читать онлайн. Некоторые инструкции очень большие и время их появления зависит от вашей скорости интернета.

5.3.
Замена
частей
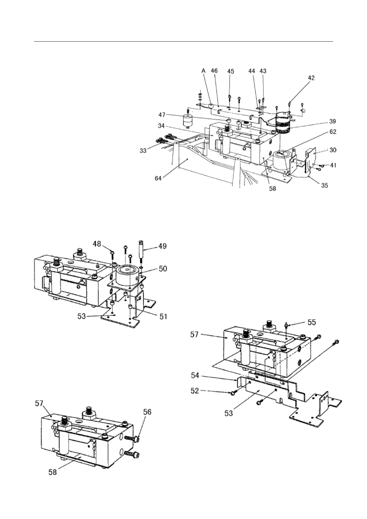
73
 
 
 
Снять
механическую
сборку
{34}
в
соответствии
с
п
. 5.3.4.
Отпаять
две
Pt-Ni
полоски
{32},
соединяющие
детектор
{30} c
нагрузочным
индуктором
.
Отпаять
2
проволочных
вывода
{35}
температурного
датчика
.
Выкрутить
2
винта
крепления
де
-
тектора
{41}
и
снять
детектор
{30}.
Выкрутить
2
винта
крепления
индукто
-
ра
{42}
и
снять
нагрузочный
индуктор
{39}.
Выкрутить
2
винта
{43}
ограничительной
пластины
{44}
и
снять
пластину
.
Выкрутить
2
винта
{45}
рычага
и
снять
рычаг
{46}.
Снимаются
также
2
вставки
{47}.
Выкрутить
3
винта
стопора
{48}
и
снять
стопор
{49},
чтобы
удалить
магнит
{50}.
При
этом
также
снимаются
4
прокладки
{51}.
Выкрутить
4
винта
кронштейна
{52}
и
снять
кронштейн
{53}
и
упор
кронштейна
{54}.
Убрать
контакт
стопора
{55}.
Выкрутить
2
винта
крепления
ячейки
{56}
и
снять
силовую
ячейку
{57}
с
упругим
шарниром
{58}.
Содержание
- 2 ii; ОПИСАНИЕ
- 3 iii; ИСПОЛЬЗОВАНИЕ
- 4 iv
- 5 AP; Меры; ВНИМАНИЕ
- 6 vi
- 7 vii
- 9 Назначение; Windows; Технические
- 10 CB; Комплектность
- 11 Общий
- 12 Составные; MENU
- 13 BY; Подготовка
- 14 Распаковка
- 15 CBW; Защитный; ПРИМЕЧАНИЕ
- 16 kg; Прогрев; отмена
- 17 выключено; Блокировка; Начальное
- 18 Контроль
- 19 Классификация; выкл
- 21 автоподстройка
- 22 дискрет
- 24 Плавающая
- 25 Примеры
- 26 Ошибки
- 27 Юстировка
- 30 Тестирование
- 32 юстировка; Поверка
- 33 полная
- 34 Полная; Переменная
- 35 Уставки
- 36 Стабилизация
- 37 Полоса
- 38 Обнуление; включено
- 40 Прикладные; Автоматическое
- 41 Печать
- 42 Нулевая
- 43 Периодичность; Накопление
- 44 Взвешивание; Единицы; процент
- 45 Время; Текущая
- 46 Текущее; Дежурный
- 47 Администратор; Отчет; весов; Пароль
- 48 Перезагрузка; Обмен
- 49 DTR
- 50 Формат; стандартный; Скорость; бод
- 52 бит; Разделитель; возврат
- 53 Выбор
- 54 Программирование; штуки
- 55 Загрубление
- 58 Погрешность; диапазоне
- 60 Ограничение
- 62 Измерение; Плотность
- 63 Распечатка
- 65 Соединительные
- 66 ПРИМЕЧАНИЯ; Коды
- 67 POWER –
- 70 SI –; Команды; Sartorius; Активный; Установка
- 71 Проверка; Microsoft Windows,
- 72 Работа
- 73 Клавиатура
- 75 UNIT WEIGHT; Статистическая; Microsoft Office Excel.
- 76 time; Техническое; Характерные
- 78 Разборка
- 79 Замена
- 83 Регулировки; Подгонка; Настройки
- 84 Абсолютная
- 85 Спецификация
 
  
  
  
  
  
  
  
  
  
  
  
  
  
  
  
  
  
  
  
  
  
  
  
  
  
  
  
  
  
  
  
  
  
  
  
  
  
  
  
  
  
  
  
  
  
  
  
  
  
  
  
  
  
  
  
  
  
  
  
  
  
  
  
  
  
  
  
  
  
  
  
  
  
  
  
  
  
  
  
  
  
  
  
  
  
  
  
  
  
  
  
  
  
  
 