Весы Cas CBX-CBW - инструкция пользователя по применению, эксплуатации и установке на русском языке. Мы надеемся, она поможет вам решить возникшие у вас вопросы при эксплуатации техники.
Если остались вопросы, задайте их в комментариях после инструкции.
"Загружаем инструкцию", означает, что нужно подождать пока файл загрузится и можно будет его читать онлайн. Некоторые инструкции очень большие и время их появления зависит от вашей скорости интернета.

5.
Техническое
обслуживание
72
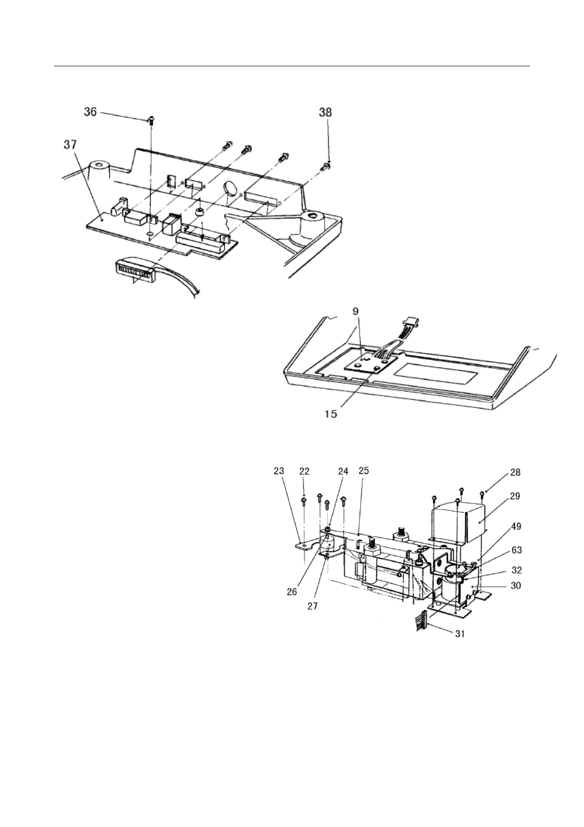
5.3.3.
Замена
клавиатуры
Разобрать
весы
в
соответствии
с
п
. 5.2.
Выкрутить
4
винта
{15}
крепления
клавиатуры
{9}.
Снять
старую
клавиатуру
и
установить
новую
в
обратном
порядке
.
5.3.4.
Замена
измерительного
блока
Разобрать
весы
в
соответствии
с
п
.
5.2.
Выкрутить
4
зажимных
винта
{22}
и
снять
2
контакта
{23}.
Выкрутить
гайку
М
4 {24},
фикси
-
рующую
регулировочный
столбик
{26},
надежно
удерживая
при
этом
рычаг
{25}
от
смещения
.
Снять
регулировочный
столбик
{26}
с
прикрепленным
цилиндром
{27}.
Выкрутить
4
винта
{28}
и
снять
магнитный
экран
{29}.
Не
касаясь
двух
тонких
Pt-Ni
полосок
{32},
отсоединить
вывод
Р
1 {31},
подключенный
к
детектору
{30}.
Выкрутить
4
винта
{33}
с
помощью
ключа
на
М
6
и
снять
механическую
сборку
{34}.
5.3.5.
Замена
силовой
ячейки
Содержание
- 2 ii; ОПИСАНИЕ
- 3 iii; ИСПОЛЬЗОВАНИЕ
- 4 iv
- 5 AP; Меры; ВНИМАНИЕ
- 6 vi
- 7 vii
- 9 Назначение; Windows; Технические
- 10 CB; Комплектность
- 11 Общий
- 12 Составные; MENU
- 13 BY; Подготовка
- 14 Распаковка
- 15 CBW; Защитный; ПРИМЕЧАНИЕ
- 16 kg; Прогрев; отмена
- 17 выключено; Блокировка; Начальное
- 18 Контроль
- 19 Классификация; выкл
- 21 автоподстройка
- 22 дискрет
- 24 Плавающая
- 25 Примеры
- 26 Ошибки
- 27 Юстировка
- 30 Тестирование
- 32 юстировка; Поверка
- 33 полная
- 34 Полная; Переменная
- 35 Уставки
- 36 Стабилизация
- 37 Полоса
- 38 Обнуление; включено
- 40 Прикладные; Автоматическое
- 41 Печать
- 42 Нулевая
- 43 Периодичность; Накопление
- 44 Взвешивание; Единицы; процент
- 45 Время; Текущая
- 46 Текущее; Дежурный
- 47 Администратор; Отчет; весов; Пароль
- 48 Перезагрузка; Обмен
- 49 DTR
- 50 Формат; стандартный; Скорость; бод
- 52 бит; Разделитель; возврат
- 53 Выбор
- 54 Программирование; штуки
- 55 Загрубление
- 58 Погрешность; диапазоне
- 60 Ограничение
- 62 Измерение; Плотность
- 63 Распечатка
- 65 Соединительные
- 66 ПРИМЕЧАНИЯ; Коды
- 67 POWER –
- 70 SI –; Команды; Sartorius; Активный; Установка
- 71 Проверка; Microsoft Windows,
- 72 Работа
- 73 Клавиатура
- 75 UNIT WEIGHT; Статистическая; Microsoft Office Excel.
- 76 time; Техническое; Характерные
- 78 Разборка
- 79 Замена
- 83 Регулировки; Подгонка; Настройки
- 84 Абсолютная
- 85 Спецификация
