Весы Cas CBX-CBW - инструкция пользователя по применению, эксплуатации и установке на русском языке. Мы надеемся, она поможет вам решить возникшие у вас вопросы при эксплуатации техники.
Если остались вопросы, задайте их в комментариях после инструкции.
"Загружаем инструкцию", означает, что нужно подождать пока файл загрузится и можно будет его читать онлайн. Некоторые инструкции очень большие и время их появления зависит от вашей скорости интернета.

5.3.
Замена
частей
71
 
 
 
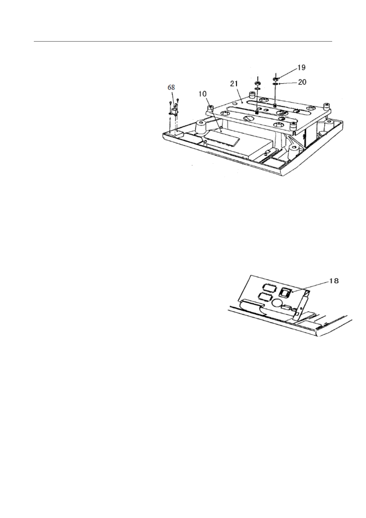
Открутить
2
гайки
{19}
с
шайбами
{20}
и
снять
плиту
{21}.
На
этом
открывается
до
-
ступ
к
осмотру
измерительного
блока
{25},
основной
платы
{10}
и
платы
питания
{37}.
 
 
 
 
 
 
Собрать
весы
в
обратном
порядке
.
Отрегулировать
уровень
весов
по
ампуле
,
подключить
сетевой
адаптер
и
проверить
работу
весов
.
5.3.
Замена
частей
5.3.1.
Замена
основной
платы
Разобрать
весы
в
соответствии
с
п
. 5.2.
Отсоединить
кабель
{12}.
Выкрутить
4
винта
{13}
крепления
платы
.
Надежно
удерживая
плату
левой
рукой
,
правой
отсоединить
разъем
кабеля
{14}.
При
этом
не
тянуть
за
кабель
,
держать
разъем
с
обеих
сторон
.
Снять
плату
и
положить
ее
на
свободное
чистое
место
,
не
подверженное
статическому
электричеству
.
Аккуратно
,
чтобы
не
повредить
контакты
,
отсоединить
плату
ПЗУ
{18},
расположенную
на
задней
стороне
основной
платы
{10},
от
гнездовой
части
разъема
.
Установить
снятую
плату
ПЗУ
на
новую
основную
плату
.
Собрать
основную
плату
в
обратном
порядке
.
5.3.2.
Замена
платы
питания
Разобрать
весы
в
соответствии
с
п
. 5.2.
Отсоединить
кабель
{14}.
При
отсоединении
не
тянуть
за
кабель
,
держать
разъем
с
обеих
сторон
.
Выкрутить
винт
{36}
крепления
платы
питания
,
а
также
винты
{38},
крепящие
15-
контактный
разъем
внешних
кнопок
и
интерфейсный
разъем
RS232C
типа
D-Sub25.
Снять
плату
питания
{37}.
Установить
новую
плату
питания
в
порядке
,
обратном
изложенному
.
Содержание
- 2 ii; ОПИСАНИЕ
- 3 iii; ИСПОЛЬЗОВАНИЕ
- 4 iv
- 5 AP; Меры; ВНИМАНИЕ
- 6 vi
- 7 vii
- 9 Назначение; Windows; Технические
- 10 CB; Комплектность
- 11 Общий
- 12 Составные; MENU
- 13 BY; Подготовка
- 14 Распаковка
- 15 CBW; Защитный; ПРИМЕЧАНИЕ
- 16 kg; Прогрев; отмена
- 17 выключено; Блокировка; Начальное
- 18 Контроль
- 19 Классификация; выкл
- 21 автоподстройка
- 22 дискрет
- 24 Плавающая
- 25 Примеры
- 26 Ошибки
- 27 Юстировка
- 30 Тестирование
- 32 юстировка; Поверка
- 33 полная
- 34 Полная; Переменная
- 35 Уставки
- 36 Стабилизация
- 37 Полоса
- 38 Обнуление; включено
- 40 Прикладные; Автоматическое
- 41 Печать
- 42 Нулевая
- 43 Периодичность; Накопление
- 44 Взвешивание; Единицы; процент
- 45 Время; Текущая
- 46 Текущее; Дежурный
- 47 Администратор; Отчет; весов; Пароль
- 48 Перезагрузка; Обмен
- 49 DTR
- 50 Формат; стандартный; Скорость; бод
- 52 бит; Разделитель; возврат
- 53 Выбор
- 54 Программирование; штуки
- 55 Загрубление
- 58 Погрешность; диапазоне
- 60 Ограничение
- 62 Измерение; Плотность
- 63 Распечатка
- 65 Соединительные
- 66 ПРИМЕЧАНИЯ; Коды
- 67 POWER –
- 70 SI –; Команды; Sartorius; Активный; Установка
- 71 Проверка; Microsoft Windows,
- 72 Работа
- 73 Клавиатура
- 75 UNIT WEIGHT; Статистическая; Microsoft Office Excel.
- 76 time; Техническое; Характерные
- 78 Разборка
- 79 Замена
- 83 Регулировки; Подгонка; Настройки
- 84 Абсолютная
- 85 Спецификация
 
  
  
  
  
  
  
  
  
  
  
  
  
  
  
  
  
  
  
  
  
  
  
  
  
  
  
  
  
  
  
  
  
  
  
  
  
  
  
  
  
  
  
  
  
  
  
  
  
  
  
  
  
  
  
  
  
  
  
  
  
  
  
  
  
  
  
  
  
  
  
  
  
  
  
  
  
  
  
  
  
  
  
  
  
  
  
  
  
  
  
  
  
  
  
 