Варочная панель Pando PI-3300 Airlink - инструкция пользователя по применению, эксплуатации и установке на русском языке. Мы надеемся, она поможет вам решить возникшие у вас вопросы при эксплуатации техники.
Если остались вопросы, задайте их в комментариях после инструкции.
"Загружаем инструкцию", означает, что нужно подождать пока файл загрузится и можно будет его читать онлайн. Некоторые инструкции очень большие и время их появления зависит от вашей скорости интернета.

Hood control panel
USE OF THE APPLIANCE
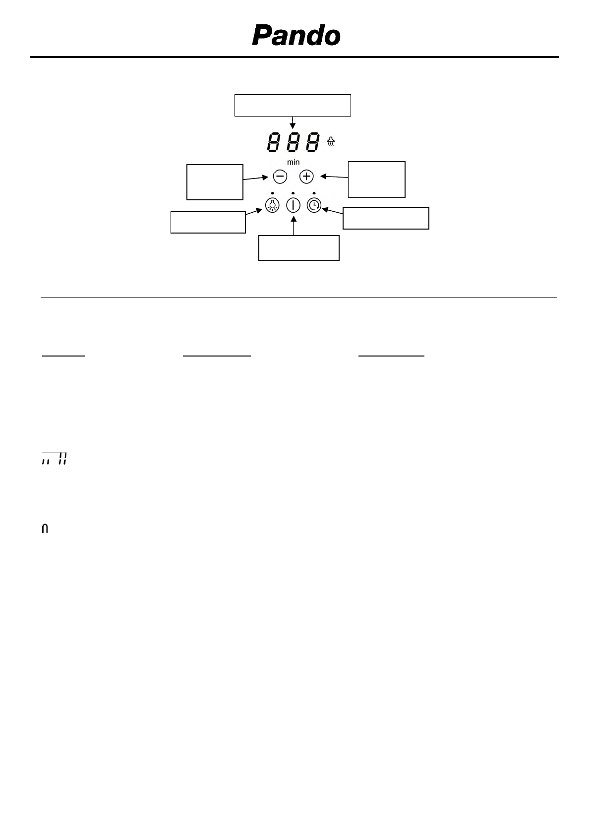
Display
Display
Designation
Description
0
Zero
The heating zone is activated.
1…9
Power level
Selection of the cooking level.
U
No pan detection
No pan or inadequate pan.
A
Heat accelerator
Automatic cooking.
E
Error message
Electronic failure.
H
Residual heat
The heating zone is hot.
P
1
st
Booster
The 1
st
Booster is activated.
2
nd
Booster
The 2
nd
Booster is activated.
L
Locking
Control panel locking.
U
Keep warm
Maintain automatically at
approximately 42. 70. 94°C.
II
Stop & Go
The hob is in pause.
Bridge
2 cooking zones are combined.
Ventilation
The cooling system is fully automatic. The cooling fan starts with a low speed when the heat
created by the electronic system reaches a certain level. The ventilation starts its high speed
when the hob is intensively used. The cooling fan reduces its speed and stops automatically
when the electronic circuit is cooled enough.
Power display
On/Off key
Timer key
[ - ]
Timer key
[ + ]
Auto key
Lighting key
INOXPAN S.L.
82
Характеристики
Остались вопросы?Не нашли свой ответ в руководстве или возникли другие проблемы? Задайте свой вопрос в форме ниже с подробным описанием вашей ситуации, чтобы другие люди и специалисты смогли дать на него ответ. Если вы знаете как решить проблему другого человека, пожалуйста, подскажите ему :)