Варочная панель Faber GALILEO SMART BK A600 - инструкция пользователя по применению, эксплуатации и установке на русском языке. Мы надеемся, она поможет вам решить возникшие у вас вопросы при эксплуатации техники.
Если остались вопросы, задайте их в комментариях после инструкции.
"Загружаем инструкцию", означает, что нужно подождать пока файл загрузится и можно будет его читать онлайн. Некоторые инструкции очень большие и время их появления зависит от вашей скорости интернета.

Verpackungsmaterial mit dem Symbol
ist wieder verwendbar. Das Verpa-
ckungsmaterial in den dafür vorgesehe-
nen Containern für Recyclingmaterial
entsorgen.
Energieeinsparung
Die nachstehenden Empfehlungen tra-
gen dazu bei, beim täglichen Kochen
Energie einzusparen.
• Nur die erforderliche Menge an Was-
ser erwärmen.
• Wenn möglich, die Töpfe immer mit
dem Deckel abdecken.
• Den Topf auf die Kochzone stellen,
bevor diese aktiviert wird.
• Die kleineren Töpfe auf die kleineren
Kochzonen stellen.
• Die Töpfe direkt in der Mitte der
Kochzone platzieren.
• Die Restwärme nutzen, um Lebens-
mittel warm zu halten oder zu
schmelzen.
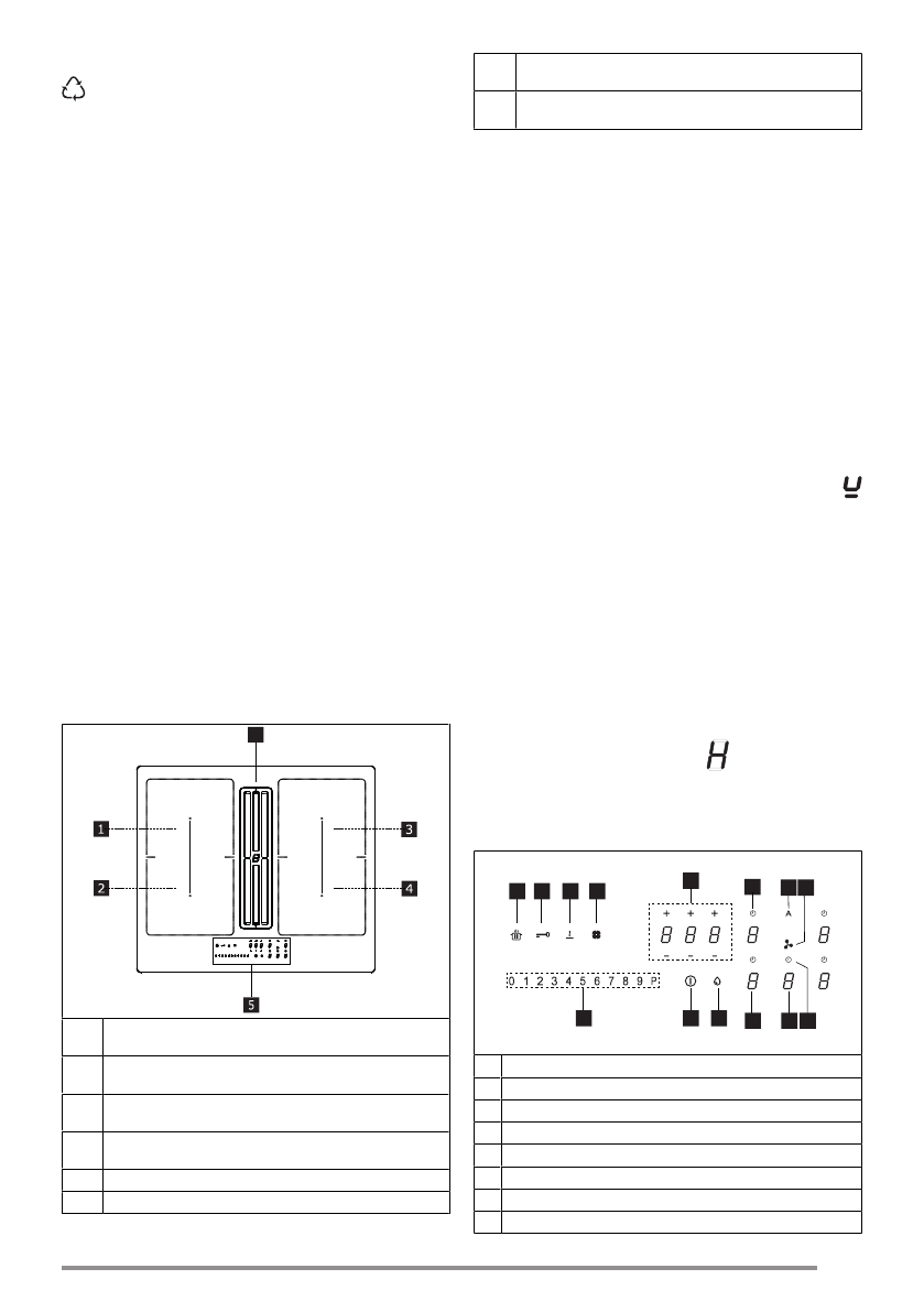
7. PRODUKTBESCHREIB
UNG
6
1
Einzelkochzone (220x197 mm) 2100 W, mit Booster-
Funktion 3000 W
2
Einzelkochzone (220x197 mm) 2100 W, mit Booster-
Funktion 3000 W
3
Einzelkochzone (220x197 mm) 2100 W, mit Booster-
Funktion 3000 W
4
Einzelkochzone (220x197 mm) 2100 W, mit Booster-
Funktion 3000 W
5
Bedienfeld
6
Ansauggitter
1 + 2
Kombinierbare Kochzone (220 x 395 mm) 3000 W,
mit Booster-Funktion 3700 W.
3 + 4
Kombinierbare Kochzone (220 x 395 mm) 3000 W,
mit Booster-Funktion 3700 W.
ANZEIGEN
Erfassung des Vorhandenseins eines
Topfes
Jede Kochzone ist mit einem System
ausgestattet, welches das Vorhanden-
sein eines Topfes auf dem Kochfeld er-
kennt.
Das Topf-Erkennungssystem erkennt
Töpfe mit einem magnetisierbaren Bo-
den, der für Induktionskochfelder geeig-
net ist.
Wenn der Topf während des Betriebs
entfernt oder ein ungeeigneter Topf ver-
wendet wird, erscheint das Symbol
auf dem Display.
Restwärmeanzeige
Die Restwärmeanzeige ist eine Sicher-
heitsfunktion und signalisiert, dass die
Oberfläche der Kochzone noch eine
Temperatur von 50 °C oder mehr hat
und daher bei Berührung mit bloßen
Händen Verbrennungen verursachen
könnte. Die Digit-Taste der entspre-
chenden Kochzone gibt
an.
8. BEDIENFELD
1
10
9
8
3
4
5
13
11
12
7
A
2
6
1
Ein/Aus
2
Sättigungsanzeige Fettfilter
3
Leistungsstufenanzeige Kochzonen
4
Leistungsanzeige des Abzugs
5
Timer-Steuerung des Abzugs
6
Symbol für den Steuerbereich des Abzugs
7
Timer-Steuerung des Kochbereichs
8
Steuerungsbereich des Timers
23
Характеристики
Остались вопросы?Не нашли свой ответ в руководстве или возникли другие проблемы? Задайте свой вопрос в форме ниже с подробным описанием вашей ситуации, чтобы другие люди и специалисты смогли дать на него ответ. Если вы знаете как решить проблему другого человека, пожалуйста, подскажите ему :)