Варочная панель Faber GALILEO SMART BK A600 - инструкция пользователя по применению, эксплуатации и установке на русском языке. Мы надеемся, она поможет вам решить возникшие у вас вопросы при эксплуатации техники.
Если остались вопросы, задайте их в комментариях после инструкции.
"Загружаем инструкцию", означает, что нужно подождать пока файл загрузится и можно будет его читать онлайн. Некоторые инструкции очень большие и время их появления зависит от вашей скорости интернета.

Simbolis
ant produkto arba ant jo pa-
kuotės nurodo, kad produktas neturi būti
šalinamas kartu su įprastomis buitinė-
mis atliekomis. Produktas turi būti šali-
namas specializuotame elektrinių ir
elektroninių komponentų perdirbimo
centre. Pasirūpinus, kad šis produktas
būtų šalinamas tinkamai, bus padeda-
ma išvengti neigiamų pasekmių aplinkai
ir sveikatai, kurios kitu atveju, gali atsi-
rasti šalinant netinkamai. Dėl išsames-
nės informacijos apie tai, kaip perdirbti
šį produktą, kreipkitės į savivaldybės
institucijas, į vietinę atliekų šalinimo tar-
nybą arba į parduotuvę, kurioje produk-
tas buvo įsigytas.
Įrenginys atitinka direktyvą 2012/19/ES
dėl elektros ir elektroninėje įrangoje
naudojamų pavojingų medžiagų mažini-
mo ir atliekų šalinimo.
Pakavimo medžiagų šalinimas
Simboliu
pažymėtos medžiagos yra
perdirbamos. Šalinkite pakavimo me-
džiagas specialiose perdirbimui skirtose
surinkimo talpyklose.
Energijos taupymas
Vadovaujantis toliau pateiktais pasiūly-
mais, galima kasdien sutaupyti energi-
jos kepant.
• Kai šildote vandenį, naudokite tik rei-
kiamą jo kiekį.
• Jei įmanoma, puodus visada užden-
kite dangčiu.
• Prieš suaktyvindami kaitinimo zoną,
uždėkite puodą.
• Mažesnius puodus dėkite ant mažes-
nių kepimo zonų.
• Uždėkite puodus tiesiai kaitinimo zo-
nos viduryje.
• Naudokite liekamąjį karštį, kad išlai-
kytumėte maisto produktus karštus
arba juos ištirpintumėte.
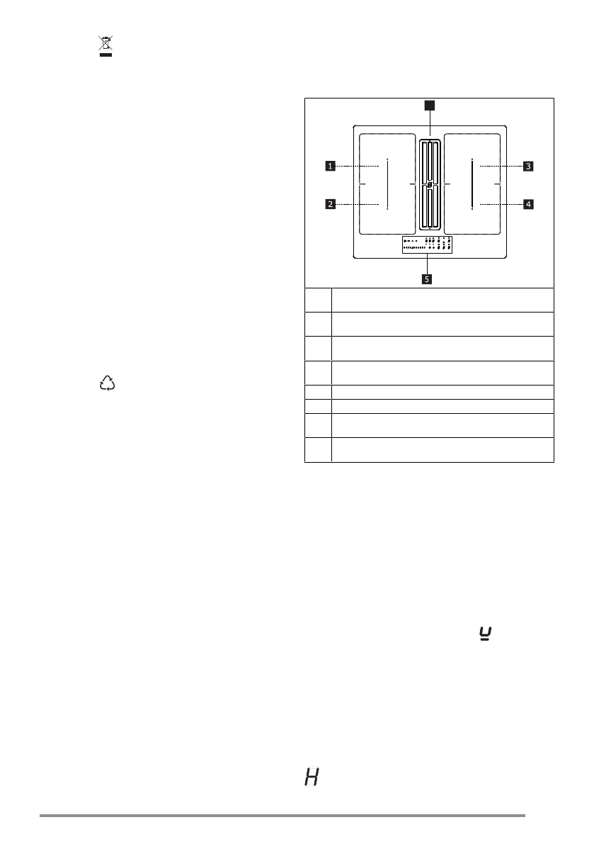
7. PRODUKTO
APRAŠYMAS
6
1
Viena kaitinimo zona (220 x 197 mm) 2100 W, su
funkcija „Booster“ nuo 3000 W
2
Viena kaitinimo zona (220 x 197 mm) 2100 W, su
funkcija „Booster“ nuo 3000 W
3
Viena kaitinimo zona (220 x 197 mm) 2100 W, su
funkcija „Booster“ nuo 3000 W
4
Viena kaitinimo zona (220 x 197 mm) 2100 W, su
funkcija „Booster“ nuo 3000 W
5
Valdymo skydelis
6
Oro ištraukimo grotelės
1 + 2
Kombinuojama kaitinimo zona (220 x 395 mm) 3000
W, su funkcija „Booster“ 3700 W.
3 + 4
Kombinuojama kaitinimo zona (220 x 395 mm) 3000
W, su funkcija „Booster“ 3700 W.
RODIKLIAI
Keptuvės aptikimas
Kiekviena kaitinimo zona turi sistemą,
aptinkančią puodą ant kaitlentės.
Aptikimo sistema sugeba atpažinti puo-
dus magnetiniu dugnu, tinkamus naudo-
ti ant indukcinių kaitlenčių.
Jei puodas nuimamas veikimo metu ar-
ba naudojamas netinkamas puodas,
ekrane parodomas simbolis .
Liekamojo karščio indikatorius
Liekamojo karščio indikatorius yra ap-
sauginė funkcija, skirta pranešti, kad
kaitinimo zonos paviršius vis dar yra ly-
gus 50 °C arba karštesnis ir prisilietus
plikomis rankomis, gali nudeginti. Atitin-
kamos kaitinimo zonos skaičius nurodo
.
187
Характеристики
Остались вопросы?Не нашли свой ответ в руководстве или возникли другие проблемы? Задайте свой вопрос в форме ниже с подробным описанием вашей ситуации, чтобы другие люди и специалисты смогли дать на него ответ. Если вы знаете как решить проблему другого человека, пожалуйста, подскажите ему :)