Варочная панель Faber GALILEO SMART BK A600 - инструкция пользователя по применению, эксплуатации и установке на русском языке. Мы надеемся, она поможет вам решить возникшие у вас вопросы при эксплуатации техники.
Если остались вопросы, задайте их в комментариях после инструкции.
"Загружаем инструкцию", означает, что нужно подождать пока файл загрузится и можно будет его читать онлайн. Некоторые инструкции очень большие и время их появления зависит от вашей скорости интернета.

Laite vastaa direktiiviä 2012/19/EU, joka
koskee sähkö- ja elektroniikkalaitteissa
käytettyjen vaarallisten aineiden vähen-
tämistä ja hävittämistä.
Pakkausmateriaalien hävittäminen
Symbolilla
varustetut materiaalit voi-
daan kierrättää. Hävitä pakkausmateri-
aalit viemällä ne asianmukaisiin kierrä-
tysastioihin.
Energiansäästö
Energiaa on mahdollista säästää päivit-
täin kypsennyksen aikana noudattamal-
la seuraavassa annettuja vinkkejä.
• Kun vesi lämmitetään, käytä vain tar-
vittavaa määrää vettä.
• Jos mahdollista, peitä kattilat aina
kannella.
• Ennen keittotason aktivoimista aseta
kattila paikoilleen.
• Laita pienet kattilat pienille keitto-
alueille.
• Aseta kattilat suoraan keittoalueen
keskelle.
• Käytä jälkilämpöä pitääksesi elintar-
vikkeet lämpiminä tai sulattaaksesi
ne.
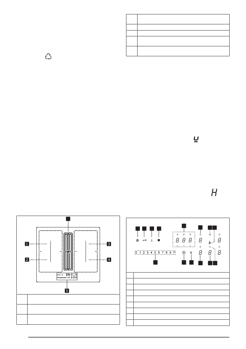
7. TUOTTEEN KUVAUS
6
1
Yksi keittoalue (220x197 mm) 2100 W, jossa 3000
W:n Booster-tehotoiminto
2
Yksi keittoalue (220x197 mm) 2100 W, jossa 3000
W:n Booster-tehotoiminto
3
Yksi keittoalue (220x197 mm) 2100 W, jossa 3000
W:n Booster-tehotoiminto
4
Yksi keittoalue (220x197 mm) 2100 W, jossa 3000
W:n Booster-tehotoiminto
5
Ohjauspaneeli
6
Imuritilä
1 + 2
Yhdistettävissä oleva keittoalue (220 x 395 mm)
3000 W, jossa 3700 W:n Booster-tehotoiminto.
3 + 4
Yhdistettävissä oleva keittoalue (220 x 395 mm)
3000 W, jossa 3700 W:n Booster-tehotoiminto.
MERKKIVALOT
Kattilan tunnistaminen
Jokainen keittoalue on varustettu järjes-
telmällä, joka tunnistaa kattilan läsnä-
olon keittotasolla.
Tunnistusjärjestelmä kykenee tunnista-
maan kattilat, joiden pohja on magneti-
soiva ja soveltuu induktiokeittotasoilla
käytettäväksi.
Jos kattila otetaan pois käytön aikana
tai käytetään soveltumatonta kattilaa,
näyttöön ilmestyy symboli .
Jälkilämmön osoitin
Jälkilämmön osoitin on turvallisuustoi-
minto, joka ilmoittaa, että keittoalueen
pinnan lämpö on yhä vähintään 50 °C,
joten se voi johtaa palovammoihin pal-
jain käsin koskettaessa. Vastaavan keit-
toalueen numeronäytössä näkyy
.
8. OHJAUSPANEELI
1
10
9
8
3
4
5
13
11
12
7
A
2
6
1
Päällä/pois päältä
2
Rasvasuodattimen kyllästymisen osoitin
3
Keittoalueen tehotason osoitin
4
Imulaitteen tehotason osoitin
5
Imulaitteen ajastimen hallinta
6
Imulaitteen ohjainten alueen symboli
7
Keittoalueen ajastimen hallinta
8
Ajastimen hallinnan alue
9
Aktiivihiilisuodattimen kyllästymisen osoitin
114
Характеристики
Остались вопросы?Не нашли свой ответ в руководстве или возникли другие проблемы? Задайте свой вопрос в форме ниже с подробным описанием вашей ситуации, чтобы другие люди и специалисты смогли дать на него ответ. Если вы знаете как решить проблему другого человека, пожалуйста, подскажите ему :)