Варочная панель Teka IZ 6420 - инструкция пользователя по применению, эксплуатации и установке на русском языке. Мы надеемся, она поможет вам решить возникшие у вас вопросы при эксплуатации техники.
Если остались вопросы, задайте их в комментариях после инструкции.
"Загружаем инструкцию", означает, что нужно подождать пока файл загрузится и можно будет его читать онлайн. Некоторые инструкции очень большие и время их появления зависит от вашей скорости интернета.

ES
7
cados por el fabri-
cante en las instruc-
ciones para el uso
como adecuado o
protectores de enci-
mera incorporados
en el aparato. El uso
d e p r o t e c t o r e s
inadecuados puede
causar accidentes.
E s n e c e s a r i o
permitir la descone-
x i ó n d e l a p a r a t o
d e s p u é s d e l a
instalación. Deben
ser i n c o r p o r a -
d o s m e d i o s d e
d e s c o n e x i ó n a l a
instalación fija de
a c u e r d o c o n l a s
reglamentaciones
de instalación.
Instalación
Emplazamiento con cajón cubertero
Si desea disponer de un mueble o
cajón cubertero bajo la encimera de
cocción, se deberá colocar una tabla
de separación entre ambos. De esta
forma se previenen los contactos acci-
dentales con la superficie caliente de
la carcasa del aparato.
La tabla deberá estar situada a una
distancia de 20 mm. por debajo de la
parte inferior de la encimera.
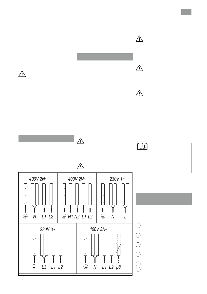
Conexión eléctrica
Antes de conectar la encimera de coc-
ción a la red eléctrica, compruebe que
la tensión (voltaje) y la frecuencia de
aquella corresponden con las indica-
das en la placa de características de la
encimera, situada en su parte inferior,
y en la Hoja de Garantía o, en su caso,
la hoja de datos técnicos que debe
conservar junto a este manual durante
la vida útil del aparato.
Evite que el cable de entrada quede
en contacto, tanto con la carcasa de
encimera como con la del horno, si
éste va instalado en el mismo mueble.
¡Atención!
La conexión eléctrica debe
realizarse con una correcta toma de
tierra, siguiendo la normativa vigen-
te, de no ser así, la encimera puede
tener fallos de funcionamiento.
Sobretensiones anormalmen-
te altas pueden provocar la avería
del sistema de control (como ocurre
con cualquier tipo de aparato eléc-
trico).
Se aconseja no utilizar la
cocina de inducción durante la fun-
ción de limpieza pirolítica, en el
caso de hornos pirolíticos instala-
dos bajo ella, debido a la alta tempe-
ratura que alcanza este aparato.
Cualquier manipulación o
reparación del aparato, incluida la
sustitución del cable flexible de ali-
mentación, deberá ser realizada por
el servicio técnico oficial de TEKA.
Antes de desconectar el apa-
rato de la red recomendamos apa-
gar el sistema de desconexión de la
instalación fija y esperar aproxima-
damente
25
segundos antes de
desconectar el aparato de la red
eléctrica. Este tiempo es necesario
para la completa descarga del
circuito electrónico y así excluir la
posibilidad de descarga eléctrica en
los terminales del cable de red.
Conserve el Certificado de
Garantía o, en su caso, la hoja de
datos técnicos junto al Manual
de instrucciones durante la vida
útil del aparato. Contiene datos
técnicos importantes del mismo.
Uso y
Mantenimiento
Instrucciones de Uso del
Control Táctil
E L E M E N T O S D E L PA N E L D E
CONTROL
(ver fig. 2)
1 Sensor de encendido / apagado
general.
2
Cursor “slider” para selección de
potencia.
3 Indicadores de potencia, y/ó calor
residual*.
4 Punto decimal del indicador de
potencia, y/o calor residual.
5 Acceso a la función “Power”.
6 Sensor de activación de la función
verde-amarillo
azul
marrón
gris
negro
verde-amarillo
azul
marrón
gris
negro
verde-amarillo
azul
marrón
gris
negro
verde-amarillo
azul
marrón
gris
negro
verde-amarillo
azul
marrón
gris
negro
NO
USAR
L3
Fig. 1
Характеристики
Остались вопросы?Не нашли свой ответ в руководстве или возникли другие проблемы? Задайте свой вопрос в форме ниже с подробным описанием вашей ситуации, чтобы другие люди и специалисты смогли дать на него ответ. Если вы знаете как решить проблему другого человека, пожалуйста, подскажите ему :)













